вконтакте

Контактный телефон: +7 (981) 121-46-93, +7 (800) 200-90-76 , Email: parts-katalog@yandex.ru, где купить

 
 

  Логин:

Пароль:

Регистрация

www.partskatalog.ru Все каталоги Запчасти Mercury Запчасти Suzuki Запчасти Tohatsu Запчасти Honda Контакты



УВАЖАЕМЫЕ КЛИЕНТЫ!
C 19 ДЕКАБРЯ 2025 ПО 02 МАРТА 2026 ГОДА ОТДЕЛ ЗАПЧАСТЕЙ И СЕРВИС РАБОТАТЬ НЕ БУДУТ
ПРОДАЖА ЛОДОЧНЫХ МОТОРОВ В ШТАТНОМ РЕЖИМЕ
ОБ ИЗМЕНЕНИЯХ В ГРАФИКЕ РАБОТЫ ЧИТАЙТЕ НА САЙТА




Выбрать другую модель

назад Раздел:   вперёд

вернуться к списку узлов и деталей

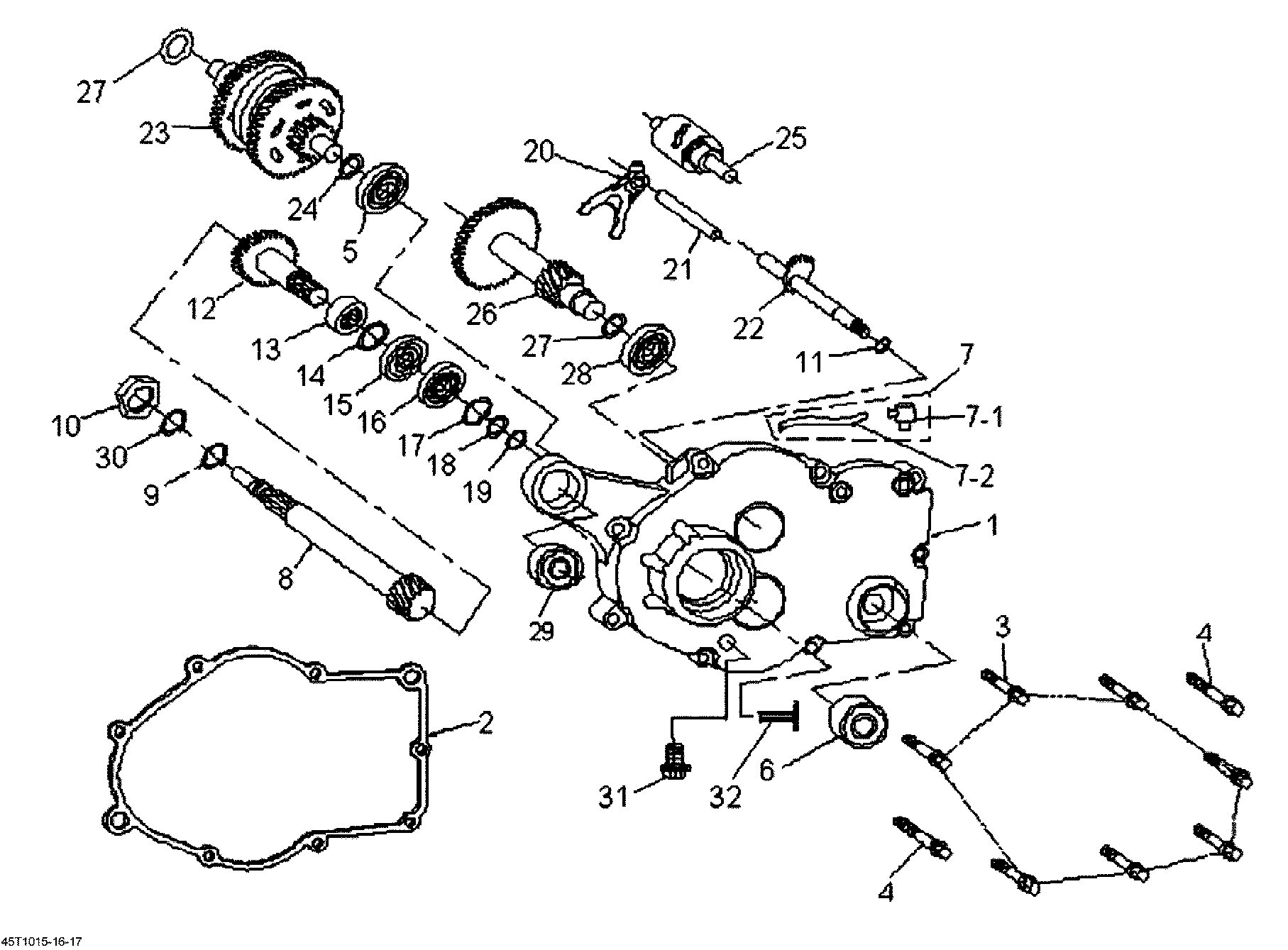
ДЕТАЛИРОВКА ДЛЯ МОДЕЛИ: BRP ATV DS 70, 2010

Раздел: Шестерня Box | Gear Box


Квадроцикл  DS 70, 2010 раздел - Gear Box

Номер на
рисунке
АртикулНаименованиеКол-во
на складе
Цена
1 V21300CJE000

Крышка (Cover)

под заказпо запросу
2 V213954DMR010

Крышка Прокладка (Cover Gasket)

под заказ980 руб.
3 207663544

Hex. Фланецd Винт M6 X 35 (Hex. Flanged Screw M6 X 35)

под заказ290 руб.
4 207664044

Hex. Фланецd Винт M6 X 40 (Hex. Flanged Screw M6 X 40)

под заказ290 руб.
5 V961006202310

Шариковый подшипник (Ball Bearing)

под заказ1210 руб.
6 V92104MAA000

Сальник (Oil Seal)

под заказ760 руб.
7 V11220CJF000

Сапун (Breather)

под заказпо запросу
7-1 NASP/NDPR

Не доступно As Spare Parts (Not Available As Spare Parts)

под заказпо запросу
7-2 NASP/NDPR

Не доступно As Spare Parts (Not Available As Spare Parts)

под заказпо запросу
8 V234114DMR00

Primary Шестерня привода (Primary Drive Gear)

под заказ7070 руб.
9 V9451017000

Стопорное кольцо (Circlip)

под заказ1210 руб.
10 V9400310000B

Гайка (Nut)

под заказпо запросу
11 V9451013000

Стопорное кольцо (Circlip)

под заказ1060 руб.
12 V234303XGR01

Main Вал (Main Shaft)

под заказ9970 руб.
13 V91130253315

Игольчатый подшипник (Needle Bearing)

под заказ2420 руб.
14 V9453032000

Стопорное кольцо (Circlip)

под заказ1210 руб.
15 V912044DM000

Сальник (Oil Seal)

под заказ760 руб.
16 V961506004010

Подшипник (Bearing)

под заказ2570 руб.
17 V9453042000

Стопорное кольцо (Circlip)

под заказ1210 руб.
18 V941012028010

Шайба плоский (Washer Flat)

под заказ450 руб.
19 V9451019000

Стопорное кольцо (Circlip)

под заказ1210 руб.
20 V242114DMR000

Переключательing дляk (Shifting Fork)

под заказ5530 руб.
21 V242414DMR01

Штифт (Pin)

под заказ2880 руб.
22 V246104DMR000

Переключающий вал (Shift Shaft)

под заказ4300 руб.
23 V234504DMR00

Reverse Axle (Reverse Axle)

под заказ11960 руб.
24 V941011522010

Шайба плоский (Washer Flat)

под заказ610 руб.
25 V243014DMR000

Переключатель Drum (Shift Drum)

под заказ15020 руб.
26 V234204DMR00

Reverse Axle (Reverse Axle)

под заказ13290 руб.
27 V941011218010

Шайба плоский (Washer Flat)

под заказ610 руб.
28 V961006201310

Шариковый подшипник (Ball Bearing)

под заказ1210 руб.
29 V112034DM000

Rubber Втулка (Rubber Bushing)

под заказ770 руб.
30 V91304DGF000

Уплотнительное кольцо (O-Ring)

под заказ300 руб.
31 207681244

Hex. Фланецd Винт (Hex. Flanged Screw)

под заказ290 руб.
32 V64313DGF000

Заглушка (Plug)

под заказпо запросу
brp atv

Время выполнения запроса 2.0424380302429 сек.


 
 

данный сайт носит информационный характер и не является публичной офертой

склад запчастей для водомоторной техники