вконтакте

Контактный телефон: +7 (981) 121-46-93, +7 (800) 200-90-76 , Email: parts-katalog@yandex.ru, где купить

 
 

  Логин:

Пароль:

Регистрация

www.partskatalog.ru Все каталоги Запчасти Mercury Запчасти Suzuki Запчасти Tohatsu Запчасти Honda Контакты



УВАЖАЕМЫЕ КЛИЕНТЫ!
C 19 ДЕКАБРЯ 2025 ПО 02 МАРТА 2026 ГОДА ОТДЕЛ ЗАПЧАСТЕЙ И СЕРВИС РАБОТАТЬ НЕ БУДУТ
ПРОДАЖА ЛОДОЧНЫХ МОТОРОВ В ШТАТНОМ РЕЖИМЕ
ОБ ИЗМЕНЕНИЯХ В ГРАФИКЕ РАБОТЫ ЧИТАЙТЕ НА САЙТА




Выбрать другую модель

назад Раздел:   вперёд

вернуться к списку узлов и деталей

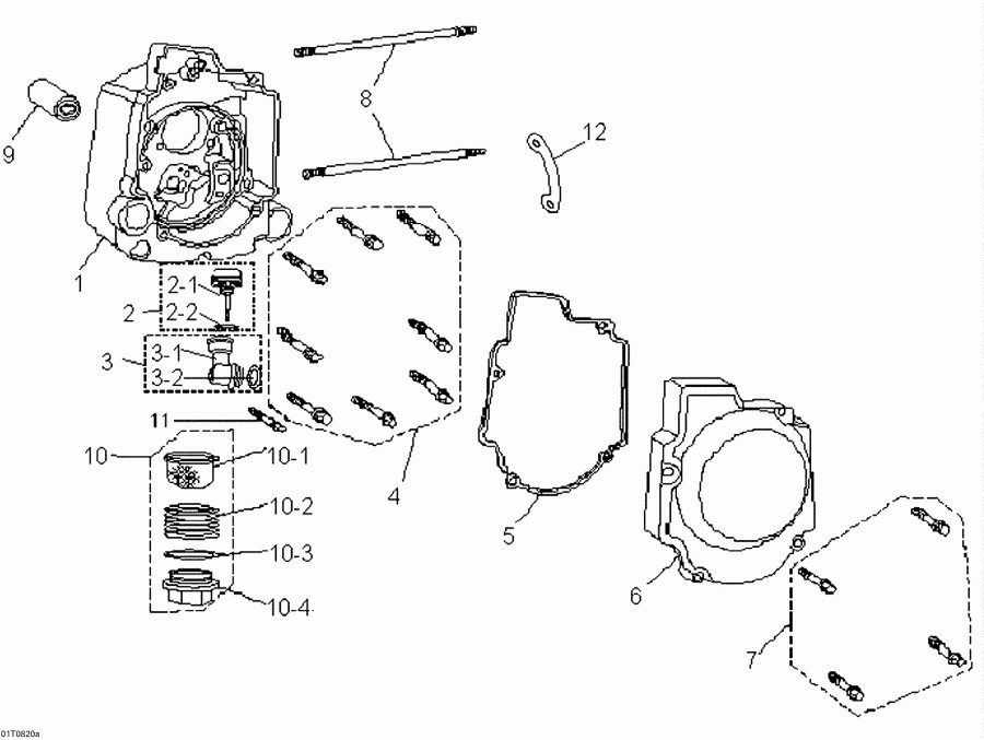
ДЕТАЛИРОВКА ДЛЯ МОДЕЛИ: BRP ATV Mini DS X 90cc 4T Black, 2008

Раздел: Картер двигателя, правый | Crankcase, Right


Мотовездеход BRP Mini DS X 90cc 4T Black, 2008 - Crankcase, Right

Номер на
рисунке
АртикулНаименованиеКол-во
на складе
Цена
1 V11100CJF010

RH Картер двигателя (RH Crankcase)

под заказ17860 руб.
2 V1565ACJF000

Измеритель уровня масла (Oil Level Gauge)

под заказпо запросу
2-1 NASP/NDPR

Не доступно As Spare Parts (Not Available As Spare Parts)

под заказпо запросу
2-2 NASP/NDPR

Не доступно As Spare Parts (Not Available As Spare Parts)

под заказпо запросу
3 V11165CJF000

Gauge Conduit (Gauge Conduit)

под заказпо запросу
3-1 NASP/NDPR

Не доступно As Spare Parts (Not Available As Spare Parts)

под заказпо запросу
3-2 NASP/NDPR

Не доступно As Spare Parts (Not Available As Spare Parts)

под заказпо запросу
4 207667044

Шестигранный флавцевый винт M6 X 70 (Hex. Flange Screw M6 X 70)

под заказ290 руб.
5 V11393CJF000

Прокладка (Gasket)

под заказ980 руб.
6 V11330CJF000

Крышка (Cover)

под заказпо запросу
7 207663544

Hex. Фланецd Винт M6 X 35 (Hex. Flanged Screw M6 X 35)

под заказ290 руб.
8 V9100106198

Стержневой болт M6 X 198 (Stud Bolt M6 X 198)

под заказпо запросу
9 V11103CJF010

Rubber Втулка (Rubber Bushing)

под заказ1210 руб.
10 V12361GYK000

Колпачок Толкатель клапана Adjusting (Cap Tappet Adjusting)

под заказ2380 руб.
10-1 V15421GYK000

Масляный фильтр Screen (Oil Filter Screen)

под заказ1230 руб.
10-2 NASP/NDPR

Не доступно As Spare Parts (Not Available As Spare Parts)

под заказпо запросу
10-3 NASP/NDPR

Не доступно As Spare Parts (Not Available As Spare Parts)

под заказпо запросу
10-4 NASP/NDPR

Не доступно As Spare Parts (Not Available As Spare Parts)

под заказпо запросу
11 207665044

Hex. Фланецd Винт M6 X 50 (Hex. Flanged Screw M6 X 50)

под заказ290 руб.
12 V11392CJF000

Sвышеport (Support)

под заказпо запросу
brp atv

Время выполнения запроса 0.9927339553833 сек.


 
 

данный сайт носит информационный характер и не является публичной офертой

склад запчастей для водомоторной техники