вконтакте

Контактный телефон: +7 (981) 121-46-93, +7 (800) 200-90-76 , Email: parts-katalog@yandex.ru, где купить

 
 

  Логин:

Пароль:

Регистрация

www.partskatalog.ru Все каталоги Запчасти Mercury Запчасти Suzuki Запчасти Tohatsu Запчасти Honda Контакты



УВАЖАЕМЫЕ КЛИЕНТЫ!
C 19 ДЕКАБРЯ 2025 ПО 02 МАРТА 2026 ГОДА ОТДЕЛ ЗАПЧАСТЕЙ И СЕРВИС РАБОТАТЬ НЕ БУДУТ
ПРОДАЖА ЛОДОЧНЫХ МОТОРОВ В ШТАТНОМ РЕЖИМЕ
ОБ ИЗМЕНЕНИЯХ В ГРАФИКЕ РАБОТЫ ЧИТАЙТЕ НА САЙТА




Выбрать другую модель

назад Раздел:   вперёд

вернуться к списку узлов и деталей

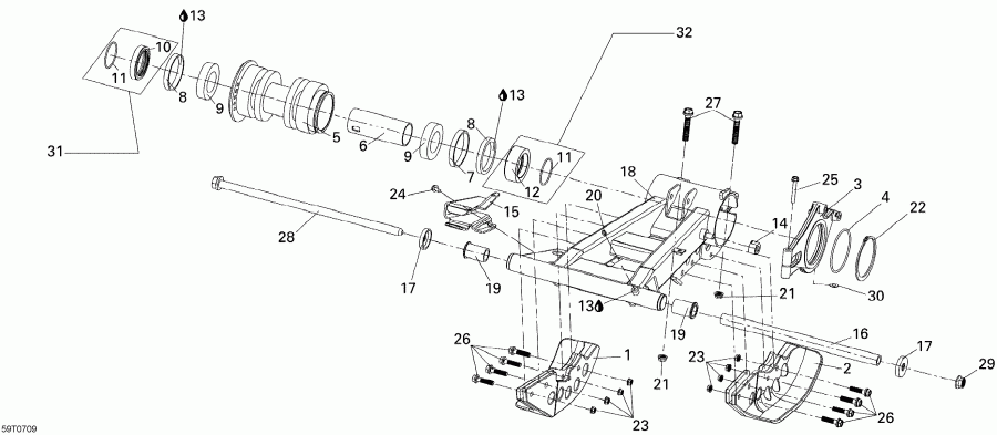
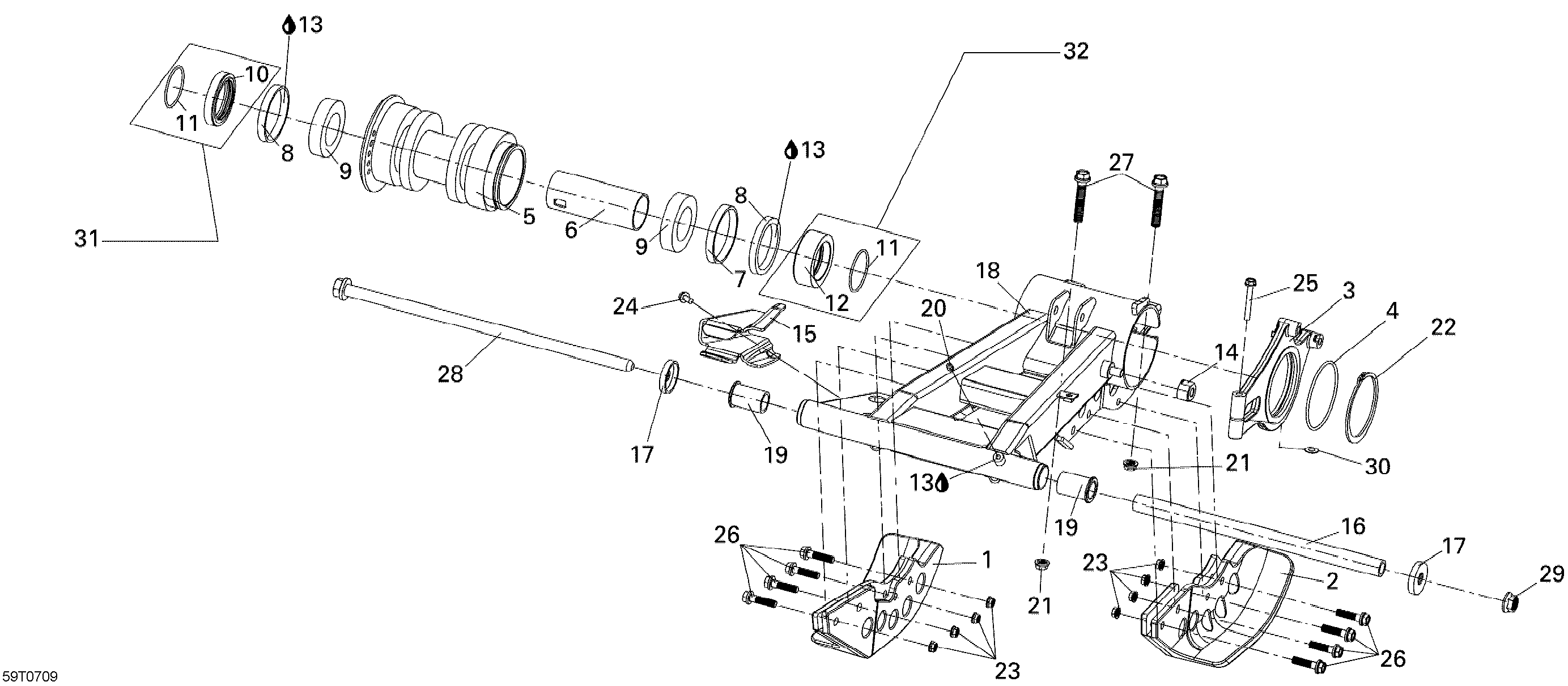
ДЕТАЛИРОВКА ДЛЯ МОДЕЛИ: BRP ATV DS 250, CE, 2007

Раздел: Rear Swing Рычаг | Rear Swing Arm


Квадроцикл  DS 250, CE, 2007 раздел - Rear Swing Arm

Номер на
рисунке
АртикулНаименованиеКол-во
на складе
Цена
1 S40150RCA000

RH Skid Пластина (RH Skid Plate)

под заказ2120 руб.
2 S40160RCA000

LH Skid Пластина (LH Skid Plate)

под заказ2120 руб.
3 S42318RCA000

Rear тормоз Caliper Кронштейн (Rear Brake Caliper Bracket)

под заказ3690 руб.
4 S42319RCA000

Уплотнительное кольцо (O Ring)

под заказ450 руб.
5 S42310RCA000

Rear Axle Корпус Корпус (Rear Axle Housing Body)

под заказпо запросу
6 S42311RCA000

Axle Корпус Проставка (Axle Housing Spacer)

под заказ1820 руб.
7 S42312RCA000

Steel Воротник (Steel Collar)

под заказ1360 руб.
8 S91206RCA000

Сальник (Oil Seal)

под заказ760 руб.
9 S961506008310

Шариковый подшипник (Ball Bearing)

под заказ8240 руб.
10 NASP/NDPR

Не доступно As Spare Parts (Not Available As Spare Parts)

под заказпо запросу
11 NASP/NDPR

Не доступно As Spare Parts (Not Available As Spare Parts)

под заказпо запросу
12 NASP/NDPR

Не доступно As Spare Parts (Not Available As Spare Parts)

под заказпо запросу
13 293550033

Suspension Смазка, 10 X 400 G (Suspension Grease, 10 X 400 G)

под заказ10050 руб.
13 498028100

(последний код) Suspension Смазка, 10 X 400 G (Suspension Grease, 10 X 400 G)

под заказпо запросу
14 S52201RCA000

Locking Воротник (Locking Collar)

под заказ460 руб.
15 S52205RCA000

Цепь Направляющая (Chain Guide)

под заказ920 руб.
16 S52208RCA000

Стержень Проставка (Pivot Spacer)

под заказ1530 руб.
17 S52209RCA000

Стержень Пыльник (Pivot Dust Seal)

под заказ460 руб.
18 S52200RCA000

Swing Рычаг (Swing Arm)

под заказ17940 руб.
19 S52210RCA000

Стержень (Pivot)

под заказ1380 руб.
20 408200700

Смазочный фиттинг (Grease Fitting)

под заказ320 руб.
21 S90304RCA000

Фланецd Нейлоновая гайка 10 mm (Flanged Nylon Nut 10 mm)

под заказ450 руб.
22 S91301RCA000

Стопорное кольцо (Circlip)

под заказ760 руб.
23 S9405008070

Фланецd Гайка 10 mm (Flanged Nut 10 mm)

под заказ300 руб.
24 S958010601207

Фланецd Болт M6 X 12 (Flanged Bolt M6 X 12)

под заказ300 руб.
25 207664544

Фланецd Hex Винт M6 X 45 (Flanged Hex Screw M6 X 45)

под заказ290 руб.
26 S958010803007

Фланецd Болт M8 X 30 (Flanged Bolt M8 X 30)

под заказ300 руб.
27 S964001006508

Фланецd Болт M10 X 65 (Flanged Bolt M10 X 65)

под заказ610 руб.
28 S90103RCA000

Стержень Болт (Pivot Bolt)

под заказ2420 руб.
29 S90305GW090A

Self Стопорная гайка (Self Lock Nut)

под заказпо запросу
30 S9410206000

Шайба (Washer)

под заказпо запросу
31 S4011ARCA000

RH Axle Воротник в сборе (RH Axle Collar Assy)

под заказ1380 руб.
32 S4011BRCA000

LH Axle Воротник в сборе (LH Axle Collar Assy)

под заказ1380 руб.
brp atv

Время выполнения запроса 1.7564890384674 сек.


 
 

данный сайт носит информационный характер и не является публичной офертой

склад запчастей для водомоторной техники