вконтакте

Контактный телефон: +7 (981) 121-46-93, +7 (800) 200-90-76 , Email: parts-katalog@yandex.ru, где купить

 
 

  Логин:

Пароль:

Регистрация

www.partskatalog.ru Все каталоги Запчасти Mercury Запчасти Suzuki Запчасти Tohatsu Запчасти Honda Контакты



УВАЖАЕМЫЕ КЛИЕНТЫ!
C 19 ДЕКАБРЯ 2025 ПО 02 МАРТА 2026 ГОДА ОТДЕЛ ЗАПЧАСТЕЙ И СЕРВИС РАБОТАТЬ НЕ БУДУТ
ПРОДАЖА ЛОДОЧНЫХ МОТОРОВ В ШТАТНОМ РЕЖИМЕ
ОБ ИЗМЕНЕНИЯХ В ГРАФИКЕ РАБОТЫ ЧИТАЙТЕ НА САЙТА




Выбрать другую модель

назад Раздел:   вперёд

вернуться к списку узлов и деталей

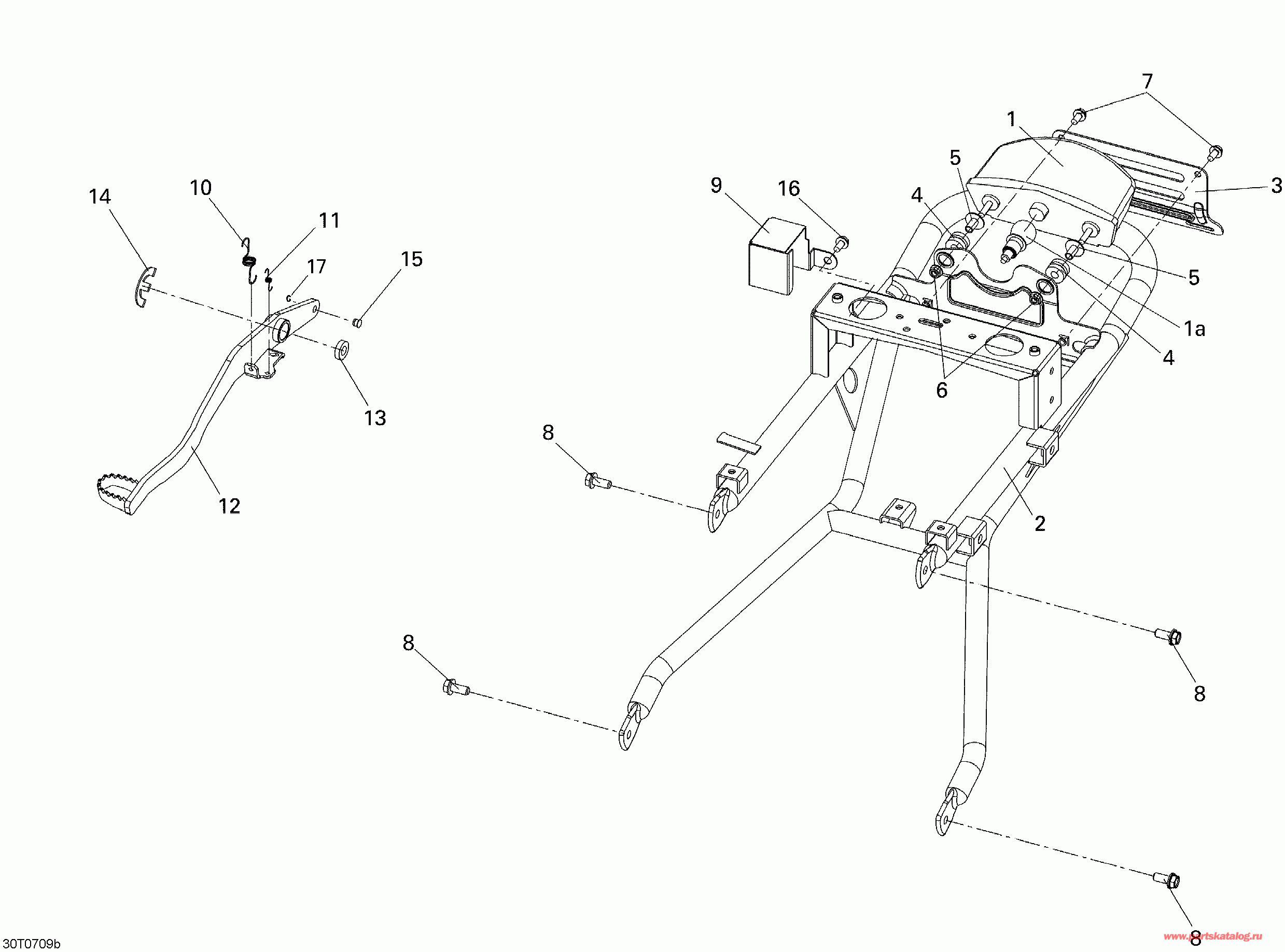
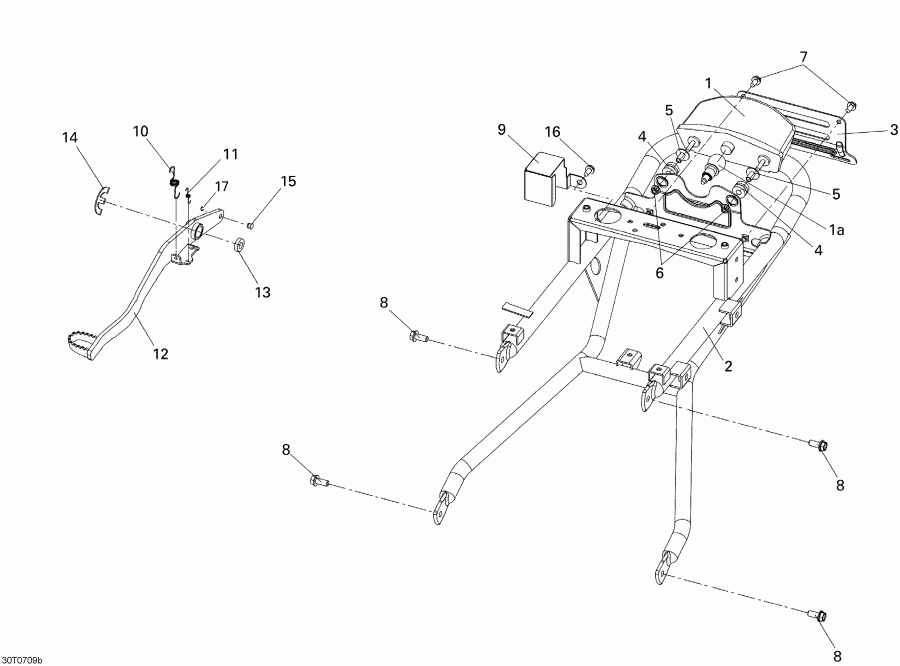
ДЕТАЛИРОВКА ДЛЯ МОДЕЛИ: BRP ATV DS 250, CE, 2007

Раздел: Rear Рама | Rear Frame


ATV  модель DS 250, CE, 2007 - Rear Рама

Номер на
рисунке
АртикулНаименованиеКол-во
на складе
Цена
1 S33700RCA000

Tail Light в сборе (Tail Light Assy)

под заказ3070 руб.
1a S34906RCA000

Tail Light Лампочка (Tail Light Bulb)

под заказ920 руб.
2 S50180RCA000

Rear Рама (Rear Frame)

под заказ28300 руб.
3 S50185RCA000

License Кронштейн (License Bracket)

под заказ1380 руб.
4 S80103X01000

Rubber Шайба (Rubber Washer)

под заказ300 руб.
5 S80104X01000

Rear Fender Воротник (Rear Fender Collar)

под заказ310 руб.
6 S9405006070

Фланецd Гайка 6 mm (Flanged Nut 6 mm)

под заказ300 руб.
7 S958010601207

Фланецd Болт M6 X 12 (Flanged Bolt M6 X 12)

под заказ300 руб.
8 S958010801807

Фланецd Болт M8 X 18 (Flanged Bolt M8 X 18)

под заказ300 руб.
9 S50175RCA000

CVT Трубка Защита (CVT Tube Protector)

под заказ1210 руб.
10 S50706RCA000

тормоз Pedal Пружина (Brake Pedal Spring)

под заказ450 руб.
11 S50707RCA000

тормоз Переключатель Пружина (Brake Switch Spring)

под заказ450 руб.
12 S50708RCA000

тормоз Pedal в сборе (Brake Pedal Assy)

под заказ4150 руб.
13 S50709RCA000

тормоз Пластина Шайба (Brake Plate Washer)

под заказ300 руб.
14 S9454005017

Уплотнительное кольцо (E Ring)

под заказ300 руб.
15 S91510RCA000

Штифт (Pin)

под заказ300 руб.
16 S958010801207

Фланецd Болт M8 X 12 (Flanged Bolt M8 X 12)

под заказ300 руб.
17 293370002

C Кольцо (C Ring)

под заказ450 руб.
brp atv

Время выполнения запроса 1.3337688446045 сек.


 
 

данный сайт носит информационный характер и не является публичной офертой

склад запчастей для водомоторной техники