вконтакте

Контактный телефон: +7 (981) 121-46-93, +7 (800) 200-90-76 , Email: parts-katalog@yandex.ru, где купить

 
 

  Логин:

Пароль:

Регистрация

www.partskatalog.ru Все каталоги Запчасти Mercury Запчасти Suzuki Запчасти Tohatsu Запчасти Honda Контакты



УВАЖАЕМЫЕ КЛИЕНТЫ!
C 19 ДЕКАБРЯ 2025 ПО 02 МАРТА 2026 ГОДА ОТДЕЛ ЗАПЧАСТЕЙ И СЕРВИС РАБОТАТЬ НЕ БУДУТ
ПРОДАЖА ЛОДОЧНЫХ МОТОРОВ В ШТАТНОМ РЕЖИМЕ
ОБ ИЗМЕНЕНИЯХ В ГРАФИКЕ РАБОТЫ ЧИТАЙТЕ НА САЙТА




Выбрать другую модель

назад Раздел:   вперёд

вернуться к списку узлов и деталей

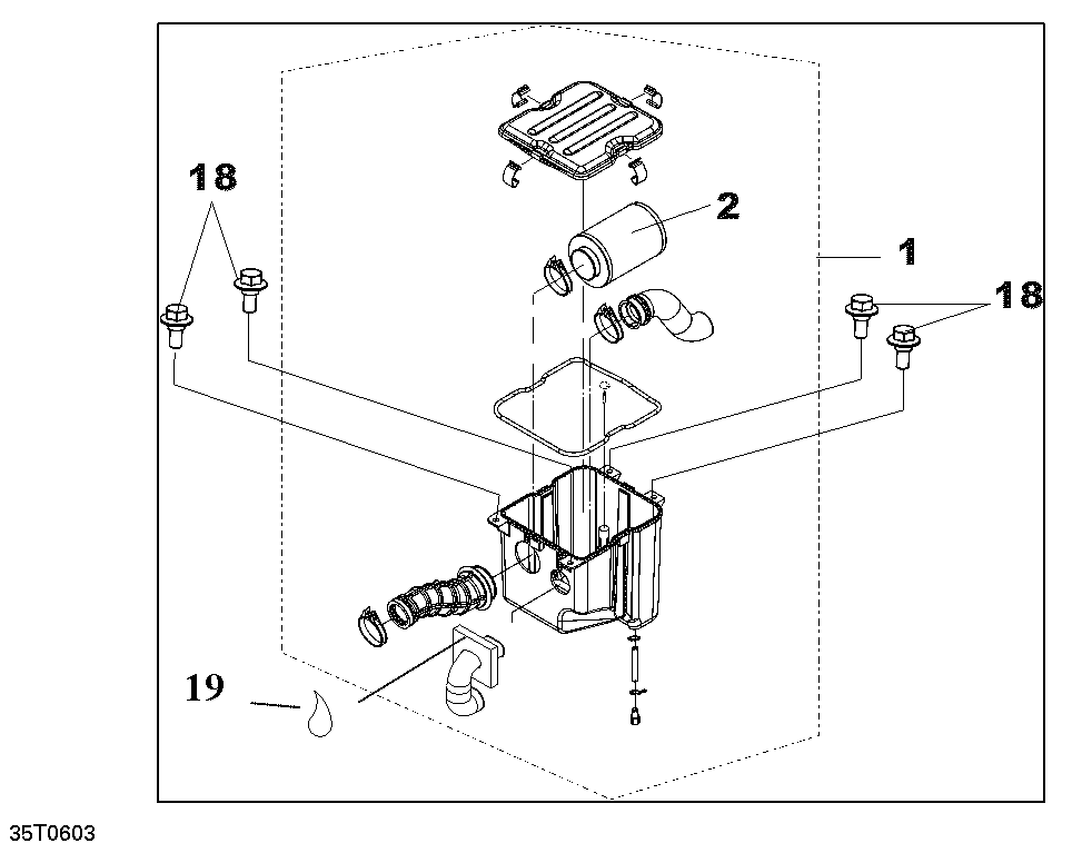
ДЕТАЛИРОВКА ДЛЯ МОДЕЛИ: BRP ATV DS 250, CE, 2006

Раздел: Air Впуск глушителя | Air Intake Silencer


Квадроцикл  DS 250, CE, 2006 - Air Впуск глушителя

Номер на
рисунке
АртикулНаименованиеКол-во
на складе
Цена
1 S17200RCA000

Air Box в сборе (Air Box Assy)

под заказ6520 руб.
2 S17202RB1000

Воздушный фильтр (Air Filter)

под заказ3300 руб.
18 S90111MPQ0000P

Фланецd Болт (Flanged Bolt)

под заказ310 руб.
19 XXX

Glue (Glue)

brp atv

Время выполнения запроса 0.38373303413391 сек.


 
 

данный сайт носит информационный характер и не является публичной офертой

склад запчастей для водомоторной техники