вконтакте

Контактный телефон: +7 (981) 121-46-93, +7 (800) 200-90-76 , Email: parts-katalog@yandex.ru, где купить

 
 

  Логин:

Пароль:

Регистрация

www.partskatalog.ru Все каталоги Запчасти Mercury Запчасти Suzuki Запчасти Tohatsu Запчасти Honda Контакты



УВАЖАЕМЫЕ КЛИЕНТЫ!
C 19 ДЕКАБРЯ 2025 ПО 02 МАРТА 2026 ГОДА ОТДЕЛ ЗАПЧАСТЕЙ И СЕРВИС РАБОТАТЬ НЕ БУДУТ
ПРОДАЖА ЛОДОЧНЫХ МОТОРОВ В ШТАТНОМ РЕЖИМЕ
ОБ ИЗМЕНЕНИЯХ В ГРАФИКЕ РАБОТЫ ЧИТАЙТЕ НА САЙТА




Выбрать другую модель

назад Раздел:   вперёд

вернуться к списку узлов и деталей

ДЕТАЛИРОВКА ДЛЯ МОДЕЛИ: BRP ATV DS 250 NA / Inter, 2006

Раздел: Cvt Крышка | Cvt Cover


BRP модель DS 250 NA / Inter, 2006 - Cvt Cover

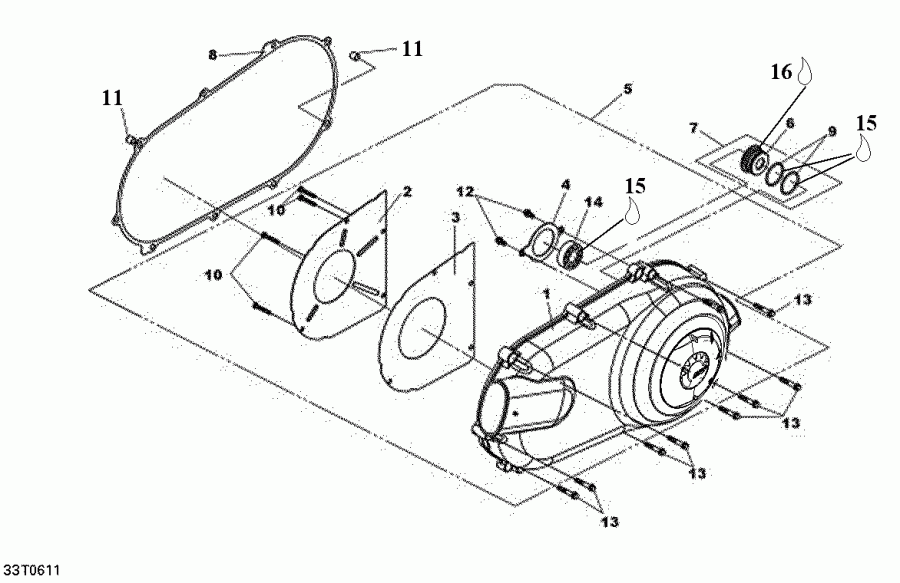
Номер на
рисунке
АртикулНаименованиеКол-во
на складе
Цена
1 NASP/NDPR

Не доступно As Spare Parts (Not Available As Spare Parts)

под заказпо запросу
2 NASP/NDPR

Не доступно As Spare Parts (Not Available As Spare Parts)

под заказпо запросу
3 NASP/NDPR

Не доступно As Spare Parts (Not Available As Spare Parts)

под заказпо запросу
4 NASP/NDPR

Не доступно As Spare Parts (Not Available As Spare Parts)

под заказпо запросу
5 S1134ARCA000

LH Картер двигателя CVT Крышка в сборе (LH Crankcase CVT Cover Assy)

под заказ30800 руб.
6 NASP/NDPR

Не доступно As Spare Parts (Not Available As Spare Parts)

под заказпо запросу
7 S1137AHMA000

Подшипник Воротник в сборе (Bearing Collar Assy)

под заказ1660 руб.
8 S11395RB1000

Прокладка (Gasket)

под заказ760 руб.
9 NASP/NDPR

Не доступно As Spare Parts (Not Available As Spare Parts)

под заказпо запросу
10 NASP/NDPR

Не доступно As Spare Parts (Not Available As Spare Parts)

под заказпо запросу
11 S9430108140

Шпонка (Dowel Pin)

под заказ300 руб.
12 S960010601200

Фланецd Шестигранный винт M6 X 12 (Flanged Hex. Screw M6 X 12)

под заказ150 руб.
13 S960010603500

Фланецd Шестигранный винт M6 X 35 (Flanged Hex. Screw M6 X 35)

под заказ150 руб.
14 504152418

Шариковый подшипник (Ball Bearing)

под заказ2150 руб.
15 XXX

Моторное масло (Engine Oil)

16 293550021

Isoflex Смазка, 50 G (Isoflex Grease, 50 G)

под заказ5600 руб.
16 619600025

(последний код) Isoflex Смазка, 50 G (Isoflex Grease, 50 G)

под заказ6530 руб.
16 AAB52

   (не оригинальный аналог) Смазка для подшипников коленвала, аналог ISOFLEX (50гр.)

под заказ4680 руб.
brp atv

Время выполнения запроса 1.1734569072723 сек.


 
 

данный сайт носит информационный характер и не является публичной офертой

склад запчастей для водомоторной техники