вконтакте

Контактный телефон: +7 (981) 121-46-93, +7 (800) 200-90-76 , Email: parts-katalog@yandex.ru, где купить

 
 

  Логин:

Пароль:

Регистрация

www.partskatalog.ru Все каталоги Запчасти Mercury Запчасти Suzuki Запчасти Tohatsu Запчасти Honda Контакты



УВАЖАЕМЫЕ КЛИЕНТЫ!
C 19 ДЕКАБРЯ 2025 ПО 02 МАРТА 2026 ГОДА ОТДЕЛ ЗАПЧАСТЕЙ И СЕРВИС РАБОТАТЬ НЕ БУДУТ
ПРОДАЖА ЛОДОЧНЫХ МОТОРОВ В ШТАТНОМ РЕЖИМЕ
ОБ ИЗМЕНЕНИЯХ В ГРАФИКЕ РАБОТЫ ЧИТАЙТЕ НА САЙТА




Выбрать другую модель

назад Раздел:   вперёд

вернуться к списку узлов и деталей

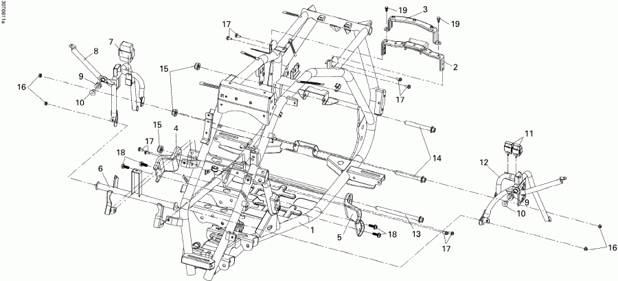
ДЕТАЛИРОВКА ДЛЯ МОДЕЛИ: BRP ATV DS 250 NA / Inter, 2006

Раздел: Рама, System | Frame, System


ATV BRP модификация DS 250 NA / Inter, 2006 - Рама, System

Номер на
рисунке
АртикулНаименованиеКол-во
на складе
Цена
1 S50100RCB000

Рама Front (Frame Front)

под заказ113200 руб.
2 S50171RCA000

Tank Крышка Кронштейн (Tank Cover Bracket)

под заказ1530 руб.
3 S50172RCA000

Tank Кронштейн (Tank Bracket)

под заказ1840 руб.
4 S50350RCA000

RH Кронштейн двигателя (RH Engine Bracket)

под заказ1530 руб.
5 S50360RCA000

LH Кронштейн двигателя (LH Engine Bracket)

под заказ1530 руб.
6 S50510RCA000

Front Fender Sвышеport (Front Fender Support)

под заказ8370 руб.
7 S3576ARCB000

Переключатель Шестерня Управление Unit (Shift Gear Control Unit)

под заказ12890 руб.
8 S50520RCA000

RH Front Fender Sвышеport (RH Front Fender Support)

под заказ8370 руб.
9 S80103X01000

Rubber Шайба (Rubber Washer)

под заказ300 руб.
10 S80104X01000

Fender Воротник (Fender Collar)

под заказ310 руб.
11 S3850AHLA000

Электрика Реле в сборе (Electrical Relay Assy)

под заказ2120 руб.
12 S50522RCB000

LH Front Fender Sвышеport (LH Front Fender Support)

под заказ8370 руб.
13 S90101RCA000

Болт M12 X 162 (Bolt M12 X 162)

под заказ610 руб.
14 S90102RCA000

Болт M12 X 98 (Bolt M12 X 98)

под заказ910 руб.
15 S90306M9Q000

Self Стопорная гайка M12 (Self Lock Nut M12)

под заказ610 руб.
16 S9405006070

Фланецd Гайка 6 mm (Flanged Nut 6 mm)

под заказ300 руб.
17 S958010601207

Фланецd Болт M6 X 12 (Flanged Bolt M6 X 12)

под заказ300 руб.
18 S958011001607

Фланецd Болт M10 X 16 (Flanged Bolt M10 X 16)

под заказ300 руб.
19 S960010601207

Фланецd Болт SH M6 X 12 (Flanged Bolt SH M6 X 12)

под заказ300 руб.
brp atv

Время выполнения запроса 1.768040895462 сек.


 
 

данный сайт носит информационный характер и не является публичной офертой

склад запчастей для водомоторной техники