вконтакте

Контактный телефон: +7 (981) 121-46-93, +7 (800) 200-90-76 , Email: parts-katalog@yandex.ru, где купить

 
 

  Логин:

Пароль:

Регистрация

www.partskatalog.ru Все каталоги Запчасти Mercury Запчасти Suzuki Запчасти Tohatsu Запчасти Honda Контакты



УВАЖАЕМЫЕ КЛИЕНТЫ!
C 19 ДЕКАБРЯ 2025 ПО 02 МАРТА 2026 ГОДА ОТДЕЛ ЗАПЧАСТЕЙ И СЕРВИС РАБОТАТЬ НЕ БУДУТ
ПРОДАЖА ЛОДОЧНЫХ МОТОРОВ В ШТАТНОМ РЕЖИМЕ
ОБ ИЗМЕНЕНИЯХ В ГРАФИКЕ РАБОТЫ ЧИТАЙТЕ НА САЙТА




Выбрать другую модель

назад Раздел:   вперёд

вернуться к списку узлов и деталей

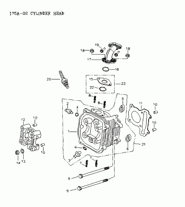
ДЕТАЛИРОВКА ДЛЯ МОДЕЛИ: BRP ATV Mini DS 90 4-strokes, 2006

Раздел: Головка блока цилиндра | Cylinder Head


Квадроцикл BRP Mini DS 90 4-strokes, 2006 - Головка блока цилиндра

Номер на
рисунке
АртикулНаименованиеКол-во
на складе
Цена
1 A12201175000

Головка блока цилиндра (Cylinder Head)

под заказ49200 руб.
2 A12204175000

Клапан Направляющая (Valve Guide)

под заказ2150 руб.
3 A12206175000

Клапан Направляющая Ex. (Valve Guide Ex.)

под заказ2150 руб.
4 A9130912000A

Oil-Кольцо (Oil-Ring)

под заказ430 руб.
5 A12225175000

Седло Впускной клапан (Seat Intake Valve)

под заказ1380 руб.
6 A12226175000

Седло Выпускной клапан (Seat Exhaust Valve)

под заказ1380 руб.
7 A9100106032

Стержневой болт M6 X 32 (Stud Bolt M6 X 32)

под заказ290 руб.
8 A9100106040

Стержневой болт (Stud Bolt)

под заказ310 руб.
9 A960000608508

Hexagonal Шайба Face Болт (Hexagonal Washer Face Bolt)

под заказ1230 руб.
10 A9430108140A

Шпонка (Dowel Pin)

под заказ310 руб.
11 A12251175000

Прокладка головки блока цилиндра (Cylinder Head Gasket)

под заказ1820 руб.
12 A12211133000

Распределительный вал Держатель (Camshaft Holder)

под заказ3220 руб.
13 A941010714025

Шайба плоский (Washer Flat)

под заказ150 руб.
14 A9405007000

Hex Фланецd Гайка With Serration M7 (Hex Flanged Nut With Serration M7)

под заказ290 руб.
15 A16213175000

Карбюратор Изолятор (Carburetor Insulator)

под заказпо запросу
16 A91322175000

Oil Кольцо (Oil Ring)

под заказ460 руб.
17 A1710017500A

Впускной коллектор (Intake Manifold)

под заказ3950 руб.
18 233261414

Hex Фланецd Elastic Гайка M6 (Hex Flanged Elastic Nut M6)

под заказ290 руб.
18 M33200

(последний код)

под заказпо запросу
19 207662044

Hex. Фланецd Винт M6 X 20 (Hex. Flanged Screw M6 X 20)

под заказ290 руб.
20 219700195

Свеча зажигания (NGK CR7HS) (Spark Plug (NGK CR7HS))

под заказ230 руб.
20 278002230

(последний код) Свеча зажигания (NGK CR7HS) (Spark Plug (NGK CR7HS))

под заказ230 руб.
21 XXX

Головка блока цилиндра в сборе (Cylinder Head Assy)

22 A91324175000

Oil Кольцо (Oil Ring)

под заказпо запросу
23 A16239175000

Карбюратор Изолятор (Carburetor Insulator)

под заказ1990 руб.
brp atv

Время выполнения запроса 1.4814939498901 сек.


 
 

данный сайт носит информационный характер и не является публичной офертой

склад запчастей для водомоторной техники