|   | 
   
     
 Выбрать другую модель 
вернуться к списку узлов и деталей ДЕТАЛИРОВКА ДЛЯ МОДЕЛИ:  BRP ATV Mini DS 90 4-strokes, 2006 
Раздел: Электрика System | Electrical System
 
 
 
 
Номер на   рисунке | Артикул | Наименование | Кол-во   на складе | Цена |  
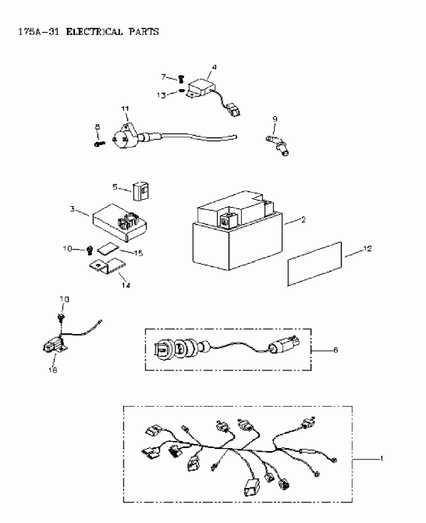
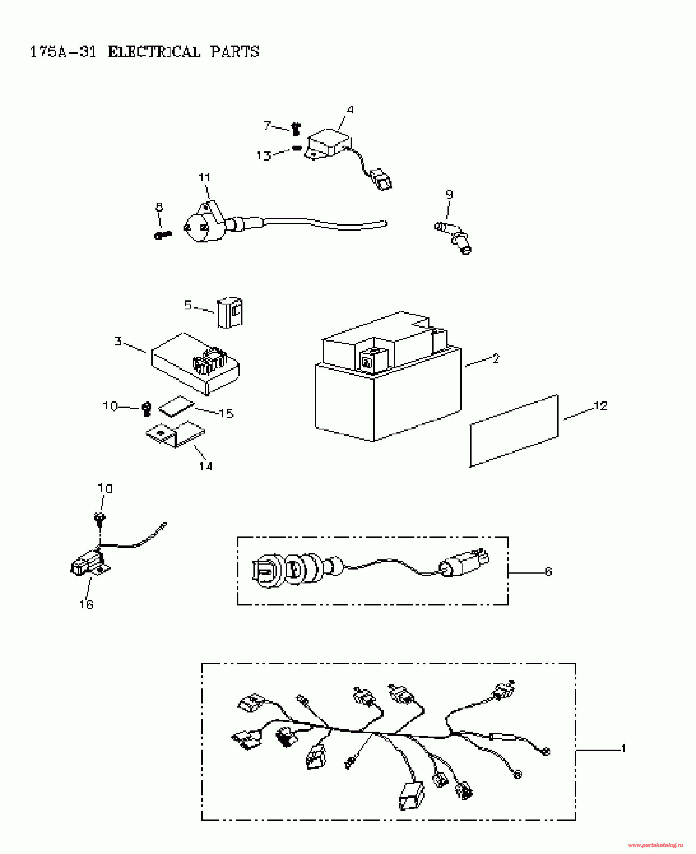
|  1  | A32100238000 | Main Провод Жгут проводов (Main Wire Harness)  | под заказ | 10230 руб. |  |  
|  2  | A31500166000 | Battery (Battery)  | под заказ | 9040 руб. |  |  
|  3  | A3041017500A | Блок управления C.D.I. (C.d.i. Unit)  | под заказ | 21000 руб. |  |  
|  4  | A31600110000 | Регулятор напряжения (выпрямитель) (Regulator Rectifier)  | под заказ | 5030 руб. |  |  
|  5  | A38501152000 | Starting Реле (Starting Relay)  | под заказ | 6030 руб. |  |  
|  6  | A3510016600A | Главный переключатель в сборе (Main Switch AssY)  | под заказ | 6060 руб. |  |  
|  7  | A9350005012 | Pan Head Phillips Болт M5x12 (Pan Head Phillips Bolt M5x12)  | под заказ | по запросу |  |  
|  8  | A960000502408 | Hex Шайба Face Болт M5 X 24 (Hex Washer Face Bolt M5 X 24)  | под заказ | 290 руб. |  |  
|  9  | A30700168000 | Spark Защитный колачок (Spark Plug Cap)  | под заказ | 1840 руб. |  |  
|  10  | A960000601210G | Hex Шайба Face Болт M6 X 12 (Hex Washer Face Bolt M6 X 12)  | под заказ | 860 руб. |  |  
|  11  | A30510175000 | High Tension Coil (High Tension Coil)  | под заказ | 9970 руб. |  |  
|  12  | A87723116000 | "Warning Наклейки Battery ("Warning Label Battery)  | под заказ | 120 руб. |  |  
|  13  | A941110612015 | Пружинная шайба (6 X 12 X 1.5) (Spring Washer (6 X 12 X 1.5))  | под заказ | 290 руб. |  |  
|  14  | A54317175000 | Battery Кронштейн (Battery Bracket)  | под заказ | 770 руб. |  |  
|  15  | A30414175000 | Sponge Pad (Sponge Pad)  | под заказ | 460 руб. |  |  
 
 
 Время выполнения запроса 2.2395479679108 сек.     
    | 
     |