вконтакте

Контактный телефон: +7 (981) 121-46-93, +7 (800) 200-90-76 , Email: parts-katalog@yandex.ru, где купить

 
 

  Логин:

Пароль:

Регистрация

www.partskatalog.ru Все каталоги Запчасти Mercury Запчасти Suzuki Запчасти Tohatsu Запчасти Honda Контакты



УВАЖАЕМЫЕ КЛИЕНТЫ!
C 31 ОКТЯБРЯ 2025 ПО 10 НОЯБРЯ 2025 ГОДА РАБОТАТЬ НЕ БУДЕМ




Выбрать другую модель

назад Раздел:   вперёд

вернуться к списку узлов и деталей

ДЕТАЛИРОВКА ДЛЯ МОДЕЛИ: BRP ATV Outlander 400 STD 4 X 4, 2006

Раздел: Седло | Seat


ATV  Outlander 400 STD 4 X 4, 2006 - Seat

Номер на
рисунке
АртикулНаименованиеКол-во
на складе
Цена
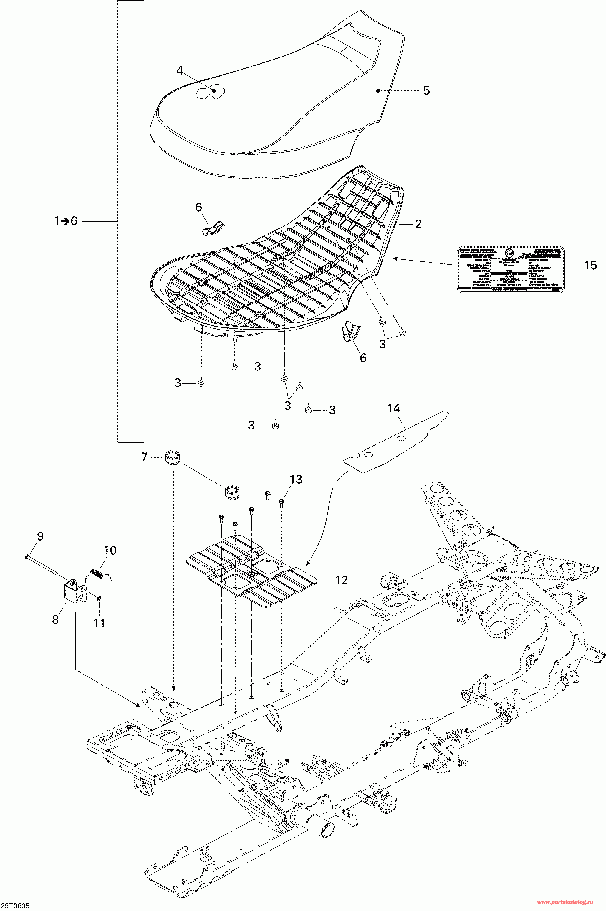
1 708000471

Седло в сборе. Includes 1 to 6 (Seat Assy. Includes 1 to 6)

под заказпо запросу
2 XXX

Седло Основание (Seat Base)

3 708000125

Резиновый стопор (Rubber Stopper)

под заказ340 руб.
3 708000759

(последний код) Резиновый стопор (Rubber Stopper)

под заказ430 руб.
4 XXX

Седло Foam (Seat Foam)

5 XXX

Седло Крышка (Seat Cover)

6 708000127

Седло Corner, чёрный (Seat Corner, Black)

под заказ930 руб.
7 708000323

Rubber Бампер (Rubber Bumper)

под заказ680 руб.
7 708000760

(последний код) Rubber Бампер (Rubber Bumper)

под заказ700 руб.
8 708000144

Latch, чёрный (Latch, Black)

под заказ1000 руб.
9 230061044

Hex Винт M6 X 110 (Hex Screw M6 X 110)

под заказ290 руб.
10 708000369

Пружина (Spring)

под заказ860 руб.
10 708000922

(последний код) Пружина (Spring)

под заказ680 руб.
11 732610072

Push Гайка (Push Nut)

под заказ270 руб.
11 732610068

(последний код) Push Гайка (Push Nut)

под заказ210 руб.
12 708000425

Седло Reinдляcement (Seat Reinforcement)

под заказпо запросу
13 210261280

Hex Фланецd Винт M6 X 12 (Hex Flanged Screw M6 X 12)

под заказ250 руб.
14 708000198

Reflecting Sheet (Reflecting Sheet)

под заказ1000 руб.
15 704901033

Emission Наклейки (Emission Label)

под заказ120 руб.
brp atv

Время выполнения запроса 1.1390740871429 сек.


 
 

данный сайт носит информационный характер и не является публичной офертой

склад запчастей для водомоторной техники