| |
Выбрать другую модель
вернуться к списку узлов и деталей ДЕТАЛИРОВКА ДЛЯ МОДЕЛИ: BRP ATV Rally 175, 2006
Раздел: Выхлопная система Европа | Exhaust System Europe
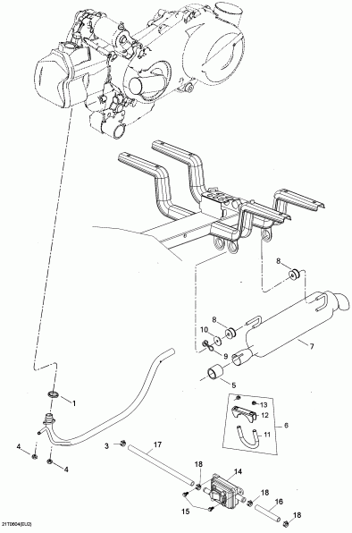
Номер на рисунке | Артикул | Наименование | Кол-во на складе | Цена |
| 1 | A18291179000 | Трубка Прокладка (Pipe Gasket) | под заказ | по запросу | |
| 2 | A1831117900A | Выхлопная труба Welded (Exhaust Pipe Welded) | под заказ | 11720 руб. | |
| 3 | A9451318000 | Струбцина-Пружина (Clamp-spring) | под заказ | 900 руб. | |
| 4 | A9405508000 | Hex Фланецd Гайка (toothed) M8 (Hex Flanged Nut (toothed)M8) | под заказ | по запросу | |
| 5 | A18308179000 | Трубка Прокладка (Pipe Gasket) | под заказ | по запросу | |
| 6 | A18302179000 | " U" Струбцина (" U" Clamp) | под заказ | по запросу | |
| 7 | A1832117900A | Tuned Трубка в сборе (CATA) (Tuned Pipe Assy(CATA)) | под заказ | по запросу | |
| 8 | A18305179000 | Anti-Vibration Rubber (Anti-Vibration Rubber) | под заказ | по запросу | |
| 9 | A9420120250 | Шплинт (Cotter Pin) | под заказ | по запросу | |
| 10 | A941050930012 | Пластина Шайба (sk5) (plate Washer(sk5)) | под заказ | по запросу | |
| 11 | XXX | Fixed Кольцо (Fixed ring) | | | |
| 12 | XXX | Fixed Пластина (Fixed plate) | | | |
| 13 | XXX | Hex. Фланецd Гайка M8 (Hex. Flanged Nut M8) | | | |
| 14 | A17410127000 | Язычковый клапан Comp (Reed Valve Comp) | под заказ | 11170 руб. | |
| 15 | A960000601610G | Hex Шайба Face Болт M6 X 16 (Hex Washer Face Bolt M6 X 16) | под заказ | 290 руб. | |
| 16 | A17411179000 | Шланг (Hose) | под заказ | 2150 руб. | |
| 17 | A17412179000 | Шланг (Hose) | под заказ | 2730 руб. | |
| 18 | A9451316000 | Струбцина-Пружина (Clamp-spring) | под заказ | 600 руб. | |

Время выполнения запроса 1.7866148948669 сек.
|
|