| |
Выбрать другую модель
вернуться к списку узлов и деталей ДЕТАЛИРОВКА ДЛЯ МОДЕЛИ: BRP ATV Mini DS 90 2-strokes, 2005
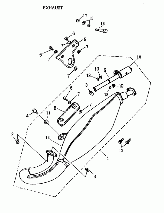
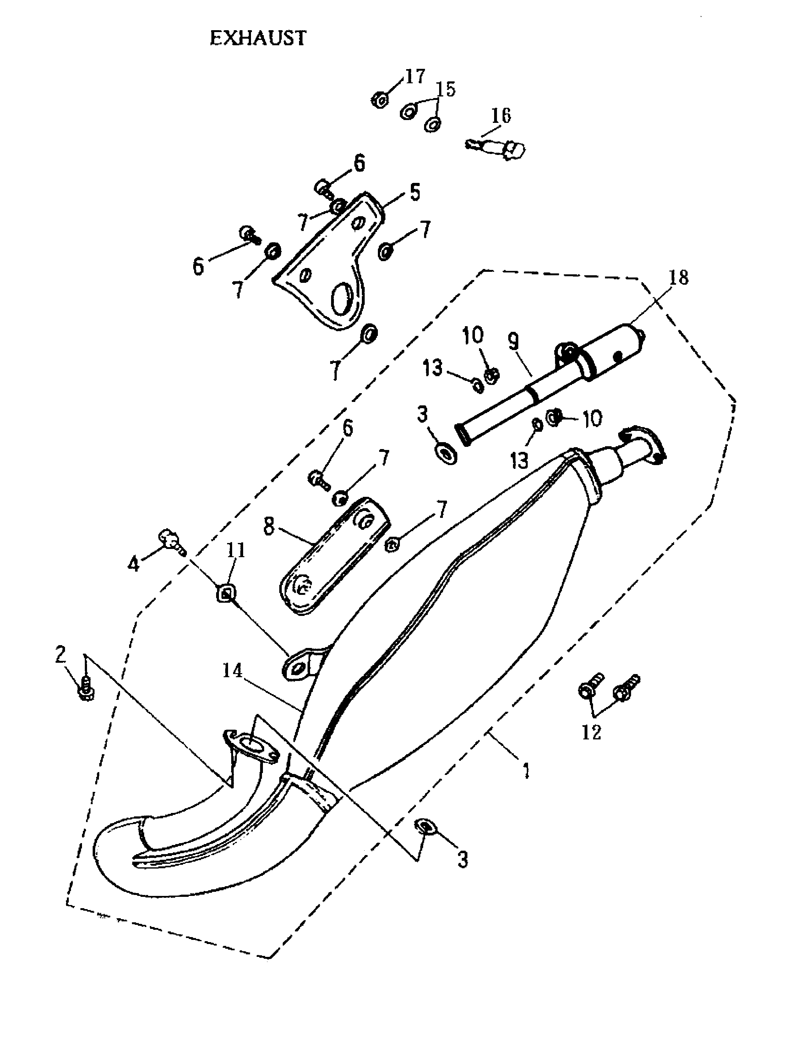
Раздел: Выхлопная система | Exhaust System
Номер на рисунке | Артикул | Наименование | Кол-во на складе | Цена |
| 1 | A1830014600D | Выхлопная труба в сборе (Exhaust Pipe Assy) | под заказ | по запросу | |
| 2 | A920010601810 | Hex. Head Phillips Болт M6 x 18 (Hex. Head Phillips Bolt M6 x 18) | под заказ | 270 руб. | |
| 3 | A18291101000 | Прокладка выхлопной трубы (Exhaust Pipe Gasket) | под заказ | 760 руб. | |
| 4 | A960000802512 | Hex. Шайба Face Болт M8 x 25 (Hex. Washer Face Bolt M8 x 25) | под заказ | 530 руб. | |
| 5 | A18301145000 | Insolator (Insolator) | под заказ | 2150 руб. | |
| 6 | A960000601208L | Hex. Шайба Face Болт M6 x 12 (Hex. Washer Face Bolt M6 x 12) | под заказ | 270 руб. | |
| 7 | A18292104000 | Muffler Колпак Прокладка (Muffler Shroud Packing) | под заказ | 430 руб. | |
| 8 | A18318145000 | Muffler Колпак (Muffler Shroud) | под заказ | 2190 руб. | |
| 9 | A1832114500C | Tail of Muffler (Tail of Muffler) | под заказ | 7690 руб. | |
| 10 | 233261414 | Hex. Фланецd Гайка With Serration M6 (Hex. Flanged Nut With Serration M6) | под заказ | 290 руб. | |
| 10 | M33200 | (последний код) | под заказ | по запросу | |
| 11 | A941110814520 | Пружинная шайба (Spring Washer) | под заказ | 290 руб. | |
| 12 | A960000602510 | Hex. Шайба Face Болт M6 x 25 (Hex. Washer Face Bolt M6 x 25) | под заказ | 290 руб. | |
| 13 | A941010614020 | Plain Шайба (6 x 14 x 2) (Plain Washer (6 x 14 x 2)) | под заказ | 290 руб. | |
| 14 | A1831114600A | Front Выхлопная труба (Front Exhaust Pipe) | под заказ | 21800 руб. | |
| 15 | A941051022025G | Plain Шайба (Plain Washer) | под заказ | 290 руб. | |
| 16 | A960001004814G | Hex. Шайба Face Болт M10 x 48 (Hex. Washer Face Bolt M10 x 48) | под заказ | 860 руб. | |
| 17 | A9035010000G | Нейлоновая гайка M10 (Nylon Nut M10) | под заказ | по запросу | |
| 18 | A18330145000 | Spark Arrester (Spark Arrester) | под заказ | 2440 руб. | |

Время выполнения запроса 3.5492269992828 сек.
|
|