вконтакте

Контактный телефон: +7 (981) 121-46-93, +7 (800) 200-90-76 , Email: parts-katalog@yandex.ru, где купить

 
 

  Логин:

Пароль:

Регистрация

www.partskatalog.ru Все каталоги Запчасти Mercury Запчасти Suzuki Запчасти Tohatsu Запчасти Honda Контакты



УВАЖАЕМЫЕ КЛИЕНТЫ!
C 19 ДЕКАБРЯ 2025 ПО 02 МАРТА 2026 ГОДА ОТДЕЛ ЗАПЧАСТЕЙ И СЕРВИС РАБОТАТЬ НЕ БУДУТ
ПРОДАЖА ЛОДОЧНЫХ МОТОРОВ В ШТАТНОМ РЕЖИМЕ
ОБ ИЗМЕНЕНИЯХ В ГРАФИКЕ РАБОТЫ ЧИТАЙТЕ НА САЙТА




Выбрать другую модель

назад Раздел:   вперёд

вернуться к списку узлов и деталей

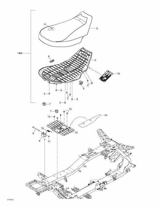
ДЕТАЛИРОВКА ДЛЯ МОДЕЛИ: BRP ATV Outlander 400, 2003

Раздел: Седло | Seat


BRP Outlander 400, 2003 - Седло

Номер на
рисунке
АртикулНаименованиеКол-во
на складе
Цена
1 708000121

Седло в сборе. Includes 1 - 6. (Seat assy. Includes 1 - 6.)

под заказпо запросу
1 708000472

(последний код) Седло в сборе. Includes 1 - 6. (Seat assy. Includes 1 - 6.)

под заказпо запросу
2 XXX

Седло Основание (Seat base)

3 708000125

Резиновый стопор (Rubber stopper)

под заказ340 руб.
3 708000759

(последний код) Резиновый стопор (Rubber stopper)

под заказ430 руб.
4 XXX

Седло foam (Seat foam)

5 708000142

Седло Крышка (Seat cover)

под заказ10810 руб.
5 708000476

(последний код) Седло Крышка (Seat cover)

под заказ10630 руб.
6 708000199

Седло corner (Seat corner)

под заказ960 руб.
7 708000143

Rubber Бампер (Rubber bumper)

под заказпо запросу
7 708000323

(последний код) Rubber Бампер (Rubber bumper)

под заказ680 руб.
8 708000144

Latch (Latch)

под заказ1000 руб.
9 230061060

Hex Винт M6 x 110 (Hex screw M6 x 110)

под заказ530 руб.
9 211000067

(последний код) Hex Винт M6 x 110 (Hex screw M6 x 110)

под заказ680 руб.
10 708000146

Пружина (Spring)

под заказ680 руб.
10 708000369

(последний код) Пружина (Spring)

под заказ860 руб.
11 732610072

Push Гайка (Push nut)

под заказ270 руб.
11 732610068

(последний код) Push Гайка (Push nut)

под заказ210 руб.
12 708000152

Седло reinдляcement (Seat reinforcement)

под заказпо запросу
13 210261080

Hex дляming Винт M6 x 10 (Hex forming screw M6 x 10)

под заказ250 руб.
14 708000198

Reflecting sheet (Reflecting sheet)

под заказ1000 руб.
15 704900501

Emission Наклейки (Emission label)

под заказпо запросу
brp atv

Время выполнения запроса 1.561075925827 сек.


 
 

данный сайт носит информационный характер и не является публичной офертой

склад запчастей для водомоторной техники