вконтакте

Контактный телефон: +7 (981) 121-46-93, +7 (800) 200-90-76 , Email: parts-katalog@yandex.ru, где купить

 
 

  Логин:

Пароль:

Регистрация

www.partskatalog.ru Все каталоги Запчасти Mercury Запчасти Suzuki Запчасти Tohatsu Запчасти Honda Контакты



УВАЖАЕМЫЕ КЛИЕНТЫ!
C 19 ДЕКАБРЯ 2025 ПО 02 МАРТА 2026 ГОДА ОТДЕЛ ЗАПЧАСТЕЙ И СЕРВИС РАБОТАТЬ НЕ БУДУТ
ПРОДАЖА ЛОДОЧНЫХ МОТОРОВ В ШТАТНОМ РЕЖИМЕ
ОБ ИЗМЕНЕНИЯХ В ГРАФИКЕ РАБОТЫ ЧИТАЙТЕ НА САЙТА




ОРИГИНАЛЬНЫЕ ЗАПЧАСТИ НА ГАЗОНОКОСИЛКУ HONDA


Вернуться к началу выбора


Техника: бензиновые и электрические газонокосилки Honda HRX476

Модификация:   Honda HRX476C1 VKEA

Установлен двигатель: Honda GCV160A0 MS5

Модели с серийным номером двигателя: GJAPA от 1100001 до 1199999

Модели с серийным номером рамы: MASF от 1200001 до 1299999

РЕЖИМЫ ПРОСМОТРА

Все узлы и детали

Двигатель

Внешние части


Выберите раздел


E-03 Гильза цилиндра (E-03 Cylinder Head)

E-03 Гильза цилиндра (E-03 Cylinder Head)

E-06 Поддон масляного картера (E-06 Oil Pan)

E-06 Поддон масляного картера (E-06 Oil Pan)

E-07 Коленвал (E-07 Crankshaft)

E-07 Коленвал (E-07 Crankshaft)

E-08 Поршень (E-08 Piston)

E-08 Поршень (E-08 Piston)

E-10 Шкив распредвала (E-10 Pulley Camshaft)

E-10 Шкив распредвала (E-10 Pulley Camshaft)

E-11 Барабанный стартер (E-11 Recoil Starter)

E-11 Барабанный стартер (E-11 Recoil Starter)

E-12-1 Крышка вентилятора (2) (E-12-1 Fan Cover (2))

E-12-1 Крышка вентилятора (2) (E-12-1 Fan Cover (2))

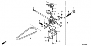
E-14 Карбюратор (E-14 Carburetor)

E-14 Карбюратор (E-14 Carburetor)

E-15 Воздухоочиститель (E-15 Air Cleaner)

E-15 Воздухоочиститель (E-15 Air Cleaner)

E-16 Глушитель (E-16 Muffler)

E-16 Глушитель (E-16 Muffler)

E-17 Топливный бак (E-17 Fuel Tank)

E-17 Топливный бак (E-17 Fuel Tank)

E-19 Маховик (1) (E-19 Flywheel (1))

E-19 Маховик (1) (E-19 Flywheel (1))

E-22-1 Управление (Hrx476C1) (E-22-1 Control Assy (Hrx476C1))

E-22-1 Управление (Hrx476C1) (E-22-1 Control Assy (Hrx476C1))

E-28 Этикетка (E-28 Laber)

E-28 Этикетка (E-28 Laber)

F-01-3 Труба руля (4) (F-01-3 Handlebar (4))

F-01-3 Труба руля (4) (F-01-3 Handlebar (4))

F-02-1 Рукоятка дроссельной заслонки (2) (F-02-1 Grip Throttle (2))

F-02-1 Рукоятка дроссельной заслонки (2) (F-02-1 Grip Throttle (2))

F-06-4 Трансмиссия (5) (F-06-4 Transmission Case (5))

F-06-4 Трансмиссия (5) (F-06-4 Transmission Case (5))

F-09-1 Заднее колесо (2) (F-09-1 Wheel Rear (2))

F-09-1 Заднее колесо (2) (F-09-1 Wheel Rear (2))

F-11-1 Переднее колесо (Hrx476C1) (F-11-1 Wheel Front (Hrx476C1))

F-11-1 Переднее колесо (Hrx476C1) (F-11-1 Wheel Front (Hrx476C1))

F-17-10 Шторка, Жалюзи (F-17-10 Shutter)

F-17-10 Шторка, Жалюзи (F-17-10 Shutter)

F-17-2 Кожух режущего механизма (3) (F-17-2 Casing Cutting Mechanism (3))

F-17-2 Кожух режущего механизма (3) (F-17-2 Casing Cutting Mechanism (3))

F-19 Вращающийся нож (F-19 Blade Rotary)

F-19 Вращающийся нож (F-19 Blade Rotary)

F-20 Мешок для травы (F-20 Bag For Grass)

F-20 Мешок для травы (F-20 Bag For Grass)

F-21-1 Этикетка (Hrx476C1) (F-21-1 Laber (Hrx476C1))

F-21-1 Этикетка (Hrx476C1) (F-21-1 Laber (Hrx476C1))


honda power
 
 

данный сайт носит информационный характер и не является публичной офертой

склад запчастей для водомоторной техники