вконтакте

Контактный телефон: +7 (981) 121-46-93, +7 (800) 200-90-76 , Email: parts-katalog@yandex.ru, где купить

 
 

  Логин:

Пароль:

Регистрация

www.partskatalog.ru Все каталоги Запчасти Mercury Запчасти Suzuki Запчасти Tohatsu Запчасти Honda Контакты



УВАЖАЕМЫЕ КЛИЕНТЫ!
C 19 ДЕКАБРЯ 2025 ПО 02 МАРТА 2026 ГОДА ОТДЕЛ ЗАПЧАСТЕЙ И СЕРВИС РАБОТАТЬ НЕ БУДУТ
ПРОДАЖА ЛОДОЧНЫХ МОТОРОВ В ШТАТНОМ РЕЖИМЕ
ОБ ИЗМЕНЕНИЯХ В ГРАФИКЕ РАБОТЫ ЧИТАЙТЕ НА САЙТА




ОРИГИНАЛЬНЫЕ ЗАПЧАСТИ НА МОТОПОМПЫ HONDA


Вернуться к началу выбора


Техника: бензиновые мотопомпы Honda WT20

Модификация:   Honda WT20XK4 DE

Установлен двигатель: Honda GX160T2 AD6

Модели с серийным номером двигателя: GCBRT от 1000001 до 9999999

Модели с серийным номером рамы: WAAJ от 1100001 до 1199999

РЕЖИМЫ ПРОСМОТРА

Все узлы и детали

Двигатель

Внешние части


Выберите раздел


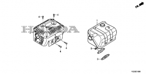
E-02 Головка цилиндра (1) (E-02 Cylinder Barrel (1))

E-02 Головка цилиндра (1) (E-02 Cylinder Barrel (1))

E-03 Гильза цилиндра (1) (E-03 Cylinder Head (1))

E-03 Гильза цилиндра (1) (E-03 Cylinder Head (1))

E-06 Крышка коленвала (1) (E-06 Crankcase Cover (1))

E-06 Крышка коленвала (1) (E-06 Crankcase Cover (1))

E-07 Коленвал (E-07 Crankshaft)

E-07 Коленвал (E-07 Crankshaft)

E-08 Поршень (E-08 Piston)

E-08 Поршень (E-08 Piston)

E-09 Распредвал (E-09 Camshaft Assy)

E-09 Распредвал (E-09 Camshaft Assy)

E-11 Барабанный стартер (1) (E-11 Recoil Starter (1))

E-11 Барабанный стартер (1) (E-11 Recoil Starter (1))

E-12 Крышка вентилятора (1) (E-12 Fan Cover (1))

E-12 Крышка вентилятора (1) (E-12 Fan Cover (1))

E-14 Карбюратор (E-14 Carburetor)

E-14 Карбюратор (E-14 Carburetor)

E-15 Воздухоочиститель (1) (E-15 Air Cleaner (1))

E-15 Воздухоочиститель (1) (E-15 Air Cleaner (1))

E-16 Глушитель (1) (E-16 Muffler (1))

E-16 Глушитель (1) (E-16 Muffler (1))

E-17 Топливный бак (E-17 Fuel Tank)

E-17 Топливный бак (E-17 Fuel Tank)

E-19 Маховик (E-19 Flywheel)

E-19 Маховик (E-19 Flywheel)

E-20 Катушка зажигания (E-20 Ignition Cool)

E-20 Катушка зажигания (E-20 Ignition Cool)

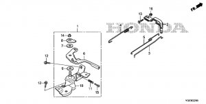
E-22 Рычаг регулятора оборотов (1) (E-22 Governor Arm (1))

E-22 Рычаг регулятора оборотов (1) (E-22 Governor Arm (1))

E-28 Этикетка/инструмент (E-28 Laber/Instruments)

E-28 Этикетка/инструмент (E-28 Laber/Instruments)

F-01 Рубашка (F-01 Water Jacket)

F-01 Рубашка (F-01 Water Jacket)

F-03 Рама (F-03 Frame)

F-03 Рама (F-03 Frame)

F-04 Этикетка (F-04 Laber)

F-04 Этикетка (F-04 Laber)


honda power
 
 

данный сайт носит информационный характер и не является публичной офертой

склад запчастей для водомоторной техники