вконтакте

Контактный телефон: +7 (981) 121-46-93, +7 (800) 200-90-76 , Email: parts-katalog@yandex.ru, где купить

 
 

  Логин:

Пароль:

Регистрация

www.partskatalog.ru Все каталоги Запчасти Mercury Запчасти Suzuki Запчасти Tohatsu Запчасти Honda Контакты



УВАЖАЕМЫЕ КЛИЕНТЫ!
C 19 ДЕКАБРЯ 2025 ПО 02 МАРТА 2026 ГОДА ОТДЕЛ ЗАПЧАСТЕЙ И СЕРВИС РАБОТАТЬ НЕ БУДУТ
ПРОДАЖА ЛОДОЧНЫХ МОТОРОВ В ШТАТНОМ РЕЖИМЕ
ОБ ИЗМЕНЕНИЯХ В ГРАФИКЕ РАБОТЫ ЧИТАЙТЕ НА САЙТА




ОРИГИНАЛЬНЫЕ ЗАПЧАСТИ НА ГАЗОНОКОСИЛКУ HONDA


Вернуться к началу выбора


Техника: бензиновые и электрические газонокосилки Honda HRX426

Модификация:   Honda HRX426C PDEA

Установлен двигатель: Honda GCV160A0 MS3

Модели с серийным номером двигателя: GJAPA от 1100001 до 999999

Модели с серийным номером рамы: MATF от 1100001 до 1199999

РЕЖИМЫ ПРОСМОТРА

Все узлы и детали

Двигатель

Внешние части


Выберите раздел


E-03 Гильза цилиндра (E-03 Cylinder Head)

E-03 Гильза цилиндра (E-03 Cylinder Head)

E-06 Поддон масляного картера (E-06 Oil Pan)

E-06 Поддон масляного картера (E-06 Oil Pan)

E-07 Коленвал (E-07 Crankshaft)

E-07 Коленвал (E-07 Crankshaft)

E-08 Поршень (E-08 Piston)

E-08 Поршень (E-08 Piston)

E-10 Шкив распредвала (E-10 Pulley Camshaft)

E-10 Шкив распредвала (E-10 Pulley Camshaft)

E-11 Барабанный стартер (E-11 Recoil Starter)

E-11 Барабанный стартер (E-11 Recoil Starter)

E-12-1 Крышка вентилятора (2) (E-12-1 Fan Cover (2))

E-12-1 Крышка вентилятора (2) (E-12-1 Fan Cover (2))

E-14 Карбюратор (E-14 Carburetor)

E-14 Карбюратор (E-14 Carburetor)

E-15 Воздухоочиститель (E-15 Air Cleaner)

E-15 Воздухоочиститель (E-15 Air Cleaner)

E-16 Глушитель (E-16 Muffler)

E-16 Глушитель (E-16 Muffler)

E-17 Топливный бак (E-17 Fuel Tank)

E-17 Топливный бак (E-17 Fuel Tank)

E-19 Маховик (1) (E-19 Flywheel (1))

E-19 Маховик (1) (E-19 Flywheel (1))

E-22 Управление (Hrx426C/476C) (E-22 Control Assy (Hrx426C/476C))

E-22 Управление (Hrx426C/476C) (E-22 Control Assy (Hrx426C/476C))

E-28 Этикетка (E-28 Label)

E-28 Этикетка (E-28 Label)

F-01 Труба руля (1) (F-01 Handlebar (1))

F-01 Труба руля (1) (F-01 Handlebar (1))

F-02 Рукоятка дроссельной заслонки (1) (F-02 Grip Throttle (1))

F-02 Рукоятка дроссельной заслонки (1) (F-02 Grip Throttle (1))

F-09 Заднее колесо (1) (F-09 Wheel Rear (1))

F-09 Заднее колесо (1) (F-09 Wheel Rear (1))

F-11 Переднее колесо (Hrx426C/476C) (F-11 Wheel Front (Hrx426C/476C))

F-11 Переднее колесо (Hrx426C/476C) (F-11 Wheel Front (Hrx426C/476C))

F-17 Кожух режущего механизма (1) (F-17 Casing Cutting Mechanism (1))

F-17 Кожух режущего механизма (1) (F-17 Casing Cutting Mechanism (1))

F-19 Вращающийся нож (F-19 Blade Rotary)

F-19 Вращающийся нож (F-19 Blade Rotary)

F-20 Мешок для травы (F-20 Bag For Grass)

F-20 Мешок для травы (F-20 Bag For Grass)

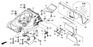
F-21 Этикетка (Hrx426C/476C) (F-21 Label (Hrx426C/476C))

F-21 Этикетка (Hrx426C/476C) (F-21 Label (Hrx426C/476C))

Fop-1 Комплект Для Мульчирования (Fop-1 Комплект Для Мульчирования)

Fop-1 Комплект Для Мульчирования (Fop-1 Комплект Для Мульчирования)


honda power
 
 

данный сайт носит информационный характер и не является публичной офертой

склад запчастей для водомоторной техники