вконтакте

Контактный телефон: +7 (981) 121-46-93, +7 (800) 200-90-76 , Email: parts-katalog@yandex.ru, где купить

 
 

  Логин:

Пароль:

Регистрация

www.partskatalog.ru Все каталоги Запчасти Mercury Запчасти Suzuki Запчасти Tohatsu Запчасти Honda Контакты



УВАЖАЕМЫЕ КЛИЕНТЫ!
C 19 ДЕКАБРЯ 2025 ПО 02 МАРТА 2026 ГОДА ОТДЕЛ ЗАПЧАСТЕЙ И СЕРВИС РАБОТАТЬ НЕ БУДУТ
ПРОДАЖА ЛОДОЧНЫХ МОТОРОВ В ШТАТНОМ РЕЖИМЕ
ОБ ИЗМЕНЕНИЯХ В ГРАФИКЕ РАБОТЫ ЧИТАЙТЕ НА САЙТА




ОРИГИНАЛЬНЫЕ ЗАПЧАСТИ НА СНЕГОУБОРЩИКИ HONDA


Вернуться к началу выбора


Техника: снегоуборочная машина Honda HS760

Модификация:   Honda HS760 ETS

Установлен двигатель: Honda GX200 JY1

Модели с серийным номером двигателя: GCAE от 1000001 до 1899999

Модели с серийным номером рамы: SZBE от 2000001 до 2009999

РЕЖИМЫ ПРОСМОТРА

Все узлы и детали

Двигатель

Внешние части


Выберите раздел


E-02 Головка цилиндра (E-02 Cylinder Barrel)

E-02 Головка цилиндра (E-02 Cylinder Barrel)

E-03 Гильза цилиндра (E-03 Cylinder Head)

E-03 Гильза цилиндра (E-03 Cylinder Head)

E-06 Крышка коленвала (E-06 Crankcase Cover)

E-06 Крышка коленвала (E-06 Crankcase Cover)

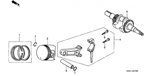
E-07 Поршень / Коленвал (E-07 Piston / Crankshaft)

E-07 Поршень / Коленвал (E-07 Piston / Crankshaft)

E-09 Распредвал (E-09 Camshaft Assy)

E-09 Распредвал (E-09 Camshaft Assy)

E-11 Барабанный стартер (E-11 Recoil Starter)

E-11 Барабанный стартер (E-11 Recoil Starter)

E-12 Крышка вентилятора (E-12 Fan Cover)

E-12 Крышка вентилятора (E-12 Fan Cover)

E-14 Карбюратор (E-14 Carburetor)

E-14 Карбюратор (E-14 Carburetor)

E-15 Воздухоочиститель (E-15 Air Cleaner)

E-15 Воздухоочиститель (E-15 Air Cleaner)

E-16 Глушитель (E-16 Muffler)

E-16 Глушитель (E-16 Muffler)

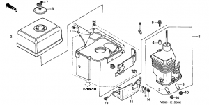
E-17 Топливный бак (E-17 Fuel Tank)

E-17 Топливный бак (E-17 Fuel Tank)

E-19 Маховик / Катушка зажигания (E-19 Flywheel / Ignition Cool)

E-19 Маховик / Катушка зажигания (E-19 Flywheel / Ignition Cool)

E-21 Двигатель электростартера (E-21 Starter Motor)

E-21 Двигатель электростартера (E-21 Starter Motor)

E-22 Управление (E-22 Control Assy)

E-22 Управление (E-22 Control Assy)

EOP-1 Комплект прокладок (EOP-1 Gasket Kit)

EOP-1 Комплект прокладок (EOP-1 Gasket Kit)

F-01 Труба руля (F-01 Handlebar)

F-01 Труба руля (F-01 Handlebar)

F-02 Панель управления (F-02 Control Panel)

F-02 Панель управления (F-02 Control Panel)

F-03 Рычаг коробки передач (F-03 Change Lever)

F-03 Рычаг коробки передач (F-03 Change Lever)

F-03-20 Пластинка подстройки высоты (F-03-20 Plate Trim Height Adjustment)

F-03-20 Пластинка подстройки высоты (F-03-20 Plate Trim Height Adjustment)

F-05 Рычаг механизма натяжения (F-05 Tensioner ARM)

F-05 Рычаг механизма натяжения (F-05 Tensioner ARM)

F-06 Шкив / Клиновой ремень (F-06 Pulley / V-Belt)

F-06 Шкив / Клиновой ремень (F-06 Pulley / V-Belt)

F-07 Гидростатическая трансмиссия (F-07 Hydrostatic transmission)

F-07 Гидростатическая трансмиссия (F-07 Hydrostatic transmission)

F-07-20 Масляный бачок (F-07-20 Oil Tank Assy)

F-07-20 Масляный бачок (F-07-20 Oil Tank Assy)

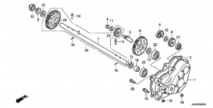
F-08 Задний Картер трансмиссии (F-08 Rear transmission housing)

F-08 Задний Картер трансмиссии (F-08 Rear transmission housing)

F-10 Гусеница (F-10 Crawler)

F-10 Гусеница (F-10 Crawler)

F-11 Защита глушителя (F-11 Protector muffler)

F-11 Защита глушителя (F-11 Protector muffler)

F-13 Аккумуляторная батарея (F-13 Battery)

F-13 Аккумуляторная батарея (F-13 Battery)

F-13-20 Жгут Проводов (Ets,tcd) (F-13-20 Harness (Ets,tcd))

F-13-20 Жгут Проводов (Ets,tcd) (F-13-20 Harness (Ets,tcd))

F-14 Фара (F-14 Headlight Assy)

F-14 Фара (F-14 Headlight Assy)

F-14-20 Двигатель выкидной трубы (F-14-20 Motor Chute Assy)

F-14-20 Двигатель выкидной трубы (F-14-20 Motor Chute Assy)

F-16 Крышка Мотора (F-16 Cover Motorа)

F-16 Крышка Мотора (F-16 Cover Motorа)

F-16-10 Крышка устройства управления (F-16-10 Control Device Cover)

F-16-10 Крышка устройства управления (F-16-10 Control Device Cover)

F-17 Станина двигателя (F-17 Engine Bed)

F-17 Станина двигателя (F-17 Engine Bed)

F-19 Корпус шнека (F-19 Auger Housing)

F-19 Корпус шнека (F-19 Auger Housing)

F-19-20 Трансмиссии шнека (F-19-20 Auger Transmission)

F-19-20 Трансмиссии шнека (F-19-20 Auger Transmission)

F-20 Шнек / Воздуходувка (F-20 Auger / Blower)

F-20 Шнек / Воздуходувка (F-20 Auger / Blower)

F-21 Выкидная труба (модели с дистанционным управлением) (F-21 Chuter)

F-21 Выкидная труба (модели с дистанционным управлением) (F-21 Chuter)

F-22 Этикетка (F-22 Label)

F-22 Этикетка (F-22 Label)

F-23 Инструмент (F-23 Instruments)

F-23 Инструмент (F-23 Instruments)


honda power
 
 

данный сайт носит информационный характер и не является публичной офертой

склад запчастей для водомоторной техники