вконтакте

Контактный телефон: +7 (981) 121-46-93, +7 (800) 200-90-76 , Email: parts-katalog@yandex.ru, где купить

 
 

  Логин:

Пароль:

Регистрация

www.partskatalog.ru Все каталоги Запчасти Mercury Запчасти Suzuki Запчасти Tohatsu Запчасти Honda Контакты



УВАЖАЕМЫЕ КЛИЕНТЫ!
C 19 ДЕКАБРЯ 2025 ПО 02 МАРТА 2026 ГОДА ОТДЕЛ ЗАПЧАСТЕЙ И СЕРВИС РАБОТАТЬ НЕ БУДУТ
ПРОДАЖА ЛОДОЧНЫХ МОТОРОВ В ШТАТНОМ РЕЖИМЕ
ОБ ИЗМЕНЕНИЯХ В ГРАФИКЕ РАБОТЫ ЧИТАЙТЕ НА САЙТА




ОРИГИНАЛЬНЫЕ ЗАПЧАСТИ НА ГАЗОНОКОСИЛКУ HONDA


Вернуться к началу выбора


Техника: бензиновые и электрические газонокосилки Honda HRG465

Модификация:   Honda HRG465C3 SDE

Установлен двигатель: Honda GCV135E MD4

Модели с серийным номером двигателя: GJAFE от 1000001 до 9999999

Модели с серийным номером рамы: MADF от 1400001 до 1499999

РЕЖИМЫ ПРОСМОТРА

Все узлы и детали

Двигатель

Внешние части


Выберите раздел


E-03 Гильза цилиндра (E-03 Cylinder Head)

E-03 Гильза цилиндра (E-03 Cylinder Head)

E-06 Поддон масляного картера (E-06 Oil Pan)

E-06 Поддон масляного картера (E-06 Oil Pan)

E-07 Коленвал (E-07 Crankshaft)

E-07 Коленвал (E-07 Crankshaft)

E-08 Поршень / Шатун (E-08 Piston / Connecting Rod)

E-08 Поршень / Шатун (E-08 Piston / Connecting Rod)

E-10 Шкив распредвала (E-10 Pulley Camshaft)

E-10 Шкив распредвала (E-10 Pulley Camshaft)

E-11 Барабанный стартер (E-11 Recoil Starter)

E-11 Барабанный стартер (E-11 Recoil Starter)

E-12 Крышка вентилятора (E-12 Fan Cover)

E-12 Крышка вентилятора (E-12 Fan Cover)

E-14 Карбюратор (E-14 Carburetor)

E-14 Карбюратор (E-14 Carburetor)

E-15 Воздухоочиститель (E-15 Air Cleaner)

E-15 Воздухоочиститель (E-15 Air Cleaner)

E-16 Глушитель (E-16 Muffler)

E-16 Глушитель (E-16 Muffler)

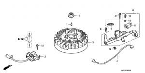
E-19 Маховик / Катушка зажигания (E-19 Flywheel / Ignition Cool)

E-19 Маховик / Катушка зажигания (E-19 Flywheel / Ignition Cool)

E-22 Управление (E-22 Control Assy)

E-22 Управление (E-22 Control Assy)

E-28 Этикетка (E-28 Label)

E-28 Этикетка (E-28 Label)

F-01 Труба руля (F-01 Handlebar)

F-01 Труба руля (F-01 Handlebar)

F-06 Трансмиссия (1) (F-06 Transmission (1))

F-06 Трансмиссия (1) (F-06 Transmission (1))

F-06-1 Трансмиссия (2) (F-06-1 Transmission (2))

F-06-1 Трансмиссия (2) (F-06-1 Transmission (2))

F-09-1 Заднее колесо (самоходная) (F-09-1 Wheel Rear (Self-moving Type))

F-09-1 Заднее колесо (самоходная) (F-09-1 Wheel Rear (Self-moving Type))

F-11 Переднее колесо (F-11 Wheel Front)

F-11 Переднее колесо (F-11 Wheel Front)

F-17 Кожух режущего механизма (F-17 Casing Cutting Mechanism)

F-17 Кожух режущего механизма (F-17 Casing Cutting Mechanism)

F-19 Вращающийся нож (F-19 Blade Rotary)

F-19 Вращающийся нож (F-19 Blade Rotary)

F-20 Мешок для травы / Инструмент (F-20 Bag For Grass / Instruments)

F-20 Мешок для травы / Инструмент (F-20 Bag For Grass / Instruments)

F-21 Этикетка (F-21 Label)

F-21 Этикетка (F-21 Label)

Fop-1 Комплект для мульчирования (Fop-1 Mulching Kit)

Fop-1 Комплект для мульчирования (Fop-1 Mulching Kit)


honda power
 
 

данный сайт носит информационный характер и не является публичной офертой

склад запчастей для водомоторной техники