вконтакте

Контактный телефон: +7 (981) 121-46-93, +7 (800) 200-90-76 , Email: parts-katalog@yandex.ru, где купить

 
 

  Логин:

Пароль:

Регистрация

www.partskatalog.ru Все каталоги Запчасти Mercury Запчасти Suzuki Запчасти Tohatsu Запчасти Honda Контакты



УВАЖАЕМЫЕ КЛИЕНТЫ!
C 19 ДЕКАБРЯ 2025 ПО 02 МАРТА 2026 ГОДА ОТДЕЛ ЗАПЧАСТЕЙ И СЕРВИС РАБОТАТЬ НЕ БУДУТ
ПРОДАЖА ЛОДОЧНЫХ МОТОРОВ В ШТАТНОМ РЕЖИМЕ
ОБ ИЗМЕНЕНИЯХ В ГРАФИКЕ РАБОТЫ ЧИТАЙТЕ НА САЙТА




ОРИГИНАЛЬНЫЕ ЗАПЧАСТИ НА МОТОПОМПЫ HONDA


Вернуться к началу выбора


Техника: бензиновые мотопомпы Honda WT20

Модификация:   Honda WT20XK3 DE

Установлен двигатель: Honda GX160K1 AD6

Модели с серийным номером двигателя: GC02 от 6100001 до 8669999

Модели с серийным номером рамы: WAAJ от 1000001 до 1009999

РЕЖИМЫ ПРОСМОТРА

Все узлы и детали

Двигатель

Внешние части


Выберите раздел


E-02 Головка цилиндра (Wt20Xk1/k2/k3) (E-02 Cylinder Barrel (Wt20Xk1/k2/k3))

E-02 Головка цилиндра (Wt20Xk1/k2/k3) (E-02 Cylinder Barrel (Wt20Xk1/k2/k3))

E-03 Гильза цилиндра (Wt20Xk1/k2/k3) (E-03 Cylinder Head (Wt20Xk1/k2/k3))

E-03 Гильза цилиндра (Wt20Xk1/k2/k3) (E-03 Cylinder Head (Wt20Xk1/k2/k3))

E-06 Крышка коленвала (Wt20Xk1/k2/k3) (E-06 Crankcase Cover (Wt20Xk1/k2/k3))

E-06 Крышка коленвала (Wt20Xk1/k2/k3) (E-06 Crankcase Cover (Wt20Xk1/k2/k3))

E-07 Коленвал / Поршень (E-07 Crankshaft / Piston)

E-07 Коленвал / Поршень (E-07 Crankshaft / Piston)

E-09 Распредвал (E-09 Camshaft Assy)

E-09 Распредвал (E-09 Camshaft Assy)

E-11-1 Барабанный стартер (Wt20Xk2/k3) (E-11-1 Recoil Starter (Wt20Xk2/k3))

E-11-1 Барабанный стартер (Wt20Xk2/k3) (E-11-1 Recoil Starter (Wt20Xk2/k3))

E-12 Крышка вентилятора (Wt20Xk1/k2/k3) (E-12 Fan Cover (Wt20Xk1/k2/k3))

E-12 Крышка вентилятора (Wt20Xk1/k2/k3) (E-12 Fan Cover (Wt20Xk1/k2/k3))

E-14 Карбюратор (E-14 Carburetor)

E-14 Карбюратор (E-14 Carburetor)

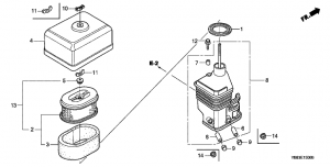
E-15 Воздухоочиститель (Wt20Xk1/k2/k3) (E-15 Air Cleaner (Wt20Xk1/k2/k3))

E-15 Воздухоочиститель (Wt20Xk1/k2/k3) (E-15 Air Cleaner (Wt20Xk1/k2/k3))

E-16 Глушитель (Wt20Xk1/k2/k3) (E-16 Muffler (Wt20Xk1/k2/k3))

E-16 Глушитель (Wt20Xk1/k2/k3) (E-16 Muffler (Wt20Xk1/k2/k3))

E-17 Топливный бак (Wt20Xk1/k2/k3) (E-17 Fuel Tank (Wt20Xk1/k2/k3))

E-17 Топливный бак (Wt20Xk1/k2/k3) (E-17 Fuel Tank (Wt20Xk1/k2/k3))

E-19 Маховик / Катушка зажигания (E-19 Flywheel / Ignition Cool)

E-19 Маховик / Катушка зажигания (E-19 Flywheel / Ignition Cool)

E-22 Управление (Wt20Xk1/k2/k3) (E-22 Control Assy (Wt20Xk1/k2/k3))

E-22 Управление (Wt20Xk1/k2/k3) (E-22 Control Assy (Wt20Xk1/k2/k3))

E-28 Этикетка/инструмент (E-28 Label / Instruments)

E-28 Этикетка/инструмент (E-28 Label / Instruments)

F-01-1 Рубашка (Wt20Xk3/wt30Xk3) (F-01-1 Water Jacket (Wt20Xk3/wt30Xk3))

F-01-1 Рубашка (Wt20Xk3/wt30Xk3) (F-01-1 Water Jacket (Wt20Xk3/wt30Xk3))

F-03-1 Рама (Wt20Xk3/wt30Xk3) (F-03-1 Frame (Wt20Xk3/wt30Xk3))

F-03-1 Рама (Wt20Xk3/wt30Xk3) (F-03-1 Frame (Wt20Xk3/wt30Xk3))

F-04 Этикетка (F-04 Label)

F-04 Этикетка (F-04 Label)


honda power
 
 

данный сайт носит информационный характер и не является публичной офертой

склад запчастей для водомоторной техники