вконтакте

Контактный телефон: +7 (981) 121-46-93, +7 (800) 200-90-76 , Email: parts-katalog@yandex.ru, где купить

 
 

  Логин:

Пароль:

Регистрация

www.partskatalog.ru Все каталоги Запчасти Mercury Запчасти Suzuki Запчасти Tohatsu Запчасти Honda Контакты



УВАЖАЕМЫЕ КЛИЕНТЫ!
C 19 ДЕКАБРЯ 2025 ПО 02 МАРТА 2026 ГОДА ОТДЕЛ ЗАПЧАСТЕЙ И СЕРВИС РАБОТАТЬ НЕ БУДУТ
ПРОДАЖА ЛОДОЧНЫХ МОТОРОВ В ШТАТНОМ РЕЖИМЕ
ОБ ИЗМЕНЕНИЯХ В ГРАФИКЕ РАБОТЫ ЧИТАЙТЕ НА САЙТА




ОРИГИНАЛЬНЫЕ ЗАПЧАСТИ НА МОТОПОМПЫ HONDA


Вернуться к началу выбора


Техника: бензиновые мотопомпы Honda WT30

Модификация:   Honda WT30XK3 DE-A

Установлен двигатель: Honda GX240K1 WY6

Модели с серийным номером двигателя: GC04 от 4400001 до 9999999

Модели с серийным номером рамы: WABJ от 1100001 до 9999999

РЕЖИМЫ ПРОСМОТРА

Все узлы и детали

Двигатель

Внешние части


Выберите раздел


E-02-1 Головка цилиндра (Wt30Xk1/k2/k3) (E-02-1 Cylinder Barrel (Wt30Xk1/k2/k3))

E-02-1 Головка цилиндра (Wt30Xk1/k2/k3) (E-02-1 Cylinder Barrel (Wt30Xk1/k2/k3))

E-03-1 Гильза цилиндра (Wt30Xk1/k2/k3) (E-03-1 Cylinder Head (Wt30Xk1/k2/k3))

E-03-1 Гильза цилиндра (Wt30Xk1/k2/k3) (E-03-1 Cylinder Head (Wt30Xk1/k2/k3))

E-06-1 Крышка коленвала (Wt30Xk1/k2/k3) (E-06-1 Crankcase Cover (Wt30Xk1/k2/k3))

E-06-1 Крышка коленвала (Wt30Xk1/k2/k3) (E-06-1 Crankcase Cover (Wt30Xk1/k2/k3))

E-07 Коленвал / Поршень (E-07 Crankshaft / Piston)

E-07 Коленвал / Поршень (E-07 Crankshaft / Piston)

E-09 Распредвал (E-09 Camshaft Assy)

E-09 Распредвал (E-09 Camshaft Assy)

E-11-3 Барабанный стартер (Wt30Xk2/k3) (E-11-3 Recoil Starter (Wt30Xk2/k3))

E-11-3 Барабанный стартер (Wt30Xk2/k3) (E-11-3 Recoil Starter (Wt30Xk2/k3))

E-12-1 Крышка вентилятора (Wt30Xk1/k2/k3) (E-12-1 Fan Cover (Wt30Xk1/k2/k3))

E-12-1 Крышка вентилятора (Wt30Xk1/k2/k3) (E-12-1 Fan Cover (Wt30Xk1/k2/k3))

E-14 Карбюратор (E-14 Carburetor)

E-14 Карбюратор (E-14 Carburetor)

E-15-1 Воздухоочиститель (Wt30Xk1/k2/k3) (E-15-1 Air Cleaner (Wt30Xk1/k2/k3))

E-15-1 Воздухоочиститель (Wt30Xk1/k2/k3) (E-15-1 Air Cleaner (Wt30Xk1/k2/k3))

E-16-1 Глушитель (Wt30Xk1/k2/k3) (E-16-1 Muffler (Wt30Xk1/k2/k3))

E-16-1 Глушитель (Wt30Xk1/k2/k3) (E-16-1 Muffler (Wt30Xk1/k2/k3))

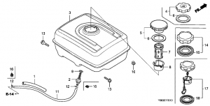
E-17-1 Топливный бак (Wt30Xk1/k2/k3) (E-17-1 Fuel Tank (Wt30Xk1/k2/k3))

E-17-1 Топливный бак (Wt30Xk1/k2/k3) (E-17-1 Fuel Tank (Wt30Xk1/k2/k3))

E-19 Маховик / Катушка зажигания (E-19 Flywheel / Ignition Cool)

E-19 Маховик / Катушка зажигания (E-19 Flywheel / Ignition Cool)

E-22-1 Управление (Wt30Xk1/k2/k3) (E-22-1 Control Assy (Wt30Xk1/k2/k3))

E-22-1 Управление (Wt30Xk1/k2/k3) (E-22-1 Control Assy (Wt30Xk1/k2/k3))

E-28 Этикетка/инструмент (E-28 Label / Instruments)

E-28 Этикетка/инструмент (E-28 Label / Instruments)

F-01-1 Рубашка (Wt20Xk3/wt30Xk3) (F-01-1 Water Jacket (Wt20Xk3/wt30Xk3))

F-01-1 Рубашка (Wt20Xk3/wt30Xk3) (F-01-1 Water Jacket (Wt20Xk3/wt30Xk3))

F-03-1 Рама (Wt20Xk3/wt30Xk3) (F-03-1 Frame (Wt20Xk3/wt30Xk3))

F-03-1 Рама (Wt20Xk3/wt30Xk3) (F-03-1 Frame (Wt20Xk3/wt30Xk3))

F-04 Этикетка (F-04 Label)

F-04 Этикетка (F-04 Label)


honda power
 
 

данный сайт носит информационный характер и не является публичной офертой

склад запчастей для водомоторной техники