вконтакте

Контактный телефон: +7 (981) 121-46-93, +7 (800) 200-90-76 , Email: parts-katalog@yandex.ru, где купить

 
 

  Логин:

Пароль:

Регистрация

www.partskatalog.ru Все каталоги Запчасти Mercury Запчасти Suzuki Запчасти Tohatsu Запчасти Honda Контакты



УВАЖАЕМЫЕ КЛИЕНТЫ!
C 19 ДЕКАБРЯ 2025 ПО 02 МАРТА 2026 ГОДА ОТДЕЛ ЗАПЧАСТЕЙ И СЕРВИС РАБОТАТЬ НЕ БУДУТ
ПРОДАЖА ЛОДОЧНЫХ МОТОРОВ В ШТАТНОМ РЕЖИМЕ
ОБ ИЗМЕНЕНИЯХ В ГРАФИКЕ РАБОТЫ ЧИТАЙТЕ НА САЙТА




ОРИГИНАЛЬНЫЕ ЗАПЧАСТИ НА ГАЗОНОКОСИЛКУ HONDA


Вернуться к началу выбора


Техника: бензиновые и электрические газонокосилки Honda HRD536

Модификация:   Honda HRD536K4 HXEH

Установлен двигатель: Honda GXV160H2 MD6

Модели с серийным номером двигателя: GJAAH от 1000001 до 2999999

Модели с серийным номером рамы: MZBL от 8300001 до 8599999

РЕЖИМЫ ПРОСМОТРА

Все узлы и детали

Двигатель

Внешние части


Выберите раздел


E-02-1 Головка цилиндра (Hrd536K2/K3/K4) (E-02-1 Cylinder Barrel (Hrd536K2/K3/K4))

E-02-1 Головка цилиндра (Hrd536K2/K3/K4) (E-02-1 Cylinder Barrel (Hrd536K2/K3/K4))

E-03-1 Гильза цилиндра/Поддон масляного картера (Hrd536K2/K3/K4) (E-03-1 Cylinder Head/Oil Pan (Hrd536K2/K3/K4))

E-03-1 Гильза цилиндра/Поддон масляного картера (Hrd536K2/K3/K4) (E-03-1 Cylinder Head/Oil Pan (Hrd536K2/K3/K4))

E-07 Коленвал / Поршень (Hrd535K2/536K2/K3/K4) (E-07 Crankshaft / Piston (Hrd535K2/536K2/K3/K4))

E-07 Коленвал / Поршень (Hrd535K2/536K2/K3/K4) (E-07 Crankshaft / Piston (Hrd535K2/536K2/K3/K4))

E-09 Распредвал (Hrd535K2/536K2/K3/K4) (E-09 Camshaft Assy (Hrd535K2/536K2/K3/K4))

E-09 Распредвал (Hrd535K2/536K2/K3/K4) (E-09 Camshaft Assy (Hrd535K2/536K2/K3/K4))

E-11-3 Барабанный стартер (Hrd536K3/K4) (2) (E-11-3 Recoil Starter (Hrd536K3/K4) (2))

E-11-3 Барабанный стартер (Hrd536K3/K4) (2) (E-11-3 Recoil Starter (Hrd536K3/K4) (2))

E-11-4 Барабанный стартер (Hrd536K4) (2) (E-11-4 Recoil Starter (Hrd536K4) (2))

E-11-4 Барабанный стартер (Hrd536K4) (2) (E-11-4 Recoil Starter (Hrd536K4) (2))

E-12-3 Крышка вентилятора (Hrd536K3/K4) (E-12-3 Fan Cover (Hrd536K3/K4))

E-12-3 Крышка вентилятора (Hrd536K3/K4) (E-12-3 Fan Cover (Hrd536K3/K4))

E-14-1 Карбюратор (Hrd536K2/K3/K4) (E-14-1 Carburetor (Hrd536K2/K3/K4))

E-14-1 Карбюратор (Hrd536K2/K3/K4) (E-14-1 Carburetor (Hrd536K2/K3/K4))

E-15-3 Воздухоочиститель (Hrd536K3/K4) (E-15-3 Air Cleaner (Hrd536K3/K4))

E-15-3 Воздухоочиститель (Hrd536K3/K4) (E-15-3 Air Cleaner (Hrd536K3/K4))

E-16 Глушитель (Hrd535K2/536K2/K3/K4) (E-16 Muffler (Hrd535K2/536K2/K3/K4))

E-16 Глушитель (Hrd535K2/536K2/K3/K4) (E-16 Muffler (Hrd535K2/536K2/K3/K4))

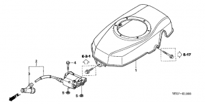
E-17 Топливный бак (Hrd536K3/K4) (E-17 Fuel Tank (Hrd536K3/K4))

E-17 Топливный бак (Hrd536K3/K4) (E-17 Fuel Tank (Hrd536K3/K4))

E-19 Маховик (Hrd535K2/536K2/K3/K4) (E-19 Flywheel (Hrd535K2/536K2/K3/K4))

E-19 Маховик (Hrd535K2/536K2/K3/K4) (E-19 Flywheel (Hrd535K2/536K2/K3/K4))

E-22-1 Управление (Hrd536K2/K3/K4) (E-22-1 Control Assy (Hrd536K2/K3/K4))

E-22-1 Управление (Hrd536K2/K3/K4) (E-22-1 Control Assy (Hrd536K2/K3/K4))

E-28-1 Этикетка (Hrd536K3/K4) (E-28-1 Label (Hrd536K3/K4))

E-28-1 Этикетка (Hrd536K3/K4) (E-28-1 Label (Hrd536K3/K4))

F-01-1 Труба руля (2) (F-01-1 Handlebar (2))

F-01-1 Труба руля (2) (F-01-1 Handlebar (2))

F-02-1 Рукоятка дроссельной заслонки (2) (F-02-1 Grip Throttle (2))

F-02-1 Рукоятка дроссельной заслонки (2) (F-02-1 Grip Throttle (2))

F-06-1 Трансмиссия (H.s.t.) (F-06-1 Transmission (H.s.t.))

F-06-1 Трансмиссия (H.s.t.) (F-06-1 Transmission (H.s.t.))

F-09-1 Заднее колесо (F-09-1 Wheel Rear)

F-09-1 Заднее колесо (F-09-1 Wheel Rear)

F-11 Переднее колесо (F-11 Wheel Front)

F-11 Переднее колесо (F-11 Wheel Front)

F-17 Кожух режущего механизма (F-17 Casing Cutting Mechanism)

F-17 Кожух режущего механизма (F-17 Casing Cutting Mechanism)

F-19-1 Вращающийся нож (2) (F-19-1 Blade Rotary (2))

F-19-1 Вращающийся нож (2) (F-19-1 Blade Rotary (2))

F-20 Мешок для травы / Инструмент (F-20 Bag For Grass / Instruments)

F-20 Мешок для травы / Инструмент (F-20 Bag For Grass / Instruments)

F-21 Этикетка (F-21 Label)

F-21 Этикетка (F-21 Label)

Fop-1 Комплект муфты тормоза ножевого механизма (Fop-1 Knife Mechanism Brake Clutch Kit)

Fop-1 Комплект муфты тормоза ножевого механизма (Fop-1 Knife Mechanism Brake Clutch Kit)

Fop-2 Комплект для мульчирования (Fop-2 Mulching Kit)

Fop-2 Комплект для мульчирования (Fop-2 Mulching Kit)


honda power
 
 

данный сайт носит информационный характер и не является публичной офертой

склад запчастей для водомоторной техники