вконтакте

Контактный телефон: +7 (981) 121-46-93, +7 (800) 200-90-76 , Email: parts-katalog@yandex.ru, где купить

 
 

  Логин:

Пароль:

Регистрация

www.partskatalog.ru Все каталоги Запчасти Mercury Запчасти Suzuki Запчасти Tohatsu Запчасти Honda Контакты


ОРИГИНАЛЬНЫЕ ЗАПЧАСТИ НА МОТОКУЛЬТИВАТОРЫ HONDA


Вернуться к началу выбора


Техника: мотокультиваторы Honda F300

Модификация:   Honda F300K1 DET2/A

Модели с серийным номером двигателя: GJAGT от 2000001 до 2999999

Модели с серийным номером рамы: FAJJ от 3310001 до 3319999

РЕЖИМЫ ПРОСМОТРА

Все узлы и детали

Двигатель

Внешние части


Выберите раздел


E-03 Гильза цилиндра (E-03 Cylinder Head)

E-03 Гильза цилиндра (E-03 Cylinder Head)

E-03-10 Масляный кожух (E-03-10 Oil cover)

E-03-10 Масляный кожух (E-03-10 Oil cover)

E-06 Крышка коленвала (E-06 Crankcase Cover)

E-06 Крышка коленвала (E-06 Crankcase Cover)

E-07 Коленвал (E-07 Crankshaft)

E-07 Коленвал (E-07 Crankshaft)

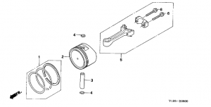
E-08 Поршень / Шатун (E-08 Piston / Connecting Rod)

E-08 Поршень / Шатун (E-08 Piston / Connecting Rod)

E-09 Распредвал (E-09 Camshaft Assy)

E-09 Распредвал (E-09 Camshaft Assy)

E-11 Барабанный стартер (E-11 Recoil Starter)

E-11 Барабанный стартер (E-11 Recoil Starter)

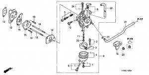
E-14 Карбюратор (E-14 Carburetor)

E-14 Карбюратор (E-14 Carburetor)

E-16 Глушитель (E-16 Muffler)

E-16 Глушитель (E-16 Muffler)

E-19 Маховик / Катушка зажигания (E-19 Flywheel / Ignition Cool)

E-19 Маховик / Катушка зажигания (E-19 Flywheel / Ignition Cool)

E-22 Управление (E-22 Control Assy)

E-22 Управление (E-22 Control Assy)

F-01-1 Труба руля (Ff300K1) (F-01-1 Handlebar (Ff300K1))

F-01-1 Труба руля (Ff300K1) (F-01-1 Handlebar (Ff300K1))

F-02 Сцепление (F-02 Clutch)

F-02 Сцепление (F-02 Clutch)

F-02-10 Кожух Редуктора (F-02-10 Tooth Rotor)

F-02-10 Кожух Редуктора (F-02-10 Tooth Rotor)

F-05 Рычаг коробки передач (F-05 Change Lever)

F-05 Рычаг коробки передач (F-05 Change Lever)

F-10 Картер трансмиссии (F-10 Case Transmission)

F-10 Картер трансмиссии (F-10 Case Transmission)

F-11 Трансмиссия (F-11 Transmission)

F-11 Трансмиссия (F-11 Transmission)

F-11-20 Зубчатый Вал (F-11-20 GEAR SHAFT)

F-11-20 Зубчатый Вал (F-11-20 GEAR SHAFT)

F-12 Вал колеса+ Приводной вал (F-12 Wheel Shaft + Drive Shaft)

F-12 Вал колеса+ Приводной вал (F-12 Wheel Shaft + Drive Shaft)

F-14 Колесо (F-14 Wheel)

F-14 Колесо (F-14 Wheel)

F-15 Воздухоочиститель (F-15 Air Cleaner)

F-15 Воздухоочиститель (F-15 Air Cleaner)

F-17 Топливный бак (F-17 Fuel Tank)

F-17 Топливный бак (F-17 Fuel Tank)

F-24 Вращающийся Зуб (F-24 ROTATING TOOTH)

F-24 Вращающийся Зуб (F-24 ROTATING TOOTH)

F-24-10 Крыло/Передняя Трубная Защита (F-24-10 Wing/FRONT PIPE PROTECTION)

F-24-10 Крыло/Передняя Трубная Защита (F-24-10 Wing/FRONT PIPE PROTECTION)

F-25 Этикетка (F-25 Label)

F-25 Этикетка (F-25 Label)

F-26 Инструмент (F-26 Instruments)

F-26 Инструмент (F-26 Instruments)

Fop-1 Комплект Коробки Задней Сцепки (Fop-1 REAR HITCH BOX SET)

Fop-1 Комплект Коробки Задней Сцепки (Fop-1 REAR HITCH BOX SET)


honda power
 
 

данный сайт носит информационный характер и не является публичной офертой

склад запчастей для водомоторной техники