вконтакте

Контактный телефон: +7 (981) 121-46-93, +7 (800) 200-90-76 , Email: parts-katalog@yandex.ru, где купить

 
 

  Логин:

Пароль:

Регистрация

www.partskatalog.ru Все каталоги Запчасти Mercury Запчасти Suzuki Запчасти Tohatsu Запчасти Honda Контакты



УВАЖАЕМЫЕ КЛИЕНТЫ!
C 19 ДЕКАБРЯ 2025 ПО 02 МАРТА 2026 ГОДА ОТДЕЛ ЗАПЧАСТЕЙ И СЕРВИС РАБОТАТЬ НЕ БУДУТ
ПРОДАЖА ЛОДОЧНЫХ МОТОРОВ В ШТАТНОМ РЕЖИМЕ
ОБ ИЗМЕНЕНИЯХ В ГРАФИКЕ РАБОТЫ ЧИТАЙТЕ НА САЙТА




ОРИГИНАЛЬНЫЕ ЗАПЧАСТИ НА ГАЗОНОКОСИЛКУ HONDA


Вернуться к началу выбора


Техника: бензиновые и электрические газонокосилки Honda HRX476

Модификация:   Honda HRX476C1 VKE

Модели с серийным номером двигателя: GJATK от 1000001 до 1999999

Модели с серийным номером рамы: MBUF от 1000001 до 1999999

РЕЖИМЫ ПРОСМОТРА

Все узлы и детали

Двигатель

Внешние части


Выберите раздел


E-02 Головка цилиндра (E-02 Cylinder Barrel)

E-02 Головка цилиндра (E-02 Cylinder Barrel)

E-03-10 Коленвал (E-03-10 Crankshaft)

E-03-10 Коленвал (E-03-10 Crankshaft)

E-03-20 Крышка коленвала (E-03-20 Crankcase Cover)

E-03-20 Крышка коленвала (E-03-20 Crankcase Cover)

E-07-1 Коленвал (Hrx476C2) (E-07-1 Crankshaft (Hrx476C2))

E-07-1 Коленвал (Hrx476C2) (E-07-1 Crankshaft (Hrx476C2))

E-08-1 Поршень (Hrx476C2) (E-08-1 Piston (Hrx476C2))

E-08-1 Поршень (Hrx476C2) (E-08-1 Piston (Hrx476C2))

E-10-1 Распредвал (Hrx476C2) (E-10-1 Camshaft Assy (Hrx476C2))

E-10-1 Распредвал (Hrx476C2) (E-10-1 Camshaft Assy (Hrx476C2))

E-11-1 Барабанный стартер (Hrx476C2) (E-11-1 Recoil Starter (Hrx476C2))

E-11-1 Барабанный стартер (Hrx476C2) (E-11-1 Recoil Starter (Hrx476C2))

E-12-2 Крышка вентилятора (3) (E-12-2 Fan Cover (3))

E-12-2 Крышка вентилятора (3) (E-12-2 Fan Cover (3))

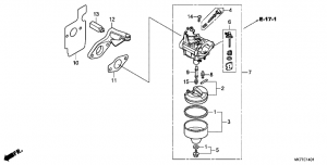
E-14-1 Карбюратор (Hrx476C2) (E-14-1 Carburetor (Hrx476C2))

E-14-1 Карбюратор (Hrx476C2) (E-14-1 Carburetor (Hrx476C2))

E-15-1 Воздухоочиститель (Hrx476C2) (E-15-1 Air Cleaner (Hrx476C2))

E-15-1 Воздухоочиститель (Hrx476C2) (E-15-1 Air Cleaner (Hrx476C2))

E-16-1 Глушитель (Hrx476C2) (E-16-1 Muffler (Hrx476C2))

E-16-1 Глушитель (Hrx476C2) (E-16-1 Muffler (Hrx476C2))

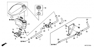
E-17-1 Топливный бак (Hrx476C2) (E-17-1 Fuel Tank (Hrx476C2))

E-17-1 Топливный бак (Hrx476C2) (E-17-1 Fuel Tank (Hrx476C2))

E-19-2 Маховик (3) (E-19-2 Flywheel (3))

E-19-2 Маховик (3) (E-19-2 Flywheel (3))

E-22-2 Управление (Hrx476C2) (E-22-2 Control Assy (Hrx476C2))

E-22-2 Управление (Hrx476C2) (E-22-2 Control Assy (Hrx476C2))

E-28-1 Этикетка (Hrx476C2) (E-28-1 Label (Hrx476C2))

E-28-1 Этикетка (Hrx476C2) (E-28-1 Label (Hrx476C2))

F-01-4 Труба руля (5) (F-01-4 Handlebar (5))

F-01-4 Труба руля (5) (F-01-4 Handlebar (5))

F-06-4 Трансмиссия (5) (F-06-4 Transmission (5))

F-06-4 Трансмиссия (5) (F-06-4 Transmission (5))

F-09-1 Заднее колесо (2) (F-09-1 Wheel Rear (2))

F-09-1 Заднее колесо (2) (F-09-1 Wheel Rear (2))

F-11-1 Переднее колесо (2) (F-11-1 Wheel Front (2))

F-11-1 Переднее колесо (2) (F-11-1 Wheel Front (2))

F-17-10 Шторка, Жалюзи (F-17-10 Shutter)

F-17-10 Шторка, Жалюзи (F-17-10 Shutter)

F-17-2 Кожух режущего механизма (3) (F-17-2 Casing Cutting Mechanism (3))

F-17-2 Кожух режущего механизма (3) (F-17-2 Casing Cutting Mechanism (3))

F-19 Вращающийся нож (F-19 Blade Rotary)

F-19 Вращающийся нож (F-19 Blade Rotary)

F-20 Мешок для травы (F-20 Bag For Grass)

F-20 Мешок для травы (F-20 Bag For Grass)

F-21-1 Этикетка (Hrx476C1/C2) (F-21-1 Label (Hrx476C1/C2))

F-21-1 Этикетка (Hrx476C1/C2) (F-21-1 Label (Hrx476C1/C2))


honda power
 
 

данный сайт носит информационный характер и не является публичной офертой

склад запчастей для водомоторной техники