вконтакте

Контактный телефон: +7 (981) 121-46-93, +7 (800) 200-90-76 , Email: parts-katalog@yandex.ru, где купить

 
 

  Логин:

Пароль:

Регистрация

www.partskatalog.ru Все каталоги Запчасти Mercury Запчасти Suzuki Запчасти Tohatsu Запчасти Honda Контакты


Все разделы каталога запчастей на этот двигатель

назад Раздел:   вперёд

вернуться к списку узлов и деталей

ДЕТАЛИРОВКА ДЛЯ МОДЕЛИ: EVINRUDE E115DGXAFF

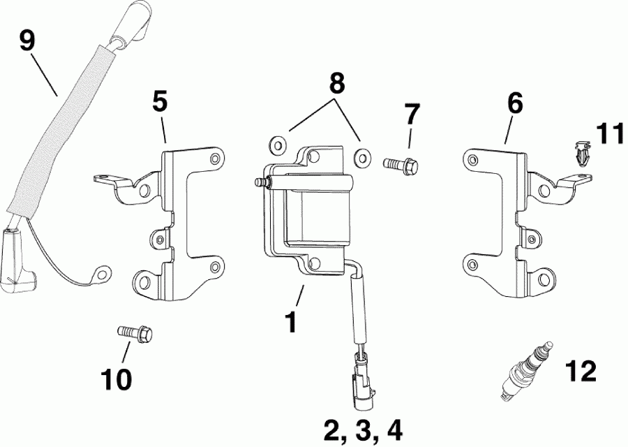
02-5 КАТУШКА ЗАЖИГАНИЯS | 02-5 IGNITION COILS;


Лодочный подвесной мотор Эвинруд E115DGXAFF  - Катушка зажиганияs

Номер на
рисунке
АртикулНаименованиеКол-во
на складе
Цена
1 0586980

Катушка зажигания (IGNITION COIL)

нет в наличии, поставок нет
1 0587275

   (последний код) COIL AY,IGNITION

нет в наличии, поставок нет
2 3011149

*Сальник, Lead (SEAL, Lead)

нет в наличии, поставок нет
3 3011148

*Клемма, Штифт (TERMINAL, Pin)

нет в наличии, поставок нет
4 3011156

*Коннектор, 3 Штифт Клемма (CONNECTOR, 3 pin terminal)

нет в наличии, поставок нет
NS 3011450

Зажим, Катушка зажигания Коннектор to Топливная магистраль (CLIP, Ignition coil connector to fuel rail)

нет в наличии, поставок нет
5 0354055

Кронштейн катушки зажигания Крепление - Port (BRACKET, Ign coil mount - Port)

нет в наличии, поставок нет
6 0354061

Кронштейн катушки зажигания Крепление - Stbd (BRACKET, Ign coil mount - Stbd)

нет в наличии, поставок нет
7 0353545

Винт, Coil to Кронштейн (SCREW, Coil to bracket)

нет в наличии, поставок нет
8 0353540

Шайба, Rubber, ignitioni coil (WASHER, Rubber, ignitioni coil)

нет в наличии, поставок нет
9 5007636

Свеча зажигания LEAD (SPARK PLUG LEAD)

нет в наличии, поставок нет
9 5006759

   (последний код) LEAD AY,H/T-RFI

нет в наличии, поставок нет
10 0315287

Винт, Заземление (SCREW, Ground)

нет в наличии, поставок нет
11 3011292

Зажим инжектора Коннектор to Кронштейн (CLIP, Injector connector to bracket)

нет в наличии, поставок нет
12 5007419

Свеча зажигания - QC10WEP. Refer to Emissions Управление Inдляmation Наклейки (SPARK PLUG - QC10WEP. Refer to Emissions Control Information label)

нет в наличии, поставок нет
12 5007120

   (последний код) Champion 5/14/07 OBSOLETE, REPLACED BY

нет в наличии, поставок нет
evinrude

Время выполнения запроса 1.8821949958801 сек.


 
 

данный сайт носит информационный характер и не является публичной офертой

склад запчастей для водомоторной техники