| |
Все разделы каталога запчастей на этот двигатель
вернуться к списку узлов и деталей ДЕТАЛИРОВКА ДЛЯ МОДЕЛИ: EVINRUDE E150HGXABB
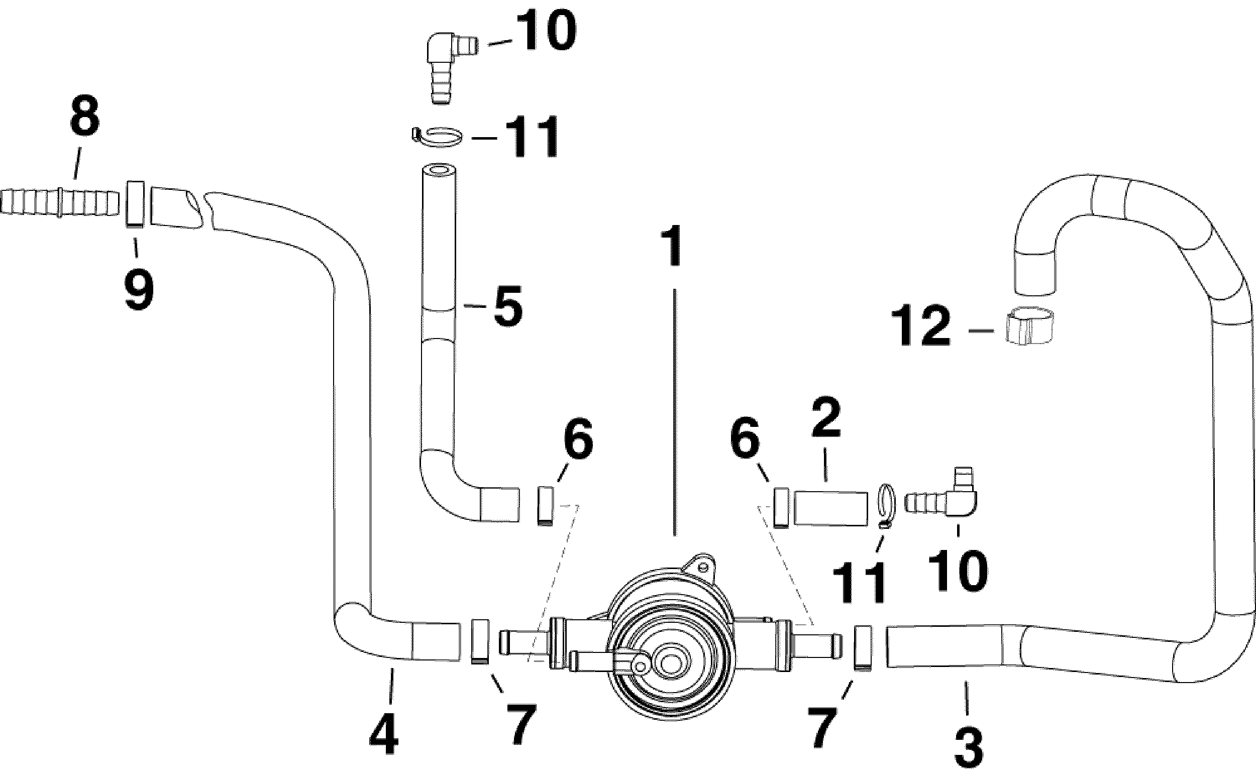
03-2 ЛИФТОВЫЙ ТОПЛИВНЫЙ НАСОС | 03-2 FUEL LIFT PUMP;
Номер на рисунке | Артикул | Наименование | Кол-во на складе | Цена |
| 1 | 5007727 | LIFT Помпа Assembly, Fuel (LIFT PUMP Assembly, Fuel) | нет в наличии, поставок нет |
| 2 | 0351939 | *Шланг, нижний Картер двигателя pulse (HOSE, Lower crankcase pulse) | нет в наличии, поставок нет |
| 3 | 0352828 | *Шланг, Помпа to Фильтр (HOSE, Pump to filter) | нет в наличии, поставок нет |
| 4 | 0353033 | *Шланг, Коннектор to Помпа (HOSE, Connector to pump) | нет в наличии, поставок нет |
| 4 | 0351945 | (последний код) HOSE | нет в наличии, поставок нет |
| 5 | 0772564 | *Шланг, верхний Картер двигателя pulse. 5 / 16 дюйм (8 мм) diaПрибор, Bulk Шланг – 25 фут (7.62 m) (HOSE, Upper crankcase pulse. 5/16 in. (8 mm) diameter, Bulk Hose – 25 ft. (7.62 m)) | нет в наличии, поставок нет |
| 5 | 0338138 | (последний код) HOSE | нет в наличии, поставок нет |
| 6 | 0346786 | *Струбцина, 15.7 мм (CLAMP, 15.7mm) | нет в наличии, поставок нет |
| 7 | 0348839 | *Струбцина, 17 мм (CLAMP, 17mm) | нет в наличии, поставок нет |
| 8 | 0348939 | *Топливный коннектор вход (CONNECTOR, Fuel inlet) | нет в наличии, поставок нет |
| 9 | 0346150 | *Струбцина, 18.5 мм (CLAMP, 18.5mm) | нет в наличии, поставок нет |
| 10 | 0323372 | Ниппель, Топливный насос pulse to Картер двигателя (NIPPLE, Fuel pump pulse to crankcase) | нет в наличии, поставок нет |
| 11 | 0320107 | Крепёжный хомут (TIE STRAP) | нет в наличии, поставок нет |
| 11 | 5035626 | (последний код) BAND,REM CON | нет в наличии, поставок нет |
| 12 | 0348839 | Струбцина, 17 мм - Топливный фильтр (CLAMP, 17mm - fuel filter) | нет в наличии, поставок нет |

Время выполнения запроса 0.51297807693481 сек.
|
|