вконтакте

Контактный телефон: +7 (981) 121-46-93, +7 (800) 200-90-76 , Email: parts-katalog@yandex.ru, где купить

 
 

  Логин:

Пароль:

Регистрация

www.partskatalog.ru Все каталоги Запчасти Mercury Запчасти Suzuki Запчасти Tohatsu Запчасти Honda Контакты



УВАЖАЕМЫЕ КЛИЕНТЫ!
C 31 ОКТЯБРЯ 2025 ПО 10 НОЯБРЯ 2025 ГОДА РАБОТАТЬ НЕ БУДЕМ




Все разделы каталога запчастей на этот двигатель

назад Раздел:   вперёд

вернуться к списку узлов и деталей

ДЕТАЛИРОВКА ДЛЯ МОДЕЛИ: EVINRUDE B4RGL4ABA

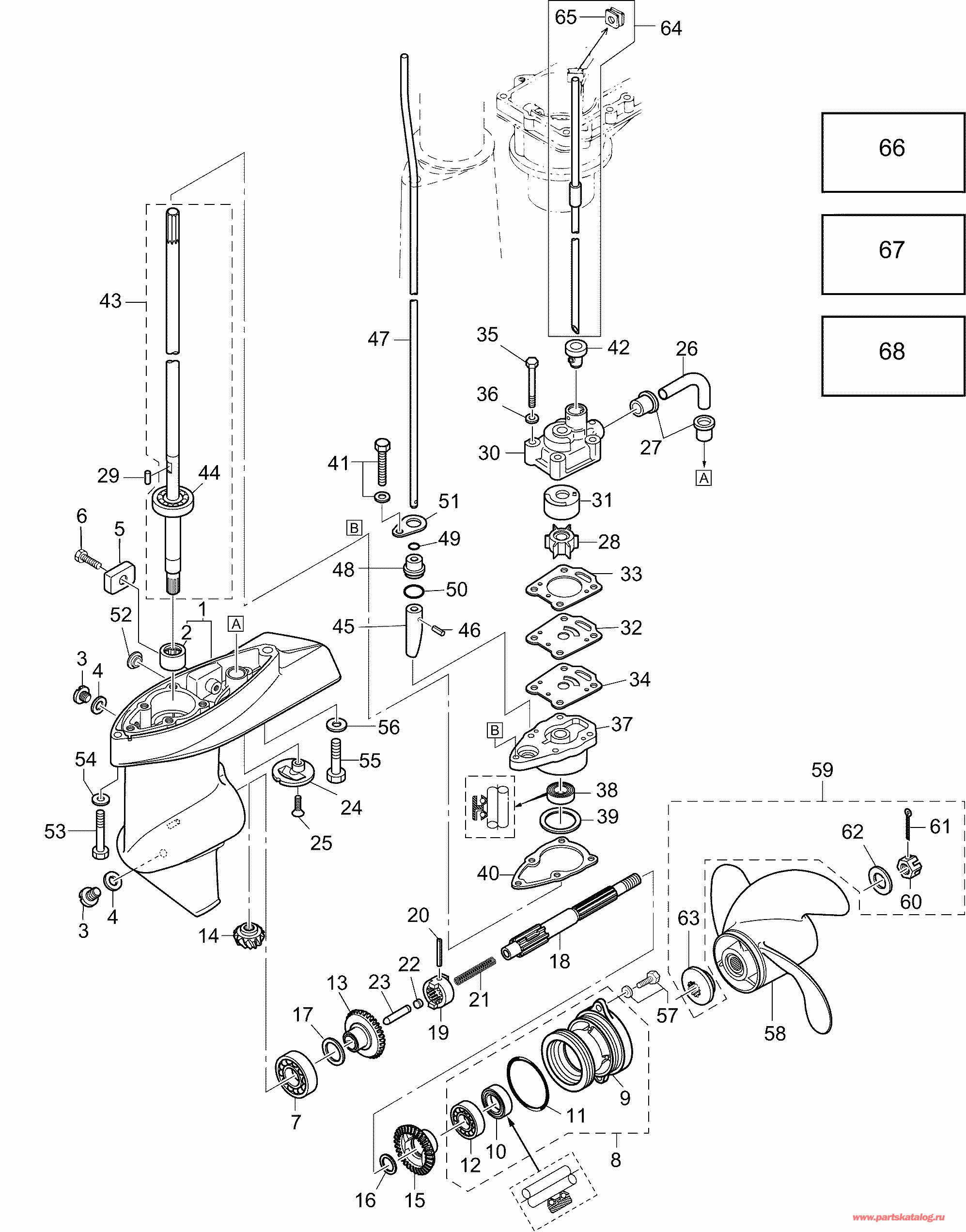
17-1 РЕДУКТОР | 17-1 GEARCASE;


Двигатель Эвинруд B4RGL4ABA  - Редуктор / gearcase

Номер на
рисунке
АртикулНаименованиеКол-во
на складе
Цена
5041821

Редуктор, комплект. 15 дюйм Models. Graphite (Gearcase, Complete. 15 in. Models. Graphite)

нет в наличии, поставок нет
5041822

Редуктор, комплект. 20 дюйм Models. Graphite (Gearcase, Complete. 20 in. Models. Graphite)

нет в наличии, поставок нет
1 5041816

Редуктор Корпус. 15 дюйм Models. Graphite (Gearcase Housing. 15 in. Models. Graphite)

нет в наличии, поставок нет
2 5040145

*Роликовый подшипник 14-20-12 (Roller Bearing 14-20-12)

нет в наличии, поставок нет
3 5040029

Заглушка (Plug)

нет в наличии, поставок нет
4 5040030

Прокладка 8.1-15-1 (Gasket 8.1-15-1)

нет в наличии, поставок нет
5 5041015

Анод (Anode)

нет в наличии, поставок нет
6 5041524

Болт (Bolt)

нет в наличии, поставок нет
7 5041703

Шариковый подшипник 6004 (Ball Bearing 6004)

нет в наличии, поставок нет
8 5041823

Корпус вала гребного винта Assembly. Graphite (Propeller Shaft Housing Assembly. Graphite)

нет в наличии, поставок нет
9 5041817

*Корпус вала гребного винта. Graphite (Propeller Shaft Housing. Graphite)

нет в наличии, поставок нет
10 5040143

*Сальник 15-28-10 (Oil Seal 15-28-10)

нет в наличии, поставок нет
11 5040061

*Уплотнительное кольцо 3.2-47 (O-Ring 3.2-47)

нет в наличии, поставок нет
12 5041702

*Шариковый подшипник 6002 (Ball Bearing 6002)

нет в наличии, поставок нет
13 5040155

Коническая шестерня Assembly (A) (Bevel Gear Assembly (A))

нет в наличии, поставок нет
14 5040158

Коническая шестерня B (Bevel Gear B)

нет в наличии, поставок нет
15 5040159

Коническая шестерня Assembly C (Bevel Gear Assembly C)

нет в наличии, поставок нет
16 5040160

Шайба 15.2-19-1.9 (Washer 15.2-19-1.9)

нет в наличии, поставок нет
17 5040156

Регулировочная шайба 21-28-0.1 (Shim 21-28-0.1)

нет в наличии, поставок нет
17 5040157

Регулировочная шайба 21-28-0.15 (Shim 21-28-0.15)

нет в наличии, поставок нет
18 5040166

Вал гребного винта (Propeller Shaft)

нет в наличии, поставок нет
19 5040007

Сцепление (Clutch)

нет в наличии, поставок нет
20 5040008

Штифт 3.5-28 (Pin 3.5-28)

нет в наличии, поставок нет
21 5040236

Пружина сцепления (Spring Clutch)

нет в наличии, поставок нет
22 5040167

Фиксатор пружины Сцепление (Spring Retainer Clutch)

нет в наличии, поставок нет
23 5040168

Нажимная штанга сцепления (Push Rod Clutch)

нет в наличии, поставок нет
24 5040144

Фильтр грубой очистки воды Sub (Water Strainer Sub)

нет в наличии, поставок нет
25 5041638

Винт (Screw)

нет в наличии, поставок нет
26 5040184

Водяная трубка (нижний ) (Water Pipe (Lower))

нет в наличии, поставок нет
27 5040185

Резиновый сальник нижней водяной трубки (Seal Rubber Water Pipe Lower)

нет в наличии, поставок нет
28 5040180

Крыльчатка водяного насоса (Water Pump Impeller)

нет в наличии, поставок нет
29 5040181

Ключ Помпа Крыльчатка (Key Pump Impeller)

нет в наличии, поставок нет
30 5040176

Верхний корпус помпы (Pump Case (Upper))

нет в наличии, поставок нет
31 5040174

Стакан корпуса помпы (Pump Case Liner)

нет в наличии, поставок нет
32 5040182

Направляющая пластина водяного насоса (Water Pump Guide Plate)

нет в наличии, поставок нет
33 5040178

Прокладка корпуса помпы (Pump Case Gasket)

нет в наличии, поставок нет
34 5040183

Прокладка направляющей пластины (Guide Plate Gasket)

нет в наличии, поставок нет
35 5041584

Болт (Bolt)

нет в наличии, поставок нет
36 5041661

Шайба (Washer)

нет в наличии, поставок нет
37 5040177

Нижний корпус помпы (Pump Case (Lower))

нет в наличии, поставок нет
38 5040147

Сальник 10-24-8 (Oil Seal 10-24-8)

нет в наличии, поставок нет
39 5040161

Регулировочная шайба 28-34.8-0.1 (Shim 28-34.8-0.1)

нет в наличии, поставок нет
39 5040162

Регулировочная шайба 26.5-34.8-0.15 (Shim 26.5-34.8-0.15)

нет в наличии, поставок нет
40 5040179

Нижняя прокладка корпуса помпы (Pump Case Gasket (Lower))

нет в наличии, поставок нет
41 5041534

Болт (Bolt)

нет в наличии, поставок нет
42 5040175

Нижний сальник водяной трубки (Water Pipe Seal (Lower))

нет в наличии, поставок нет
43 5040169

Корпус вала передачи. 15 дюйм Models (Drive Shaft. 15 in. Models)

нет в наличии, поставок нет
43 5040170

Корпус вала передачи. 20 дюйм Models (Drive Shaft. 20 in. Models)

нет в наличии, поставок нет
44 5041705

*Шариковый подшипник 6300 (Ball Bearing 6300)

нет в наличии, поставок нет
45 5040191

Кулачок сцепления (Clutch Cam)

нет в наличии, поставок нет
46 5041691

Стопор пружины 3-10 (Spring Pin 3-10)

нет в наличии, поставок нет
47 5040192

Кулачок штанги. 15 дюйм Models (Cam Rod. 15 in. Models)

нет в наличии, поставок нет
47 5040193

Кулачок штанги. 20 дюйм Models (Cam Rod. 20 in. Models)

нет в наличии, поставок нет
48 5040196

Втулка кулачка штанги (Cam Rod Bushing)

нет в наличии, поставок нет
49 5040195

Уплотнительное кольцо A 2.5-4.9 (O-Ring A 2.5-4.9)

нет в наличии, поставок нет
50 5040036

Уплотнительное кольцо 2.4-15.4 (O-Ring 2.4-15.4)

нет в наличии, поставок нет
51 5040197

Стопор Com Тяга Втулка (Stopper Com Rod Bushing)

нет в наличии, поставок нет
52

Not used on BRP Двигатель models (Not used on BRP engine models)

нет в наличии, поставок нет
53 5041584

Болт (Bolt)

нет в наличии, поставок нет
54 5041668

Шайба (Washer)

нет в наличии, поставок нет
55 5041587

Болт (Bolt)

нет в наличии, поставок нет
56 5041669

Шайба (Washer)

нет в наличии, поставок нет
57 5041559

Болт (Bolt)

нет в наличии, поставок нет
58 765540

Гребной винт (Aluminum) 3 blade, 7.8 дюйм diaПрибор x 7 in pitch. стандарт: 4 HP (Propeller (Aluminum). 3 blade, 7.8 in. diameter x 7 in pitch. Standard: 4 HP)

нет в наличии, поставок нет
58 766541

Гребной винт (Aluminum) 3 blade, 7.8 дюйм diaПрибор x 8 in pitch. стандарт: 6 HP (Propeller (Aluminum). 3 blade, 7.8 in. diameter x 8 in pitch. Standard: 6 HP)

нет в наличии, поставок нет
58 766542

Гребной винт (Aluminum) 3 blade, 7.8 дюйм diaПрибор x 9 in pitch (Propeller (Aluminum). 3 blade, 7.8 in. diameter x 9 in pitch)

нет в наличии, поставок нет
59 5041052

Комплект приналежностей для установки гребного винта (Propeller Hardware Kit)

нет в наличии, поставок нет
60 5040164

*Гайка гребного винта (Propeller Nut)

нет в наличии, поставок нет
61 5041695

*Шплинт 3-18 (Split Pin 3-18)

нет в наличии, поставок нет
62 5040165

*Шайба 10.5-28-2 (Washer 10.5-28-2)

нет в наличии, поставок нет
63 5040497

*Упорная шайба Assembly (Thrust Holder Assembly)

нет в наличии, поставок нет
64 5040186

Водяная трубка. 15 дюйм Models (Water Pipe. 15 in. Models)

нет в наличии, поставок нет
64 5040187

Водяная трубка. 20 дюйм Models (Water Pipe. 20 in. Models)

нет в наличии, поставок нет
65 5040189

*Пыльник Водяная трубка (Grommet Water Pipe)

нет в наличии, поставок нет
66 5040224

Ремкомплект водяного насоса (Water Pump Repair Kit)

нет в наличии, поставок нет
67 5040190

Комплект водяного насоса (хромированный) (Water Pump Kit (Chrome Plated))

нет в наличии, поставок нет
68 5040223

Комплект прокладок ноги двигателя (Lower Unit Gasket Set)

нет в наличии, поставок нет
evinrude

Время выполнения запроса 3.6441910266876 сек.


 
 

данный сайт носит информационный характер и не является публичной офертой

склад запчастей для водомоторной техники