вконтакте

Контактный телефон: +7 (981) 121-46-93, +7 (800) 200-90-76 , Email: parts-katalog@yandex.ru, где купить

 
 

  Логин:

Пароль:

Регистрация

www.partskatalog.ru Все каталоги Запчасти Mercury Запчасти Suzuki Запчасти Tohatsu Запчасти Honda Контакты



УВАЖАЕМЫЕ КЛИЕНТЫ!
C 19 ДЕКАБРЯ 2025 ПО 02 МАРТА 2026 ГОДА ОТДЕЛ ЗАПЧАСТЕЙ И СЕРВИС РАБОТАТЬ НЕ БУДУТ
ПРОДАЖА ЛОДОЧНЫХ МОТОРОВ В ШТАТНОМ РЕЖИМЕ
ОБ ИЗМЕНЕНИЯХ В ГРАФИКЕ РАБОТЫ ЧИТАЙТЕ НА САЙТА




Все разделы каталога запчастей на этот двигатель

назад Раздел:  

вернуться к списку узлов и деталей

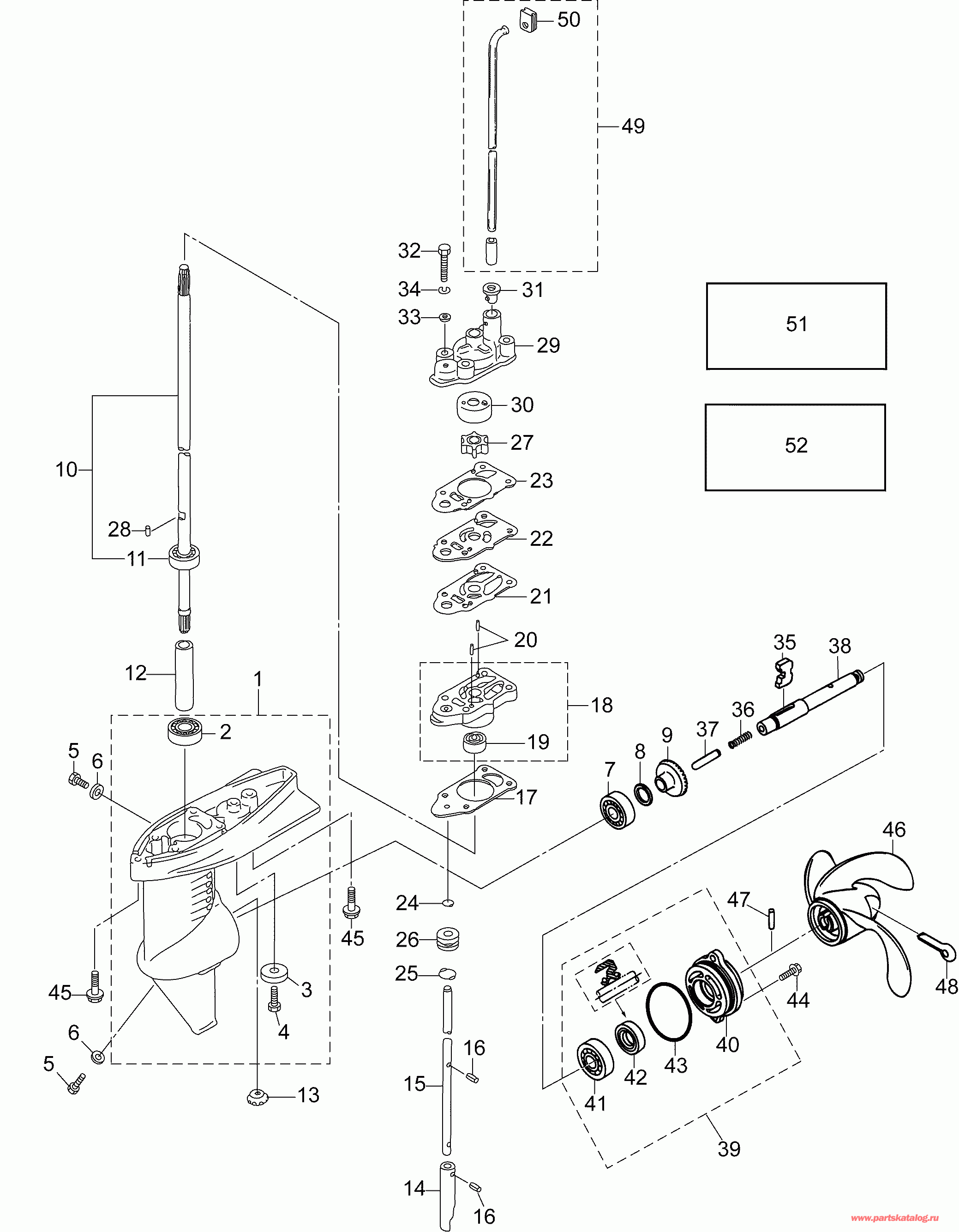
ДЕТАЛИРОВКА ДЛЯ МОДЕЛИ: EVINRUDE B3R4AAA

17-1 РЕДУКТОР | 17-1 GEARCASE;


Лодочный мотор Evinrude B3R4AAA  - gearcase

Номер на
рисунке
АртикулНаименованиеКол-во
на складе
Цена
1 5040752

Редуктор в сбореEMBLY (GEAR CASE ASSEMBLY)

нет в наличии, поставок нет
2 5040406

* Шариковый подшипник 6000 ( BALL BEARING 6000)

нет в наличии, поставок нет
3 5040052

* Анод ( ANODE)

нет в наличии, поставок нет
4 5041524

* Болт ( BOLT)

нет в наличии, поставок нет
5 5040029

Заглушка (PLUG)

нет в наличии, поставок нет
6 5040030

Прокладка 8.1-15-1 (Gasket 8.1-15-1)

нет в наличии, поставок нет
7 5041703

Шариковый подшипник 6004 (BALL BEARING 6004)

нет в наличии, поставок нет
8 5040156

Регулировочная шайба 21-28-0.1 (Shim 21-28-0.1)

нет в наличии, поставок нет
8 5040157

Регулировочная шайба 21-28-0.15 (Shim 21-28-0.15)

нет в наличии, поставок нет
9 5040155

Коническая шестерня в сборе (A) (BEVEL GEAR ASSY (A))

нет в наличии, поставок нет
10 5040417

Корпус вала передачи ASSEMBLY. R Models (15 дюйм sha футов) (DRIVE SHAFT ASSEMBLY. R Models (15 in. shaft))

нет в наличии, поставок нет
11 5040406

* Шариковый подшипник 6000 ( BALL BEARING 6000)

нет в наличии, поставок нет
12 5040814

Проставка 10.1-15-72 (Spacer 10.1-15-72)

нет в наличии, поставок нет
13 5040158

Коническая шестерня B (BEVEL GEAR B)

нет в наличии, поставок нет
14 5040821

Кулачок сцепления (CLUTCH CAM)

нет в наличии, поставок нет
15 5040822

Кулачок штанги. R Models (15 дюйм sha футов) (CAM ROD. R Models (15 in. shaft))

нет в наличии, поставок нет
16 5041690

Стопор пружины 3-8 (SPRING PIN 3-8)

нет в наличии, поставок нет
17 5040818

Нижняя прокладка корпуса помпы (PUMP CASE GASKET (LOWER))

нет в наличии, поставок нет
18 5040942

Корпус помпы (нижний ) (PUMP CASE ASSY (LOWER))

нет в наличии, поставок нет
19 5040807

* Сальник 10-22-8 ( OIL SEAL 10-22-8)

нет в наличии, поставок нет
20 5040526

Ключ Помпа Крыльчатка (KEY PUMP IMPELLER)

нет в наличии, поставок нет
21 5040819

Прокладка направляющей пластины (GUIDE PLATE GASKET)

нет в наличии, поставок нет
22 5040418

Направляющая пластина водяного насоса (WATER PUMP GUIDE PLATE)

нет в наличии, поставок нет
23 5040817

Прокладка корпуса помпы (PUMP CASE GASKET)

нет в наличии, поставок нет
24 5040195

Уплотнительное кольцо A 2.5-4.9 (O-Ring A 2.5-4.9)

нет в наличии, поставок нет
25 5040009

Уплотнительное кольцо 2.4-9.5 (O-Ring 2.4-9.5)

нет в наличии, поставок нет
26 5040823

Втулка кулачка штанги (CAM ROD BUSHING)

нет в наличии, поставок нет
27 5040180

Крыльчатка водяного насоса (WATER PUMP IMPELLER)

нет в наличии, поставок нет
28 5040181

Ключ Помпа Крыльчатка (Key Pump Impeller)

нет в наличии, поставок нет
29 5040816

Верхний корпус помпы (PUMP CASE (UPPER))

нет в наличии, поставок нет
30 5040815

Стакан корпуса помпы (PUMP CASE LINER)

нет в наличии, поставок нет
31 5040820

Пыльник Водяная трубка нижний (Grommet Water Tube Lower)

нет в наличии, поставок нет
32 5041584

Болт (BOLT)

нет в наличии, поставок нет
33 5041661

Шайба (WASHER)

нет в наличии, поставок нет
34 5041675

Пружинная шайба (SPRING WASHER)

нет в наличии, поставок нет
35 5040811

Сцепление (CLUTCH)

нет в наличии, поставок нет
36 5040812

Пружина сцепления (Spring Clutch)

нет в наличии, поставок нет
37 5040813

Нажимная штанга сцепления (Push Rod Clutch)

нет в наличии, поставок нет
38 5040810

Вал гребного винта (PROPELLER SHAFT)

нет в наличии, поставок нет
39 5040827

Корпус вала гребного винта ASSEMBLY (PROPELLER SHAFT HOUSING ASSEMBLY)

нет в наличии, поставок нет
40 5040826

* Корпус вала гребного винта ( PROPELLER SHAFT HOUSING)

нет в наличии, поставок нет
41 5041701

* Шариковый подшипник 6001 ( BALL BEARING 6001)

нет в наличии, поставок нет
42 5040015

* Сальник 12-24-8 ( Oil Seal 12-24-8)

нет в наличии, поставок нет
43 5040061

* Уплотнительное кольцо 3.2-47 ( O-Ring 3.2-47)

нет в наличии, поставок нет
44 5041560

Болт (BOLT)

нет в наличии, поставок нет
45 5040404

Болт (BOLT)

нет в наличии, поставок нет
46 5040809

Гребной винт (7") (пластиковый) пластиковый (стандарт) (PROPELLER (7") (Plastic). Plastic (Standard))

нет в наличии, поставок нет
46 5040825

Гребной винт (6") (Alminium) Aluminum (PROPELLER (6") (Alminium). Aluminum)

нет в наличии, поставок нет
46 5040021

Гребной винт (6") (пластиковый) пластиковый (PROPELLER (6") (Plastic). Plastic)

нет в наличии, поставок нет
46 5040026

Гребной винт (4.5") (пластиковый) Aluminum (PROPELLER (4.5") (Plastic). Aluminum)

нет в наличии, поставок нет
47 5040022

Срезная шпилька 4-24 (Shear Pin 4-24)

нет в наличии, поставок нет
48 5041697

Шплинт 4-35 (SPLIT PIN 4-35)

нет в наличии, поставок нет
49 5040420

Водяная трубка ASSEMBLY. R Models (15 дюйм sha футов) (WATER PIPE ASSEMBLY. R Models (15 in. shaft))

нет в наличии, поставок нет
50 5040419

* Пыльник, Водяная трубка верхний ( GROMMET, Water Pipe Upper)

нет в наличии, поставок нет
51 5040824

Комплект прокладок ноги двигателя (LOWER UNIT GASKET SET)

нет в наличии, поставок нет
52 5040434

Ремкомплект водяного насоса (WATER PUMP REPAIR KIT)

нет в наличии, поставок нет
NS 5040048

FLUSHING ADAPTER. Опции Accessory (FLUSHING ADAPTER. Optional Accessory)

нет в наличии, поставок нет
NS 5041791

   (последний код) FLUSH ADAPTER

нет в наличии, поставок нет
evinrude

Время выполнения запроса 5.5585198402405 сек.


 
 

данный сайт носит информационный характер и не является публичной офертой

склад запчастей для водомоторной техники