вконтакте

Контактный телефон: +7 (981) 121-46-93, +7 (800) 200-90-76 , Email: parts-katalog@yandex.ru, где купить

 
 

  Логин:

Пароль:

Регистрация

www.partskatalog.ru Все каталоги Запчасти Mercury Запчасти Suzuki Запчасти Tohatsu Запчасти Honda Контакты



УВАЖАЕМЫЕ КЛИЕНТЫ!
C 31 ОКТЯБРЯ 2025 ПО 10 НОЯБРЯ 2025 ГОДА РАБОТАТЬ НЕ БУДЕМ




Все разделы каталога запчастей на этот двигатель

назад Раздел:   вперёд

вернуться к списку узлов и деталей

ДЕТАЛИРОВКА ДЛЯ МОДЕЛИ: EVINRUDE B3R4AAB

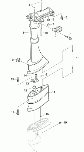
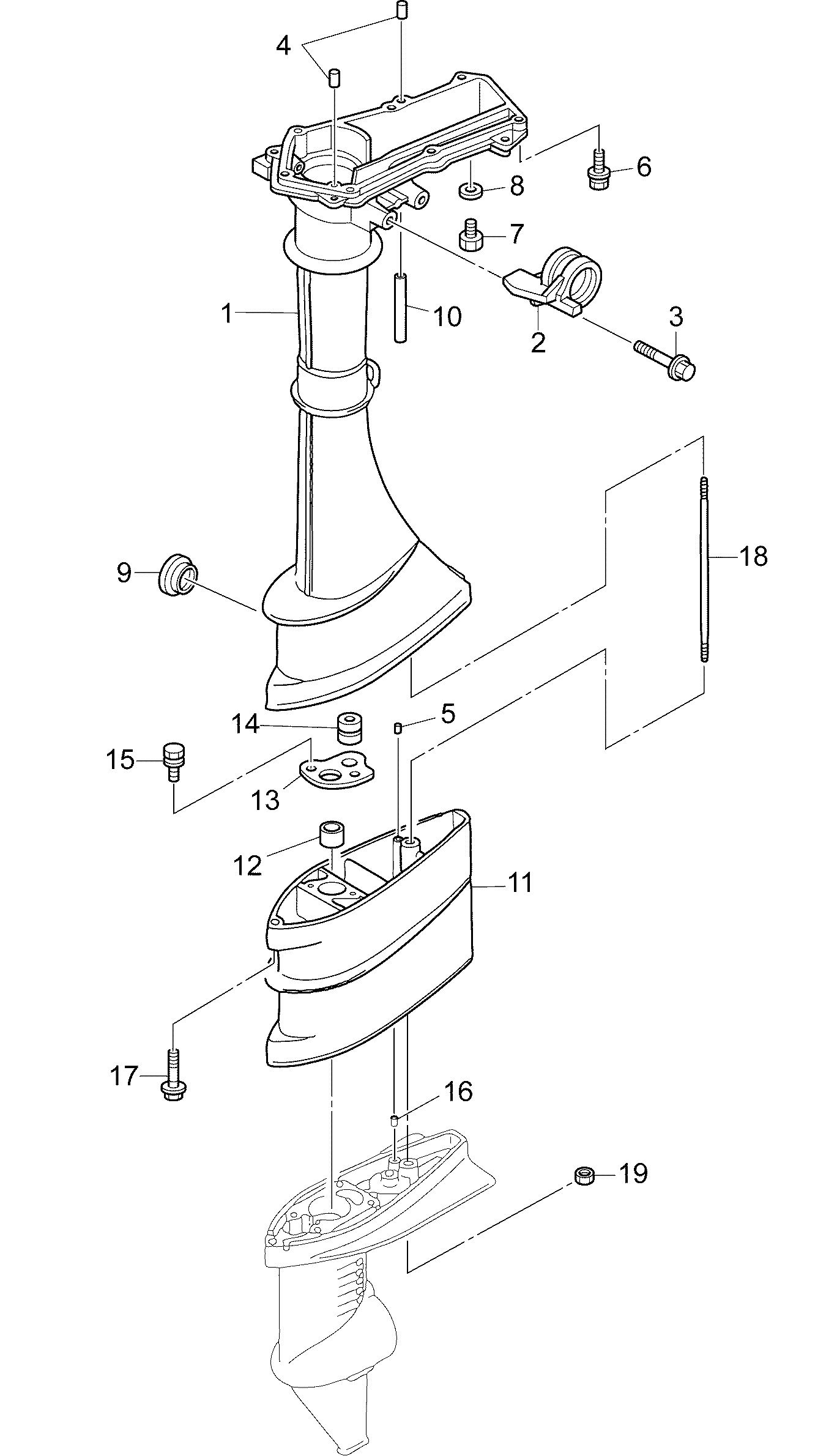
16-0 КОРПУС ВАЛА ПЕРЕДАЧИ | 16-0 DRIVESHAFT HOUSING;


Лодочный мотор Эвинруд B3R4AAB  - Корпус вала передачи / driveshaft Housing

Номер на
рисунке
АртикулНаименованиеКол-во
на складе
Цена
1 5040439

Корпус вала передачи, в сбореEMBLY. R Models (15 дюйм sha футов) (DRIVE SHAFT HOUSING ASSEMBLY. R Models (15 in. shaft))

нет в наличии, поставок нет
2 5040441

Кронштейн рулевого управления (STEERING BRACKET)

нет в наличии, поставок нет
3 5041570

Болт (BOLT)

нет в наличии, поставок нет
4 5040056

Шпонка 6-12 (DOWEL PIN 6-12)

нет в наличии, поставок нет
5 5040371

Шпонка 6-12 (DOWEL PIN 6-12)

нет в наличии, поставок нет
6 5041562

Болт (BOLT)

нет в наличии, поставок нет
7 5041578

Болт (BOLT)

нет в наличии, поставок нет
8 5040030

Прокладка 8.1-15-1 (Gasket 8.1-15-1)

нет в наличии, поставок нет
9 5040148

Пыльник 29.3 (GROMMET 29.3)

нет в наличии, поставок нет
10 5041711

Шланг (HOSE)

нет в наличии, поставок нет
11 5040440

Удлинитель корпуса. Extends Вал length to 20 дюйм (EXTENSION HOUSING. Extends shaft length to 20 in.)

нет в наличии, поставок нет
12 5040405

Втулка корпуса вала передачи. Use with extention kit (DRIVE SHAFT BUSHING. Use with extention kit)

нет в наличии, поставок нет
13

Стопор Втулка. Use with extention kit (STOPPER BUSHING. Use with extention kit)

нет в наличии, поставок нет
14 5040002

Пыльник 13-2. Use with extention kit (Grommet 13-2. Use with extention kit)

нет в наличии, поставок нет
15 5041557

Болт. Use with extention kit (BOLT. Use with extention kit)

нет в наличии, поставок нет
15 5041530

   (последний код) BOLT

нет в наличии, поставок нет
16 5040371

Шпонка 6-12. Use with extention kit (DOWEL PIN 6-12. Use with extention kit)

нет в наличии, поставок нет
17 5040404

Болт. Use with extention kit (BOLT. Use with extention kit)

нет в наличии, поставок нет
18

Стержневой болт. Use with extention kit (STUD Bolt. Use with extention kit)

нет в наличии, поставок нет
19 5041649

Гайка. Use with extention kit (NUT. Use with extention kit)

нет в наличии, поставок нет
evinrude

Время выполнения запроса 1.5564908981323 сек.


 
 

данный сайт носит информационный характер и не является публичной офертой

склад запчастей для водомоторной техники