вконтакте

Контактный телефон: +7 (981) 121-46-93, +7 (800) 200-90-76 , Email: parts-katalog@yandex.ru, где купить

 
 

  Логин:

Пароль:

Регистрация

www.partskatalog.ru Все каталоги Запчасти Mercury Запчасти Suzuki Запчасти Tohatsu Запчасти Honda Контакты


Все разделы каталога запчастей на этот двигатель

назад Раздел:   вперёд

вернуться к списку узлов и деталей

ДЕТАЛИРОВКА ДЛЯ МОДЕЛИ: EVINRUDE E115DPLSEF

МАСЛЯНЫЙ НАСОС | OIL PUMP;


Подвесной мотор EVINRUDE E115DPLSEF  - l Помпа

Номер на
рисунке
АртикулНаименованиеКол-во
на складе
Цена
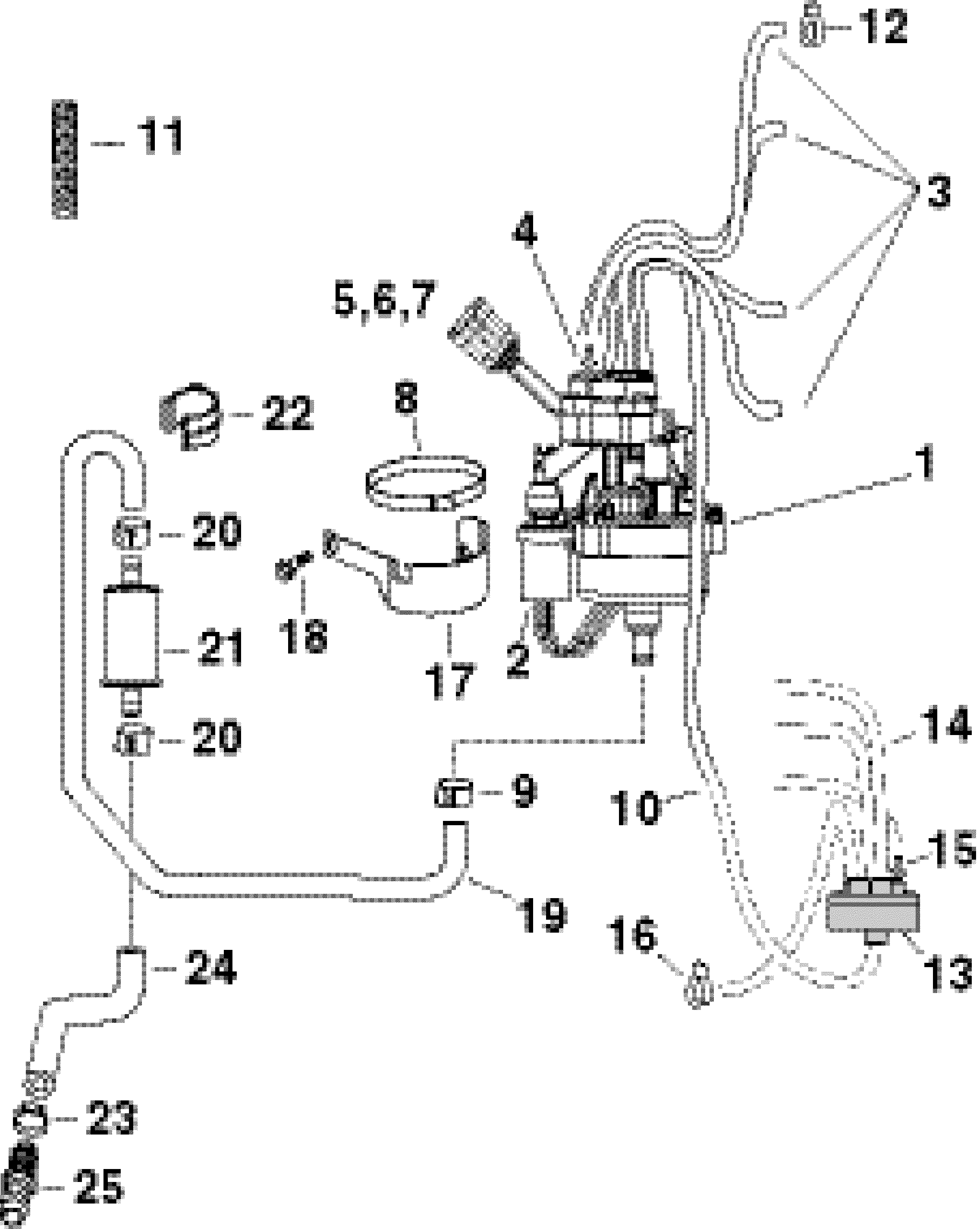
1 5007848

Масляный насос (OIL PUMP)

нет в наличии, поставок нет
1 5007743

   (последний код) PUMP AY, OIL

нет в наличии, поставок нет
2 0586860

*Датчик (SENSOR)

нет в наличии, поставок нет
3 0778708

*Масляный шланг (093in. - Bulk Roll 25 фут) - 12". 12 дюйм (305 мм) (HOSE, Oil (.093in. - Bulk Roll 25 ft.) - 12". 12 in. (305mm))

нет в наличии, поставок нет
3 0776892

   (последний код) HOSE

нет в наличии, поставок нет
4 0349898

*SвышеPORT, Oil sвышеply Шланг (SUPPORT, Oil supply hose)

нет в наличии, поставок нет
5 3011148

*Контакт ПАПА (CONTACT, Male tab)

нет в наличии, поставок нет
6 3011149

*Сальник провода (SEAL, Wire)

нет в наличии, поставок нет
7 3011267

*Коннектор, 5 Position Колпачок (CONNECTOR, 5 Position cap)

нет в наличии, поставок нет
8 0352959

Струбцина, Помпа to Кронштейн (CLAMP, Pump to bracket)

нет в наличии, поставок нет
9 0346785

Струбцина, 14.5 мм (CLAMP, 14.5mm)

нет в наличии, поставок нет
NS 0320107

*Крепёжный хомут, Датчик to Корпус (TIE STRAP, Sensor to housing)

нет в наличии, поставок нет
NS 5035626

   (последний код) BAND,REM CON

нет в наличии, поставок нет
10 0352949

*Шланг, Масляный насос to rear Коллектор - 32" (HOSE, Oil pump to rear manifold - 32")

нет в наличии, поставок нет
11 0512937

*Гильза, Braided - 10" (SLEEVE, Braided - 10")

нет в наличии, поставок нет
11 0508363

*Гильза, Braided - 28". Bulk roll (SLEEVE, Braided - 28". Bulk roll)

нет в наличии, поставок нет
12 0320107

Крепёжный хомут, Шланг to Картер двигателя fittings (TIE STRAP, Hose to crankcase fittings)

нет в наличии, поставок нет
12 5035626

   (последний код) BAND,REM CON

нет в наличии, поставок нет
13 5007094

Коллектор, Rear oil distribution (MANIFOLD, Rear oil distribution)

нет в наличии, поставок нет
13 5008121

   (последний код) MANIFOLD AY,OIL

нет в наличии, поставок нет
14 0778708

Шланг, Rear Коллектор to fittings. 32 дюйм (813 мм) (HOSE, Rear manifold to fittings. 32 in. (813mm))

нет в наличии, поставок нет
14 0776892

   (последний код) HOSE

нет в наличии, поставок нет
15 0349898

SвышеPORT, Шланг to Коллектор top (SUPPORT, Hose to manifold top)

нет в наличии, поставок нет
16 0317893

Крепёжный хомут, Шланг to fitting (TIE STRAP, Hose to fitting)

нет в наличии, поставок нет
16 3852149

   (последний код) TIE-STRAP

нет в наличии, поставок нет
17 0352912

Кронштейн, Масляный насос to Дроссель газа (BRACKET, Oil pump to throttle body)

нет в наличии, поставок нет
18 0329217

Винт, Помпа Кронштейн Струбцина (SCREW, Pump bracket clamp)

нет в наличии, поставок нет
18 0333707

   (последний код) SCREW

нет в наличии, поставок нет
19 0352660

Шланг, Масляный фильтр to Помпа (HOSE, Oil filter to pump)

нет в наличии, поставок нет
20 0346786

Струбцина, 17.0 mm (CLAMP, 17.0 mm)

нет в наличии, поставок нет
21 5004958

Масляный фильтр (OIL FILTER)

нет в наличии, поставок нет
22 0351783

Фиксатор, Масляный фильтр to Дроссель газа (RETAINER, Oil filter to throttle body)

нет в наличии, поставок нет
23 0346785

Струбцина, 14.5 мм (CLAMP, 14.5mm)

нет в наличии, поставок нет
24 0352659

Масляный шланг вход to Фильтр (HOSE, Oil inlet to filter)

нет в наличии, поставок нет
25 0349008

Коннектор, Oil sвышеply (CONNECTOR, Oil supply)

нет в наличии, поставок нет
NS 0353783

Заглушка, Oil Коллектор (PLUG, Oil manifold)

нет в наличии, поставок нет
NS 0352972

Гильза, Коллектор to Топливный насос (SLEEVE, Manifold to fuel pump)

нет в наличии, поставок нет
NS 0907833

Крепёжный хомут, Коллектор to Помпа (TIE STRAP, Manifold to pump)

нет в наличии, поставок нет
NS 3852423

   (последний код) TIE STRAP /907833

нет в наличии, поставок нет
NS 0320107

Крепёжный хомут, Oil lines (TIE STRAP, Oil lines)

нет в наличии, поставок нет
NS 5035626

   (последний код) BAND,REM CON

нет в наличии, поставок нет
evinrude

Время выполнения запроса 0.52762794494629 сек.


 
 

данный сайт носит информационный характер и не является публичной офертой

склад запчастей для водомоторной техники