вконтакте

Контактный телефон: +7 (981) 121-46-93, +7 (800) 200-90-76 , Email: parts-katalog@yandex.ru, где купить

 
 

  Логин:

Пароль:

Регистрация

www.partskatalog.ru Все каталоги Запчасти Mercury Запчасти Suzuki Запчасти Tohatsu Запчасти Honda Контакты


Все разделы каталога запчастей на этот двигатель

назад Раздел:   вперёд

вернуться к списку узлов и деталей

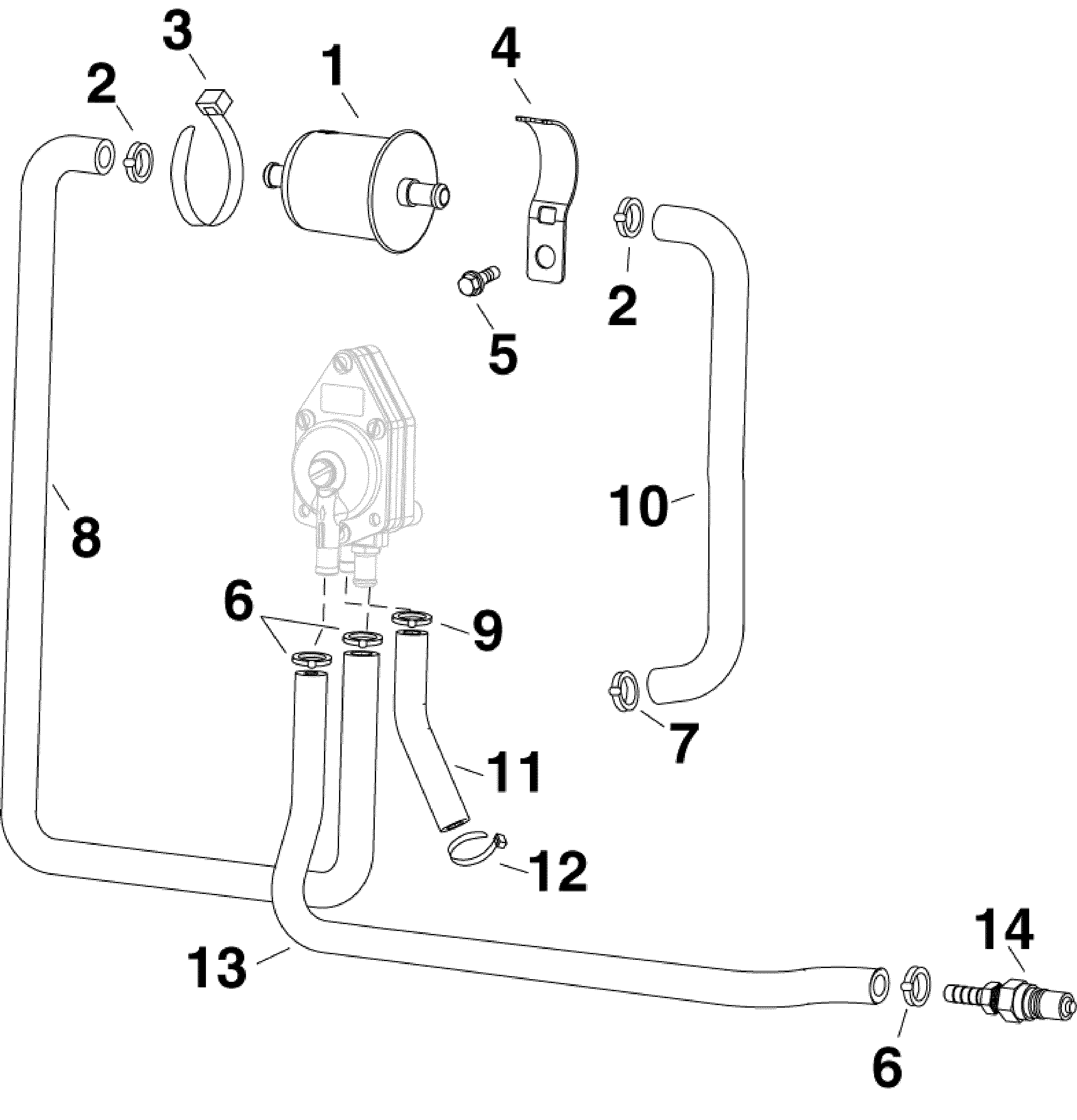
ДЕТАЛИРОВКА ДЛЯ МОДЕЛИ: EVINRUDE E55MJRLSEF

ТОПЛИВНЫЙ ФИЛЬТР | FUEL FILTER;


 EVINRUDE E55MJRLSEF  - el Фильтр - el Filter

Номер на
рисунке
АртикулНаименованиеКол-во
на складе
Цена
1 5007335

Топливный фильтр (FILTER, Fuel)

нет в наличии, поставок нет
1 5007326

   (последний код) FILTER&HSG AY,FUEL

нет в наличии, поставок нет
2 0346150

*Шланг Струбцина, 18.5 мм (HOSE CLAMP, 18.5mm)

нет в наличии, поставок нет
3 0907833

*Крепёжный хомут, Топливный фильтр to Струбцина (TIE STRAP, Fuel filter to clamp)

нет в наличии, поставок нет
3 3852423

   (последний код) TIE STRAP /907833

нет в наличии, поставок нет
4 0351009

Струбцина топливного фильтра to C / C (CLAMP, Fuel filter to C/C)

нет в наличии, поставок нет
5 0319590

Винт, Топливный фильтр Струбцина to C / C (SCREW, Fuel filter clamp to C/C)

нет в наличии, поставок нет
5 3855227

   (последний код) SCREW

нет в наличии, поставок нет
6 0346150

Шланг Струбцина, 18.5 мм (HOSE CLAMP, 18.5mm)

нет в наличии, поставок нет
7 0348839

Шланг Струбцина, 17 мм (HOSE CLAMP, 17mm)

нет в наличии, поставок нет
8 0350792

Топливный шланг Помпа to Топливный фильтр (HOSE, Fuel pump to fuel filter)

нет в наличии, поставок нет
9 0346785

Шланг Струбцина, Помпа pulse (14.5 мм) (HOSE CLAMP, Pump pulse (14.5mm))

нет в наличии, поставок нет
10 0355122

Топливный шланг Фильтр to Пароотделитель (HOSE, Fuel filter to vapor separator)

нет в наличии, поставок нет
10 0352271

   (последний код) HOSE

нет в наличии, поставок нет
11 0772572

Топливный шланг pulse (1 / 4in. - Bulk Roll 25 фут) (HOSE, Fuel pulse (1/4in. - Bulk Roll 25 ft.))

нет в наличии, поставок нет
11 5030566

   (последний код) HOSE, FUEL SYSTM

нет в наличии, поставок нет
12 0320107

Крепёжный хомут, Топливный насос pulse Шланг (TIE STRAP, Fuel pump pulse hose)

нет в наличии, поставок нет
12 5035626

   (последний код) BAND,REM CON

нет в наличии, поставок нет
13 0353515

Шланг, Коннектор to Топливный насос (HOSE, Connector to fuel pump)

нет в наличии, поставок нет
14 5006348

Топливный коннектор вход (CONNECTOR, Fuel inlet)

нет в наличии, поставок нет
NS 0320107

Крепёжный хомут, Топливный шлангs (TIE STRAP, Fuel hoses)

нет в наличии, поставок нет
NS 5035626

   (последний код) BAND,REM CON

нет в наличии, поставок нет
evinrude

Время выполнения запроса 0.51367616653442 сек.


 
 

данный сайт носит информационный характер и не является публичной офертой

склад запчастей для водомоторной техники