вконтакте

Контактный телефон: +7 (981) 121-46-93, +7 (800) 200-90-76 , Email: parts-katalog@yandex.ru, где купить

 
 

  Логин:

Пароль:

Регистрация

www.partskatalog.ru Все каталоги Запчасти Mercury Запчасти Suzuki Запчасти Tohatsu Запчасти Honda Контакты



УВАЖАЕМЫЕ КЛИЕНТЫ!
C 19 ДЕКАБРЯ 2025 ПО 02 МАРТА 2026 ГОДА ОТДЕЛ ЗАПЧАСТЕЙ И СЕРВИС РАБОТАТЬ НЕ БУДУТ
ПРОДАЖА ЛОДОЧНЫХ МОТОРОВ В ШТАТНОМ РЕЖИМЕ
ОБ ИЗМЕНЕНИЯХ В ГРАФИКЕ РАБОТЫ ЧИТАЙТЕ НА САЙТА




Все разделы каталога запчастей на этот двигатель

назад Раздел:   вперёд

вернуться к списку узлов и деталей

ДЕТАЛИРОВКА ДЛЯ МОДЕЛИ: EVINRUDE E60WDRLSOS

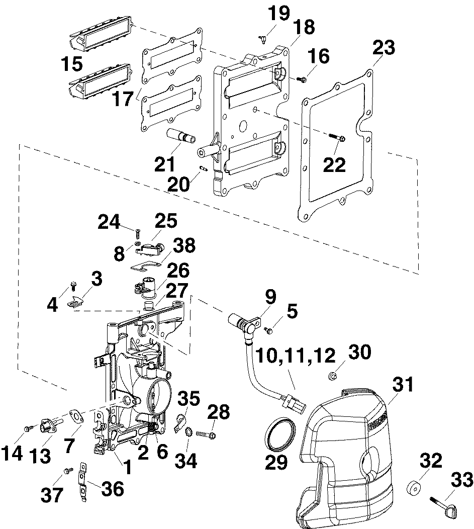
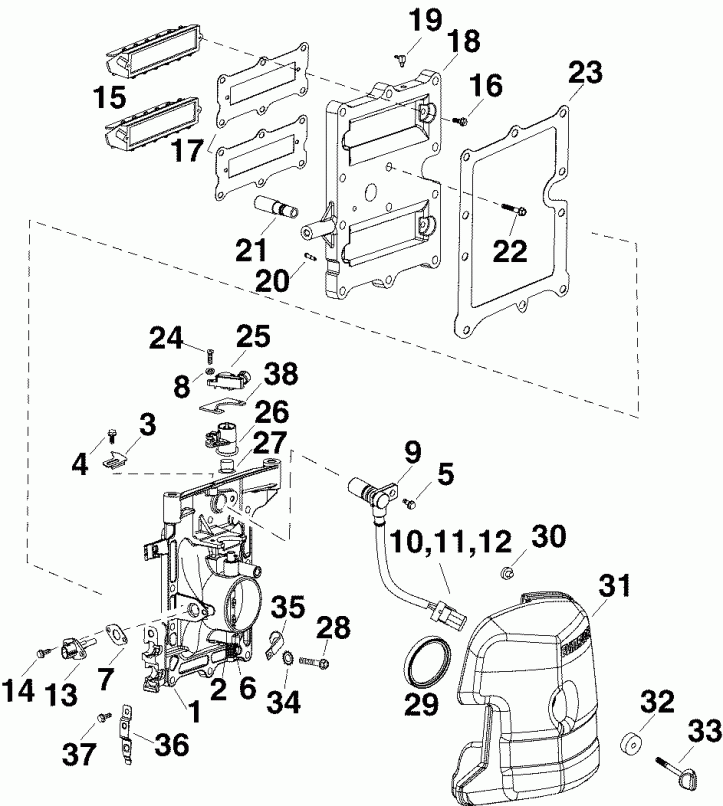
ДРОССЕЛЬ ГАЗА & ВПУСКНОЙ КОЛЛЕКТОР | THROTTLE BODY & INTAKE MANIFOLD;


Лодочный мотор Эвинруд E60WDRLSOS  - rottle Корпус & Впускной коллектор / rottle Body & Intake Manifold

Номер на
рисунке
АртикулНаименованиеКол-во
на складе
Цена
1 5005149

Дроссель газа в сборе (THROTTLE BODY Assy)

нет в наличии, поставок нет
1 5006454

   (последний код) BODY AY,THROTTLE

нет в наличии, поставок нет
2 0328765

*Зажим, Вал дросселя to Дроссель газа (CLIP, Throttle shaft to throttle body)

нет в наличии, поставок нет
3 0350649

*POINTER, Timing (POINTER, Timing)

нет в наличии, поставок нет
4 0332226

*Винт, Timing pointer (SCREW, Timing pointer)

нет в наличии, поставок нет
4 3852207

   (последний код) SCREW

нет в наличии, поставок нет
5 0332226

*Винт, CPS (SCREW, CPS)

нет в наличии, поставок нет
5 3852207

   (последний код) SCREW

нет в наличии, поставок нет
6 0351752

*Пружина, Дроссель return. New для 2005 (SPRING, Throttle return. New for 2005)

нет в наличии, поставок нет
7 0350805

*Прокладка, Air температура Датчик (GASKET, Air temperature sensor)

нет в наличии, поставок нет
8 0309776

*Шайба с блокировкой, TPS Винт (LOCK WASHER, TPS screw)

нет в наличии, поставок нет
8 0342286

   (последний код) WASHER,LOCK

нет в наличии, поставок нет
9 0586785

*Датчик положения коленвала (CPS) (SENSOR, Crankshaft position (CPS))

нет в наличии, поставок нет
9 0587014

   (последний код) SENSOR AY, CPS

нет в наличии, поставок нет
10 3011148

**CONTACT TAB (CONTACT TAB)

нет в наличии, поставок нет
11 3011149

**Сальник провода (SEAL, Wire)

нет в наличии, поставок нет
12 3011156

**Коннектор, 3 position (CONNECTOR, 3 position)

нет в наличии, поставок нет
13 3010673

*Датчик, Air температура (SENSOR, Air temperature)

нет в наличии, поставок нет
14 0332226

*Винт датчика температуры (SCREW, Air temperature sensor)

нет в наличии, поставок нет
14 3852207

   (последний код) SCREW

нет в наличии, поставок нет
15 0397336

Язычковый клапан, в сборе (REED VALVE Assy)

нет в наличии, поставок нет
15 0439042

   (последний код) BOX AY,REED

нет в наличии, поставок нет
16 0333677

Винт крепления язычкового клапана к пластине (SCREW, Reed valve to reed plate)

нет в наличии, поставок нет
16 3852208

   (последний код) SCREW

нет в наличии, поставок нет
17 0350553

Прокладка, Язычковый клапан to C / C (GASKET, Reed valve to C/C)

нет в наличии, поставок нет
17 0352743

   (последний код) GASKET

нет в наличии, поставок нет
18 5005279

REED Пластина в сборе (REED PLATE Assy)

нет в наличии, поставок нет
19 0348471

Верхний фиттинг C / C vent to reed Пластина (FITTING, Upper C/C vent to reed plate)

нет в наличии, поставок нет
20 0349181

Фиттинг тростевой пластины vent to Vap. Sep. (FITTING, Reed plate vent to Vap. Sep.)

нет в наличии, поставок нет
21 0351216

Фиттинг тростевой пластины-idle air вход (FITTING, Reed plate-idle air inlet)

нет в наличии, поставок нет
21 0351215

   (последний код) NIPPLE

нет в наличии, поставок нет
22 0324334

Винт, Reed Пластина to C / C (SCREW, Reed plate to C/C)

нет в наличии, поставок нет
22 0302820

   (последний код) SCREW

нет в наличии, поставок нет
23 0350552

Прокладка корпуса дросселя to reed Пластина (GASKET, Throttle body to reed plate)

нет в наличии, поставок нет
24 0908045

Винт дросселя position Датчик (SCREW, Throttle position sensor)

нет в наличии, поставок нет
25 0586671

Датчик, Дроссель position (TPS) (SENSOR, Throttle position (TPS))

нет в наличии, поставок нет
25 5006484

   (последний код) KIT, TPS SENSOR

нет в наличии, поставок нет
26 5005188

Рычаг дросселя (THROTTLE LEVER)

нет в наличии, поставок нет
27 0350970

Втулка рычага дросселя to Дроссель газа (BUSHING, Throttle lever to throttle body)

нет в наличии, поставок нет
28 0329110

Винт, Trottle Корпус / reed Пластина to C / C (SCREW, Trottle body/reed plate to C/C)

нет в наличии, поставок нет
28 0324697

   (последний код) SCREW

нет в наличии, поставок нет
29 0350548

Сальник, Air Глушитель to Дроссель газа (SEAL, Air silencer to throttle body)

нет в наличии, поставок нет
30 0314021

Бампер, Air Глушитель (BUMPER, Air silencer)

нет в наличии, поставок нет
31 5005193

AIR Глушитель в сборе (AIR SILENCER Assy)

нет в наличии, поставок нет
32 0340840

Сальник, Air Глушитель Защелка (SEAL, Air silencer fastener)

нет в наличии, поставок нет
33 0439922

Защелка, Air Глушитель (FASTENER, Air silencer)

нет в наличии, поставок нет
33 0436547

   (последний код) KNOB-AY

нет в наличии, поставок нет
34 0328701

Шайба с блокировкой, Струбцина (LOCK WASHER, Clamp)

нет в наличии, поставок нет
34 3852182

   (последний код) WASHER,LOCK

нет в наличии, поставок нет
35 0310441

Струбцина, CPS lead (CLAMP, CPS lead)

нет в наличии, поставок нет
35 0316385

   (последний код) CLAMP

нет в наличии, поставок нет
36 0350657

Фиксатор, Trunnion (RETAINER, Trunnion)

нет в наличии, поставок нет
37 0328724

Винт (SCREW)

нет в наличии, поставок нет
37 3852186

   (последний код) SCREW

нет в наличии, поставок нет
38 0351708

TPS Прокладка. New для 2005 (TPS GASKET. New for 2005)

нет в наличии, поставок нет
evinrude

Время выполнения запроса 1.4756050109863 сек.


 
 

данный сайт носит информационный характер и не является публичной офертой

склад запчастей для водомоторной техники