вконтакте

Контактный телефон: +7 (981) 121-46-93, +7 (800) 200-90-76 , Email: parts-katalog@yandex.ru, где купить

 
 

  Логин:

Пароль:

Регистрация

www.partskatalog.ru Все каталоги Запчасти Mercury Запчасти Suzuki Запчасти Tohatsu Запчасти Honda Контакты


Все разделы каталога запчастей на этот двигатель

назад Раздел:   вперёд

вернуться к списку узлов и деталей

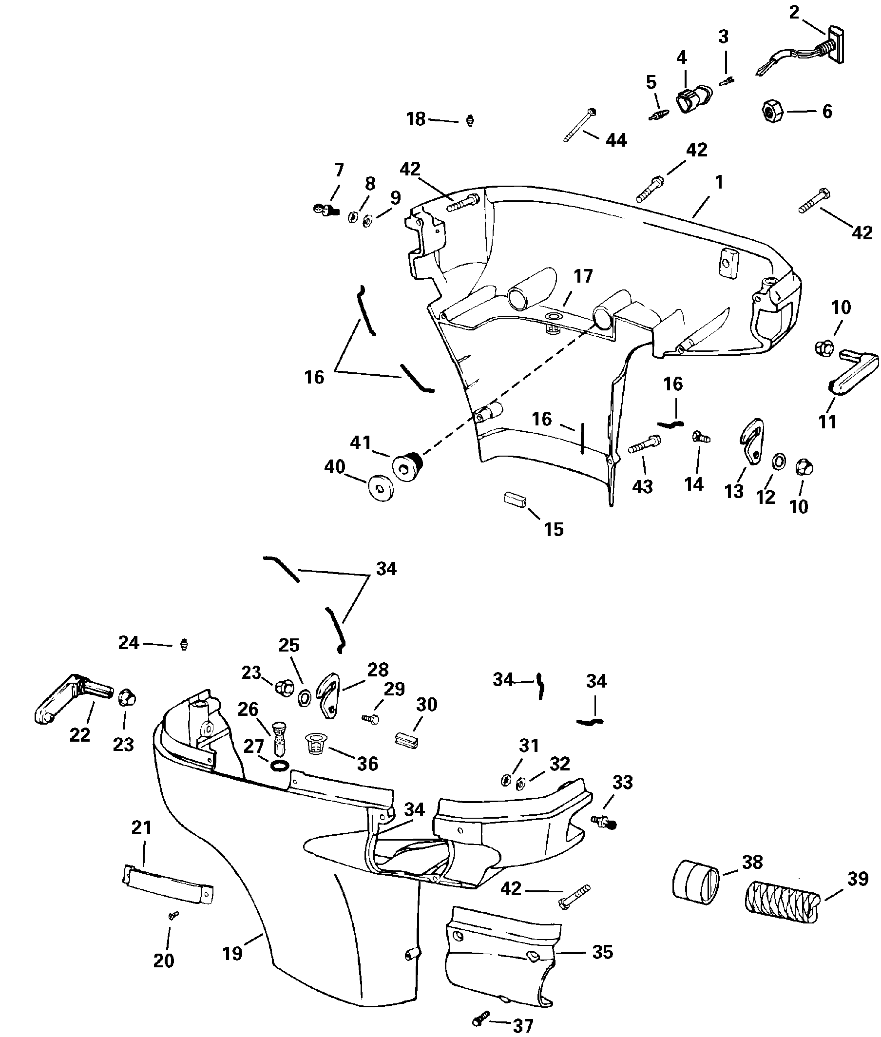
ДЕТАЛИРОВКА ДЛЯ МОДЕЛИ: EVINRUDE E175FSLSRB

НИЖНЯЯ КРЫШКА ДВИГАТЕЛЯ | LOWER ENGINE COVER;


Подвесной мотор Evinrude E175FSLSRB  - wer Крышка двигателя (капот) / wer Engine Cover

Номер на
рисунке
АртикулНаименованиеКол-во
на складе
Цена
1 5004969

Крышка в сборе, нижний port. (голубой, Pre-Краскаed.) (COVER Assy, Lower port. (BLUE, Pre-painted.))

нет в наличии, поставок нет
1 5005012

Крышка в сборе, нижний port. (белый, Pre-Краскаed.) (COVER Assy, Lower port. (WHITE, Pre-painted.))

нет в наличии, поставок нет
2 0586074

*Переключатель в сборе, Trim & tilt (SWITCH Assy, Trim & tilt)

нет в наличии, поставок нет
3 0514679

**Клемма, Штифт (TERMINAL, Pin)

нет в наличии, поставок нет
4 0514686

**Коннектор, 3-Штифт (CONNECTOR, 3-pin)

нет в наличии, поставок нет
5 0514682

**LOCK WEDGE (LOCK WEDGE)

нет в наличии, поставок нет
6 0334656

*Гайка, Переключатель (NUT, Switch)

нет в наличии, поставок нет
7 0339575

*Винт, Шаровое соединение (SCREW, Ball joint)

нет в наличии, поставок нет
8 0328735

*Шайба, Винт, Шаровое соединение (WASHER, Screw, ball joint)

нет в наличии, поставок нет
8 3852188

   (последний код) WASHER

нет в наличии, поставок нет
9 0309485

*Гайка, Винт, Шаровое соединение (NUT, Screw, ball joint)

нет в наличии, поставок нет
9 0132520

   (последний код) NUT

нет в наличии, поставок нет
10 0308532

*Втулка, Latch Рычаг (BUSHING, Latch lever)

нет в наличии, поставок нет
10 0122475

   (последний код) BUSHING

нет в наличии, поставок нет
11 0435026

*LATCH HANDLE (LATCH HANDLE)

нет в наличии, поставок нет
12 0330234

*Пружинная шайба, Latch handle (SPRING WASHER, Latch handle)

нет в наличии, поставок нет
13 0343578

*Крючок спереди & rear (HOOK, Front & rear)

нет в наличии, поставок нет
14 0342191

*Винт, Handle to latch (SCREW, Handle to latch)

нет в наличии, поставок нет
14 0336753

   (последний код) SCREW

нет в наличии, поставок нет
15 0335499

*Сальник, Port. (Included in POWERHEAD Комплект прокладок.) (SEAL, Port. (Included in POWERHEAD GASKET SET.))

нет в наличии, поставок нет
16 0

*Резинка капота двигателя. (сокращёная длина from P / N 331018.) (SEAL, Engine cover. (Cut to length from P/N 331018.))

нет в наличии, поставок нет
17 5004576

*Клапан в сборе (VALVE Assy)

нет в наличии, поставок нет
18 0307256

*LUBRICATION FITTING (LUBRICATION FITTING)

нет в наличии, поставок нет
19 5004970

Крышка в сборе, нижний Strb. (голубой, Pre-Краскаed.) (COVER Assy, Lower Strb. (BLUE, Pre-painted.))

нет в наличии, поставок нет
19 5005014

Крышка в сборе, нижний Strb. (белый, Pre-Краскаed.) (COVER Assy, Lower Strb. (WHITE, Pre-painted.))

нет в наличии, поставок нет
20 0315656

*Винт, Access panel (SCREW, Access panel)

нет в наличии, поставок нет
21 0438604

*ACCESS PANEL (ACCESS PANEL)

нет в наличии, поставок нет
22 0435026

*LATCH HANDLE (LATCH HANDLE)

нет в наличии, поставок нет
23 0308532

*Втулка, Latch Рычаг (BUSHING, Latch lever)

нет в наличии, поставок нет
23 0122475

   (последний код) BUSHING

нет в наличии, поставок нет
24 0307256

*LUBRICATION FITTING (LUBRICATION FITTING)

нет в наличии, поставок нет
25 0330234

*Пружинная шайба, Latch handle (SPRING WASHER, Latch handle)

нет в наличии, поставок нет
26 0436048

*Обратный клапан в сборе, Drain (CHECK VALVE Assy, Drain)

нет в наличии, поставок нет
27 0202893

*Уплотнительное кольцо (O-RING)

нет в наличии, поставок нет
27 3852033

   (последний код) O-RING

нет в наличии, поставок нет
28 0343578

*Крючок спереди & rear (HOOK, Front & rear)

нет в наличии, поставок нет
29 0342191

*Винт, Handle to latch (SCREW, Handle to latch)

нет в наличии, поставок нет
29 0336753

   (последний код) SCREW

нет в наличии, поставок нет
30 0335500

*Сальник, Stbd. (Included in POWERHEAD Комплект прокладок.) (SEAL, Stbd. (Included in POWERHEAD GASKET SET.))

нет в наличии, поставок нет
31 0309485

*Гайка, Винт, Шаровое соединение (NUT, Screw, ball joint)

нет в наличии, поставок нет
31 0132520

   (последний код) NUT

нет в наличии, поставок нет
32 0328735

*Шайба, Винт, Шаровое соединение (WASHER, Screw, ball joint)

нет в наличии, поставок нет
32 3852188

   (последний код) WASHER

нет в наличии, поставок нет
33 0339575

*Винт, Шаровое соединение (SCREW, Ball joint)

нет в наличии, поставок нет
34 0

*Резинка капота двигателя. (сокращёная длина from P / N 331018.) (SEAL, Engine cover. (Cut to length from P/N 331018.))

нет в наличии, поставок нет
35 0350040

*Крышка, Кабели entry. (голубой, Pre-Краскаed.) (COVER, Cable entry. (BLUE, Pre-painted.))

нет в наличии, поставок нет
35 0341913

   (последний код) COVER, CABLE ENTRY

нет в наличии, поставок нет
35 0350206

*Крышка, Кабели entry. (белый, Pre-Краскаed.) (COVER, Cable entry. (WHITE, Pre-painted.))

нет в наличии, поставок нет
36 5004576

*Клапан в сборе (VALVE Assy)

нет в наличии, поставок нет
37 0343505

Винт, Крышка (SCREW, Cover)

нет в наличии, поставок нет
37 0911429

   (последний код) SCREW

нет в наличии, поставок нет
38 0348811

Пыльник кабеля entry (GROMMET, Cable entry)

нет в наличии, поставок нет
39 0343912

Гильза, Fuel & Электрика (SLEEVE, Fuel & electrical)

1 шт4750 руб.
40 0349556

Шайба, Крепление (WASHER, Mount)

нет в наличии, поставок нет
41 0349557

Крепление нижнее Крышка (MOUNT, Lower cover)

нет в наличии, поставок нет
41 0328584

   (последний код) MOUNT

нет в наличии, поставок нет
42 0325115

Винт, Нижняя часть корпуса 1 3 / 4 дюйм (44.5 мм) (SCREW, Lower cover 1 3/4 in. (44.5mm))

нет в наличии, поставок нет
42 0321483

   (последний код) SCREW CCASE CYL

нет в наличии, поставок нет
43 0333676

Винт, Нижняя часть корпуса 1 1 / 4 дюйм (31.8 мм) (SCREW, Lower cover 1 1/4 in. (31.8mm))

нет в наличии, поставок нет
43 3854923

   (последний код) SCREW

нет в наличии, поставок нет
44 0317972

Винт, Нижняя часть корпуса 4 1 / 4 дюйм (SCREW, Lower cover 4 1/4 in.)

нет в наличии, поставок нет
44 0335222

   (последний код) SCREW

нет в наличии, поставок нет
evinrude

Время выполнения запроса 1.3303248882294 сек.


 
 

данный сайт носит информационный характер и не является публичной офертой

склад запчастей для водомоторной техники