вконтакте

Контактный телефон: +7 (981) 121-46-93, +7 (800) 200-90-76 , Email: parts-katalog@yandex.ru, где купить

 
 

  Логин:

Пароль:

Регистрация

www.partskatalog.ru Все каталоги Запчасти Mercury Запчасти Suzuki Запчасти Tohatsu Запчасти Honda Контакты


Все разделы каталога запчастей на этот двигатель

назад Раздел:   вперёд

вернуться к списку узлов и деталей

ДЕТАЛИРОВКА ДЛЯ МОДЕЛИ: EVINRUDE E225FCXSTM

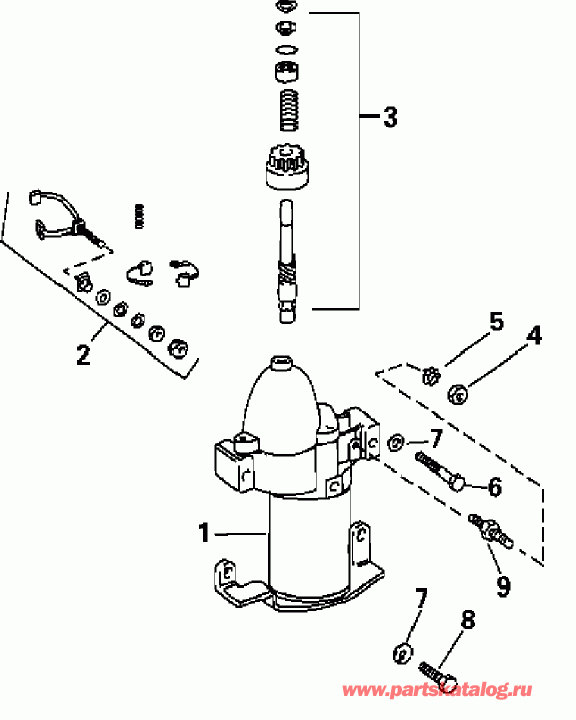
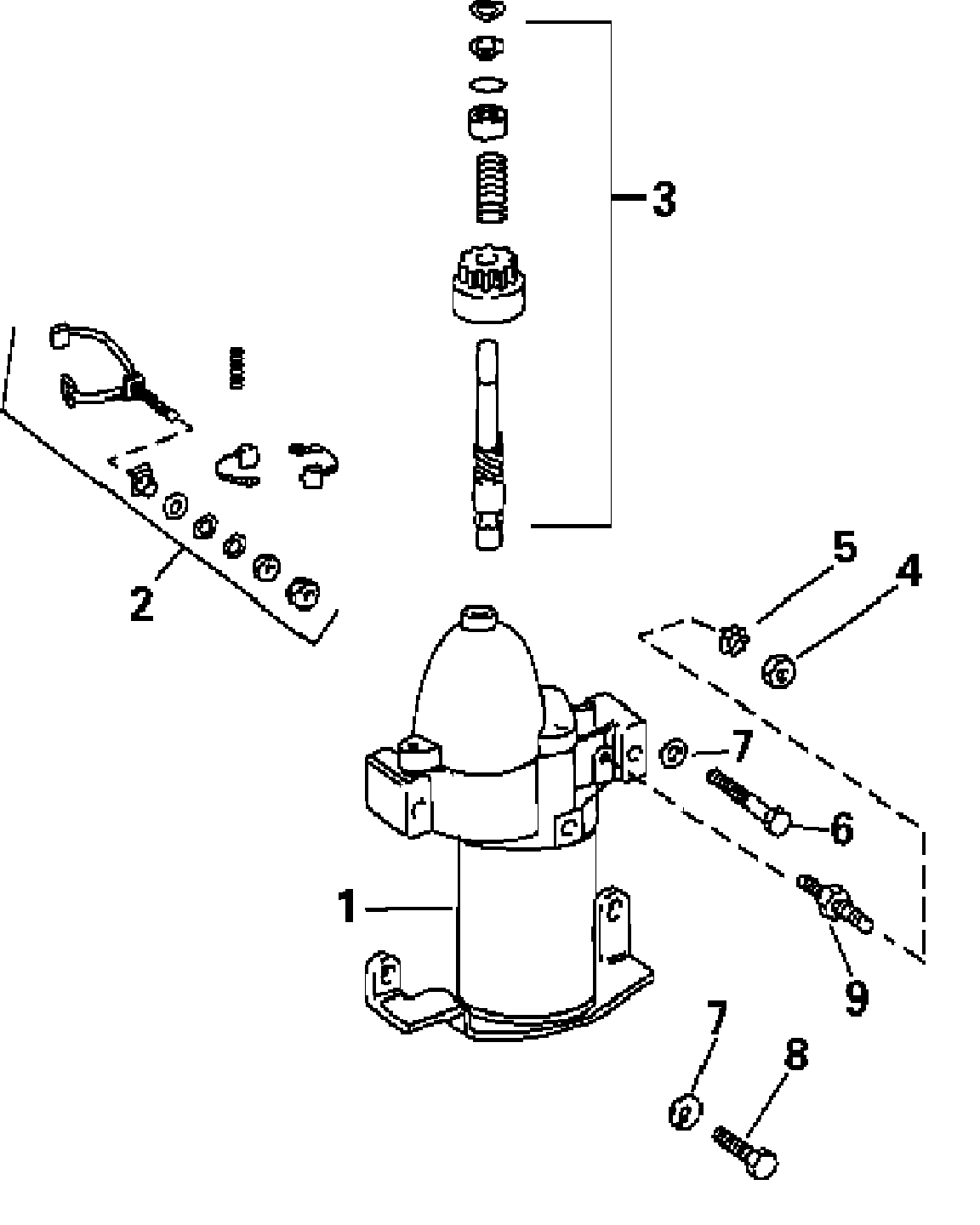
ДВИГАТЕЛЬ СТАРТЕРА | STARTER MOTOR;


Лодочный подвесной мотор EVINRUDE E225FCXSTM  - arter Motor / arter Motor

Номер на
рисунке
АртикулНаименованиеКол-во
на складе
Цена
1 0586731

Двигатель стартера ASSEMBLY (STARTER MOTOR ASSEMBLY)

нет в наличии, поставок нет
1 0586890

   (последний код) MOTOR AY,STARTER

1 шт47900 руб.
2 0433850

*Щётка & Пружина SET (BRUSH & SPRING SET)

2 шт3900 руб.
2 0397373

   (последний код) BRUSH&SPRING SET

2 шт2990 руб.
3 5000369

*KIT, Drive & Вал (KIT, Drive & shaft)

нет в наличии, поставок нет
4 0328740

Гайка, Заземление (NUT, Ground)

нет в наличии, поставок нет
4 0306375

   (последний код) NUT

нет в наличии, поставок нет
5 0302290

Шайба с блокировкой, Провод заземленияs (LOCK WASHER, Ground wires)

нет в наличии, поставок нет
5 0338307

   (последний код) WASHER,LOCK

нет в наличии, поставок нет
6 0331644

Винт, Стартер, Креплениеing (SCREW, Starter, mounting)

нет в наличии, поставок нет
6 0326697

   (последний код) SCREW

нет в наличии, поставок нет
7 0309543

Шайба с блокировкой, Sвышеport Кронштейн (LOCK WASHER, Support bracket)

нет в наличии, поставок нет
8 0552940

Винт, Sвышеport Кронштейн (SCREW, Support bracket)

нет в наличии, поставок нет
8 0313699

   (последний код) SCREW

нет в наличии, поставок нет
9 0330143

Болт, Double end (BOLT, Double end)

нет в наличии, поставок нет
9 0311328

   (последний код) BOLT

нет в наличии, поставок нет
evinrude

Время выполнения запроса 3.5465819835663 сек.


 
 

данный сайт носит информационный характер и не является публичной офертой

склад запчастей для водомоторной техники