вконтакте

Контактный телефон: +7 (981) 121-46-93, +7 (800) 200-90-76 , Email: parts-katalog@yandex.ru, где купить

 
 

  Логин:

Пароль:

Регистрация

www.partskatalog.ru Все каталоги Запчасти Mercury Запчасти Suzuki Запчасти Tohatsu Запчасти Honda Контакты



УВАЖАЕМЫЕ КЛИЕНТЫ!
C 19 ДЕКАБРЯ 2025 ПО 02 МАРТА 2026 ГОДА ОТДЕЛ ЗАПЧАСТЕЙ И СЕРВИС РАБОТАТЬ НЕ БУДУТ
ПРОДАЖА ЛОДОЧНЫХ МОТОРОВ В ШТАТНОМ РЕЖИМЕ
ОБ ИЗМЕНЕНИЯХ В ГРАФИКЕ РАБОТЫ ЧИТАЙТЕ НА САЙТА




Все разделы каталога запчастей на этот двигатель

назад Раздел:   вперёд

вернуться к списку узлов и деталей

ДЕТАЛИРОВКА ДЛЯ МОДЕЛИ: EVINRUDE E25WRLSIR commercial, rope start, tiller

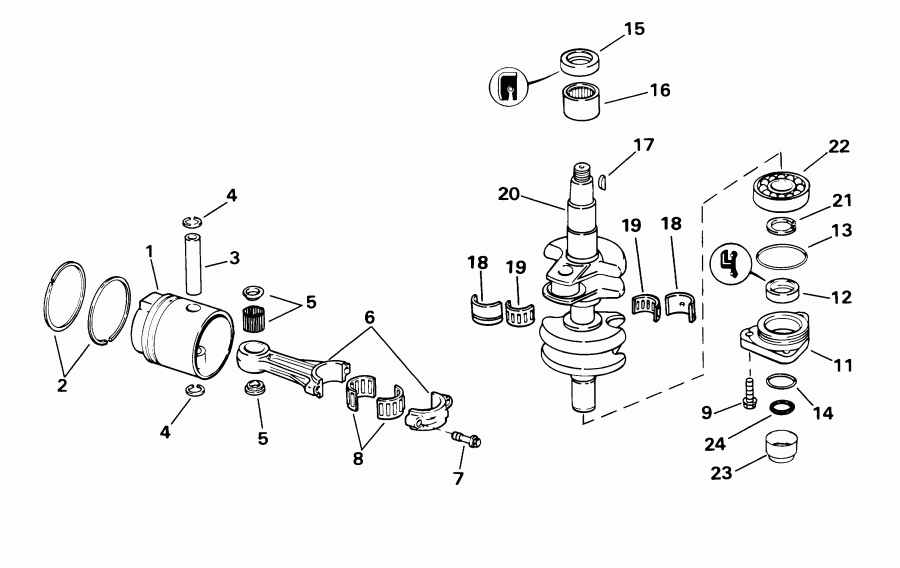
КОЛЕНВАЛ & ПОРШЕНЬ | CRANKSHAFT & PISTON;


Лодочный мотор Эвинруд E25WRLSIR commercial, rope start, tiller  - ankВал & Поршень - ankshaft & Piston

Номер на
рисунке
АртикулНаименованиеКол-во
на складе
Цена
1 0392621

Поршень, стандарт (PISTON, Standard)

нет в наличии, поставок нет
1 5006657

   (последний код) PISTON & RING KIT

нет в наличии, поставок нет
1 0396576

Поршень & Кольцо в сборе., 030 дюйм O.S. (PISTON & RING ASSY., 030 in. O.S.)

нет в наличии, поставок нет
1 0392910

   (последний код) PISTON

нет в наличии, поставок нет
2 0396377

Кольцо SET, стандарт (RING SET, Standard)

нет в наличии, поставок нет
2 0385807

   (последний код) RING SET

нет в наличии, поставок нет
2 0396379

Кольцо SET, 0.030 дюйм O.S.. (Included with 0.030 Поршень Assembly.) (RING SET, 0.030 in. O.S.. (Included with 0.030 Piston Assembly.))

нет в наличии, поставок нет
2 0385809

   (последний код) RING SET

нет в наличии, поставок нет
3 0320954

WRIST Штифт (WRIST PIN)

нет в наличии, поставок нет
4 0317831

Стопорное кольцо. (Included with 0.030 Поршень Assembly.) (RETAINING RING. (Included with 0.030 Piston Assembly.))

2 шт220 руб.
5 0395627

Подшипник, Wrist Штифт (BEARING, Wrist pin)

1 шт2860 руб.
5 0394226

   (последний код) ROLLER-BRG.C

нет в наличии, поставок нет
6 0433509

Шатун в сборе. (CONNECTING ROD ASSY.)

нет в наличии, поставок нет
6 0395855

   (последний код) CONNECTING ROD

нет в наличии, поставок нет
7 0308186

*Винт, Тяга Колпачок (SCREW, Rod cap)

нет в наличии, поставок нет
7 0318760

   (последний код) SCREW

нет в наличии, поставок нет
8 0437088

Подшипник в сборе. (BEARING ASSY.)

нет в наличии, поставок нет
8 0436932

   (последний код) NEEDLE&RETAINER AY

нет в наличии, поставок нет
9 0328694

Винт (SCREW)

нет в наличии, поставок нет
9 0911122

   (последний код) SCREW

нет в наличии, поставок нет
11 0435520

Головка картера двигателя & Сальник (CRANKCASE HEAD & SEAL)

нет в наличии, поставок нет
12 0333096

Сальник. (Included in Powerehead Комплект прокладок.) (.SEAL. (Included in Powerehead Gasket Set.))

нет в наличии, поставок нет
12 0398051

   (последний код) SEAL AY

нет в наличии, поставок нет
13 0319662

*Уплотнительное кольцо, Головка картера двигателя. (Included in Powerehead Комплект прокладок.) (O-RING, Crankcase head. (Included in Powerehead Gasket Set.))

нет в наличии, поставок нет
13 0320527

   (последний код) O-RING

нет в наличии, поставок нет
14 0554545

*Уплотнительное кольцо, Головка картера двигателя. (Included in Powerehead Комплект прокладок.) (O-RING, Crankcase head. (Included in Powerehead Gasket Set.))

нет в наличии, поставок нет
15 0328603

Сальник. (Included in Powerehead Комплект прокладок.) (SEAL. (Included in Powerehead Gasket Set.))

нет в наличии, поставок нет
16 0393896

Подшипник в сборе., иголка (BEARING ASSY., Needle)

нет в наличии, поставок нет
17 0307480

Ключ, Коленвал (KEY, Crankshaft)

нет в наличии, поставок нет
18 0331451

Гильза, Split (SLEEVE, Split)

нет в наличии, поставок нет
19 0389613

Фиксатор & иголка, Center Подшипник (RETAINER & NEEDLE, Center bearing)

нет в наличии, поставок нет
19 0332356

   (последний код) BEARING-NEEDLE

нет в наличии, поставок нет
20 0435492

Коленвал в сборе. (CRANKSHAFT ASSY.)

нет в наличии, поставок нет
20 0338514

   (последний код) CRANKSHAFT

нет в наличии, поставок нет
21 0305160

*Стопорное кольцо (RETAINING RING)

нет в наличии, поставок нет
22 0330854

*Роликовый подшипник в сборе. (ROLLER BEARING ASSY.)

нет в наличии, поставок нет
22 0986172

   (последний код) BEARING-ASSE

нет в наличии, поставок нет
23 0338512

*Гильза (SLEEVE)

нет в наличии, поставок нет
24 0338513

*Уплотнительное кольцо, Гильза to driveВал. (Included in Powerehead Комплект прокладок.) (O-RING, Sleeve to driveshaft. (Included in Powerehead Gasket Set.))

нет в наличии, поставок нет
evinrude

Время выполнения запроса 0.79861688613892 сек.


 
 

данный сайт носит информационный характер и не является публичной офертой

склад запчастей для водомоторной техники