вконтакте

Контактный телефон: +7 (981) 121-46-93, +7 (800) 200-90-76 , Email: parts-katalog@yandex.ru, где купить

 
 

  Логин:

Пароль:

Регистрация

www.partskatalog.ru Все каталоги Запчасти Mercury Запчасти Suzuki Запчасти Tohatsu Запчасти Honda Контакты


Все разделы каталога запчастей на этот двигатель

назад Раздел:   вперёд

вернуться к списку узлов и деталей

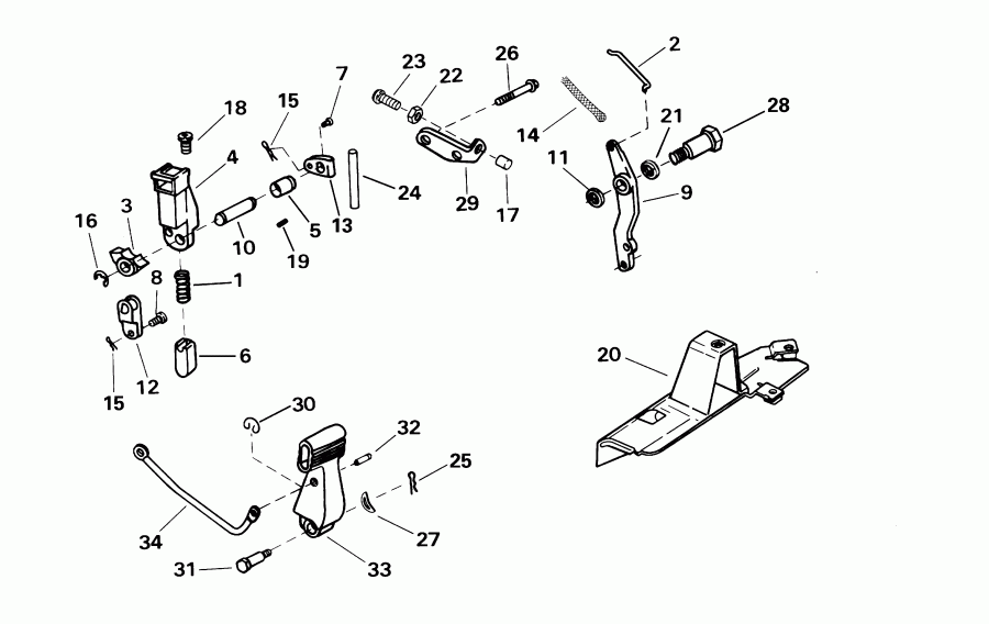
ДЕТАЛИРОВКА ДЛЯ МОДЕЛИ: EVINRUDE E8R4SIE 4-stroke, rope start, tiller, 15

ПЕРЕКЛЮЧАТЕЛЬ & СОЕДИНИТЕЛЬ ДРОССЕЛЯAGE | SHIFT & THROTTLE LINKAGE;


Подвесной лодочный мотор Evinrude E8R4SIE 4-stroke, rope start, tiller, 15  - ift & Throttle Linkage - ift & Соединитель дросселяage

Номер на
рисунке
АртикулНаименованиеКол-во
на складе
Цена
1 0446154

Пружина переключателя detent (SPRING, Shift detent)

нет в наличии, поставок нет
2 0446169

Тяга дросселя Рычаг to Карбюратор (LINK, Throttle lever to carburetor)

нет в наличии, поставок нет
3 0446157

CAM, Detent (CAM, Detent)

нет в наличии, поставок нет
4 0446149

Корпус, Detent (HOUSING, Detent)

нет в наличии, поставок нет
5 0446156

Втулка, Переключающий вал (BUSHING, Shift shaft)

нет в наличии, поставок нет
6 0449507

Плунжер & DETENT в сборе. (PLUNGER & DETENT ASSY.)

нет в наличии, поставок нет
7 0446155

Штифт, Рычаг переключения (PIN, Shift lever)

нет в наличии, поставок нет
8 0446155

Штифт переключателя тяги to Рычаг (PIN, Shift link to lever)

нет в наличии, поставок нет
9 0446164

Рычаг дросселя (THROTTLE LEVER)

нет в наличии, поставок нет
10 0446333

Переключающий вал (SHAFT, Shift)

нет в наличии, поставок нет
11 0115199

Шайба, Винт, Рычаг (WASHER, Screw, lever)

нет в наличии, поставок нет
12 0446146

Рычаг переключателя Соединитель (LEVER, Shift link)

нет в наличии, поставок нет
13 0446147

Рычаг штока переключения (LEVER, Shift rod)

нет в наличии, поставок нет
14 0446465

Гильза, Соединитель дросселя (SLEEVE, Throttle link)

нет в наличии, поставок нет
15 0446161

Зажим, Переключатель Соединитель to Рычаг (CLIP, Shift link to lever)

нет в наличии, поставок нет
16 0446160

Фиксатор, Рычаг переключателя Вал (RETAINER, Lever, shift shaft)

нет в наличии, поставок нет
17 0446415

Колпачок, Дроссель Стопорный винт (CAP, Throttle Stop Screw)

нет в наличии, поставок нет
18 0446159

Винт, Detent Корпус (SCREW, Detent housing)

нет в наличии, поставок нет
19 0446427

Установочный винт, Переключающий вал (SET SCREW, Shift shaft)

нет в наличии, поставок нет
20 0445090

Кронштейн в сборе., Переключатель (BRACKET ASSY., Shift)

нет в наличии, поставок нет
21 0446168

Шайба, Рычаг дросселя (WASHER, Throttle lever)

нет в наличии, поставок нет
22 0446115

Гайка, Винт дросселя Stop (NUT, Screw, Throttle Stop)

нет в наличии, поставок нет
23 0446414

Винт дросселя Stop (SCREW, Throttle Stop)

нет в наличии, поставок нет
24 0446428

Штифт, Переключающий вал (PIN, Shift shaft)

нет в наличии, поставок нет
25 0446162

Зажим (CLIP)

нет в наличии, поставок нет
26 0441161

Винт стопора (SCREW, Stop)

нет в наличии, поставок нет
27 0328733

Шайба, Handle to Кронштейн (WASHER, Handle to bracket)

нет в наличии, поставок нет
28 0446167

Винт дросселя Рычаг (SCREW, Throttle lever)

нет в наличии, поставок нет
29 0446334

Дроссель STOP (THROTTLE STOP)

нет в наличии, поставок нет
30 0336417

Фиксатор, Переключатель Соединитель (RETAINER, Shift link)

нет в наличии, поставок нет
31 0334238

Винт, Переключатель handle (SCREW, Shift handle)

1 шт2130 руб.
32 0338689

Штифт переключателя тяги (PIN, Shift link)

нет в наличии, поставок нет
33 0338206

HANDLE, Переключатель (HANDLE, Shift)

нет в наличии, поставок нет
34 0446150

Переключающая тяга handle (LINK, Shift handle)

нет в наличии, поставок нет
evinrude

Время выполнения запроса 0.66958403587341 сек.


 
 

данный сайт носит информационный характер и не является публичной офертой

склад запчастей для водомоторной техники