вконтакте

Контактный телефон: +7 (981) 121-46-93, +7 (800) 200-90-76 , Email: parts-katalog@yandex.ru, где купить

 
 

  Логин:

Пароль:

Регистрация

www.partskatalog.ru Все каталоги Запчасти Mercury Запчасти Suzuki Запчасти Tohatsu Запчасти Honda Контакты


Все разделы каталога запчастей на этот двигатель

назад Раздел:  

вернуться к списку узлов и деталей

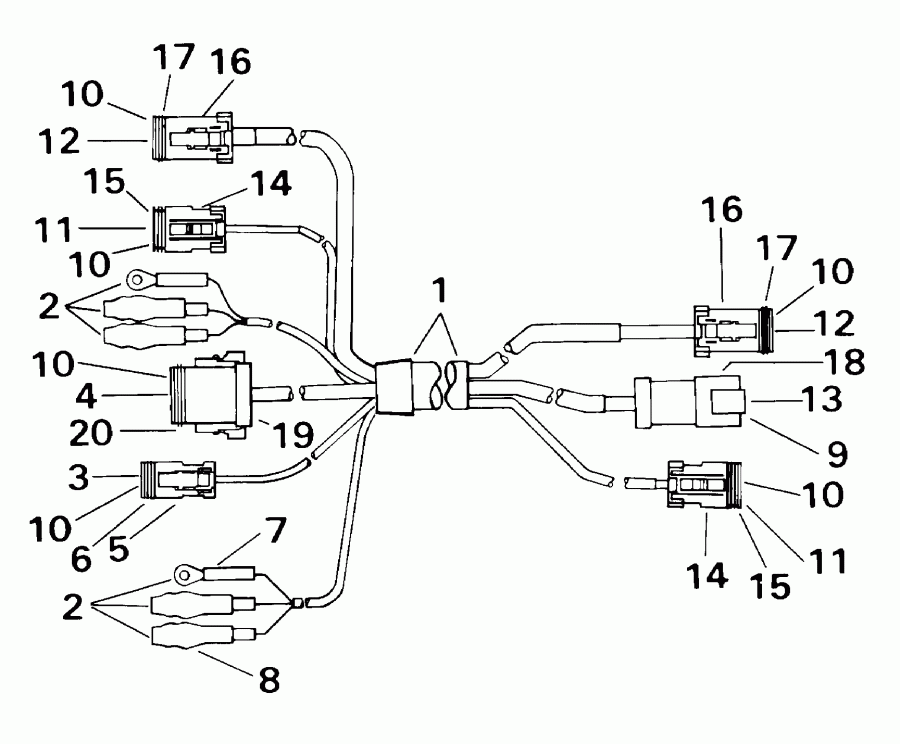
ДЕТАЛИРОВКА ДЛЯ МОДЕЛИ: EVINRUDE E65WELSSC Commercial, Elec. Start, 20 IN

WIКОЛЬЦО KIT В СБОРЕ. | WIRING KIT ASSY.;


Двигатель EVINRUDE E65WELSSC Commercial, Elec. Start, 20 IN  - ring Kit Assy. - Кольцо Kit в сборе.

Номер на
рисунке
АртикулНаименованиеКол-во
на складе
Цена
1 0176341

WIКольцо KIT в сборе., 20 фут (6, 1m) (WIRING KIT ASSY., 20 ft. (6,1m))

нет в наличии, поставок нет
2 0126663

*Клемма, Кольцо (TERMINAL, Ring)

нет в наличии, поставок нет
2 0126960

   (последний код) TERMINAL,RING-#8

нет в наличии, поставок нет
3 0127287

*LOCK WEDGE, 2-socket (LOCK WEDGE, 2-socket)

нет в наличии, поставок нет
4 0127288

*LOCK WEDGE, 8-socket (LOCK WEDGE, 8-socket)

нет в наличии, поставок нет
5 0176295

*Коннектор, 2-socket (CONNECTOR, 2-socket)

нет в наличии, поставок нет
6 0514788

**Сальник, 2-socket (SEAL, 2-socket)

нет в наличии, поставок нет
7 0510781

*Трубопровод (TUBING)

нет в наличии, поставок нет
8 0513186

*Гильза (SLEEVE)

нет в наличии, поставок нет
8 3852248

   (последний код) SLEEVE,SKT-B

нет в наличии, поставок нет
9 0514679

*Клемма, Штифт (TERMINAL, Pin)

нет в наличии, поставок нет
10 0514680

*Клемма, Socket (TERMINAL, Socket)

нет в наличии, поставок нет
11 0514681

*LOCK WEDGE, 3-socket (LOCK WEDGE, 3-socket)

нет в наличии, поставок нет
12 0514683

*LOCK WEDGE, 6-socket (LOCK WEDGE, 6-socket)

нет в наличии, поставок нет
13 0514684

*LOCK WEDGE, 6-Штифт (LOCK WEDGE, 6-pin)

нет в наличии, поставок нет
14 0514685

*Коннектор, 3-socket (CONNECTOR, 3-socket)

нет в наличии, поставок нет
15 0514789

**Сальник, 3-socket (SEAL, 3-socket)

нет в наличии, поставок нет
16 0514687

*Коннектор, 6-socket (CONNECTOR, 6-socket)

нет в наличии, поставок нет
17 0514790

**Сальник, 6-socket (SEAL, 6-socket)

нет в наличии, поставок нет
18 0514688

*Коннектор, 6-Штифт (CONNECTOR, 6-pin)

нет в наличии, поставок нет
19 0176296

*Коннектор, 8-socket (CONNECTOR, 8-socket)

нет в наличии, поставок нет
20 0514791

**Сальник, 8-socket (SEAL, 8-socket)

нет в наличии, поставок нет
evinrude

Время выполнения запроса 0.85651111602783 сек.


 
 

данный сайт носит информационный характер и не является публичной офертой

склад запчастей для водомоторной техники