вконтакте

Контактный телефон: +7 (981) 121-46-93, +7 (800) 200-90-76 , Email: parts-katalog@yandex.ru, где купить

 
 

  Логин:

Пароль:

Регистрация

www.partskatalog.ru Все каталоги Запчасти Mercury Запчасти Suzuki Запчасти Tohatsu Запчасти Honda Контакты


Все разделы каталога запчастей на этот двигатель

назад Раздел:   вперёд

вернуться к списку узлов и деталей

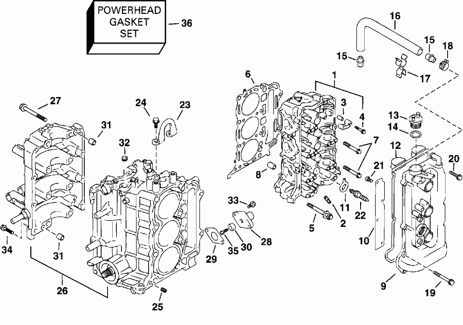
ДЕТАЛИРОВКА ДЛЯ МОДЕЛИ: EVINRUDE E40PL4SSC 4-Stroke, Elec Start, TNT, 20

ЦИЛИНДР & КАРТЕР ДВИГАТЕЛЯ | CYLINDER & CRANKCASE;


Подвесной двигатель EVINRUDE E40PL4SSC 4-Stroke, Elec Start, TNT, 20   - linder & Картер двигателя / linder & Crankcase

Номер на
рисунке
АртикулНаименованиеКол-во
на складе
Цена
5031718

Головка блока цилиндра, комплект - Z. 40 Models Only (CYLINDER HEAD, Complete - Z. 40 Models Only)

нет в наличии, поставок нет
5031719

Головка блока цилиндра, комплект - Y. 50 Models Only (CYLINDER HEAD, Complete - Y. 50 Models Only)

нет в наличии, поставок нет
1 5031288

*Головка блока цилиндра (CYLINDER HEAD)

нет в наличии, поставок нет
1 5036585

   (последний код) HEAD AY & ANODES

нет в наличии, поставок нет
2 5031598

**Направляющая клапана (GUIDE, Valve)

нет в наличии, поставок нет
3 5030515

**Штифт (PIN)

нет в наличии, поставок нет
4 5031292

**Болт распредвала Корпус (BOLT, Camshaft housing)

нет в наличии, поставок нет
5 5031291

Болты головки цилиндра (BOLT, Cylinder head)

нет в наличии, поставок нет
6 5031293

Прокладка головки блока цилиндра - X. Contents of Powerhead Комплект прокладок (GASKET, Cylinder head - X. Contents of Powerhead Gasket Set)

нет в наличии, поставок нет
6 5034353

   (последний код) GASKET

нет в наличии, поставок нет
7 5031658

Болты головки цилиндра (BOLT, Cylinder head)

нет в наличии, поставок нет
8 5031014

Шпонка (PIN, Dowel)

нет в наличии, поставок нет
8 5035984

   (последний код) CYL HEAD DOWEL PIN

нет в наличии, поставок нет
9 5031294

Крышка головки цилиндра (COVER, Cylinder head)

нет в наличии, поставок нет
10 5031295

Сапун Пластина (BREATHER PLATE)

нет в наличии, поставок нет
11 5031296

Прокладка, Свеча зажигания (GASKET, Spark plug)

нет в наличии, поставок нет
12 5031297

Прокладка головки блока цилиндра - X. Contents of Powerhead Комплект прокладок (GASKET, Cylinder head - X. Contents of Powerhead Gasket Set)

нет в наличии, поставок нет
13 5030633

Крышка заливной горловины масла fill (CAP, Oil fill)

нет в наличии, поставок нет
14 5030541

Уплотнительное кольцо, Крышка заливной горловины масла fill (O-RING, Cap, oil fill)

нет в наличии, поставок нет
15 5031659

JET, Сапун шланга (JET, Breather hose)

нет в наличии, поставок нет
16 5031706

Шланг сапуна (HOSE, Breather)

нет в наличии, поставок нет
17 5031661

Струбцина (CLAMP)

нет в наличии, поставок нет
18 5030580

Струбцина (CLAMP)

нет в наличии, поставок нет
19 5030985

Болты головки цилиндра Крышка (BOLT, Cylinder head cover)

нет в наличии, поставок нет
20 5031662

Болты головки цилиндра Крышка (BOLT, Cylinder head cover)

нет в наличии, поставок нет
21 5031663

Винт, Сапун Пластина (SCREW, Breather plate)

нет в наличии, поставок нет
22 5031287

Свеча зажигания (NGK DCPR6E) (SPARK PLUG (NGK DCPR6E))

нет в наличии, поставок нет
22 5041710

   (последний код) SPARK PLUG DCPR6E

нет в наличии, поставок нет
23 5031300

LIFT Кронштейн (LIFT BRACKET)

нет в наличии, поставок нет
24 5030994

Болт, Lift Кронштейн (BOLT, Lift bracket)

нет в наличии, поставок нет
25 5031289

Заглушка масляной трубки Вентури (PLUG, Oil venturi)

нет в наличии, поставок нет
26 5031756

Блок цилиндра (CYLINDER BLOCK)

нет в наличии, поставок нет
26 5031301

   (последний код) BLOCK AY,CYLINDER

нет в наличии, поставок нет
27 5031290

*Болт (BOLT)

нет в наличии, поставок нет
27 5032819

   (последний код) BOLT 10X98

нет в наличии, поставок нет
28 5031299

*Крышка анода (COVER, Anode)

нет в наличии, поставок нет
28 5030622

   (последний код) COVER

нет в наличии, поставок нет
29 5030623

*Прокладка, Анод - X. Contents of Powerhead Комплект прокладок (GASKET, Anode - X. Contents of Powerhead Gasket Set)

нет в наличии, поставок нет
30 5031705

*Анод (ANODE)

нет в наличии, поставок нет
31 5031066

*Штифт, Knock (PIN, Knock)

нет в наличии, поставок нет
32 5031252

*Заглушка (PLUG)

нет в наличии, поставок нет
33 5030000

*Болт (BOLT)

нет в наличии, поставок нет
34 5030998

*Болт (BOLT)

нет в наличии, поставок нет
35 5030413

*Болт, Анод (BOLT, Anode)

нет в наличии, поставок нет
36 5031302

POWERHEAD Комплект прокладок (POWERHEAD GASKET SET)

нет в наличии, поставок нет
36 5036714

   (последний код) GASKET SET

нет в наличии, поставок нет
evinrude

Время выполнения запроса 2.8767380714417 сек.


 
 

данный сайт носит информационный характер и не является публичной офертой

склад запчастей для водомоторной техники