вконтакте

Контактный телефон: +7 (981) 121-46-93, +7 (800) 200-90-76 , Email: parts-katalog@yandex.ru, где купить

 
 

  Логин:

Пароль:

Регистрация

www.partskatalog.ru Все каталоги Запчасти Mercury Запчасти Suzuki Запчасти Tohatsu Запчасти Honda Контакты



УВАЖАЕМЫЕ КЛИЕНТЫ!
C 19 ДЕКАБРЯ 2025 ПО 02 МАРТА 2026 ГОДА ОТДЕЛ ЗАПЧАСТЕЙ И СЕРВИС РАБОТАТЬ НЕ БУДУТ
ПРОДАЖА ЛОДОЧНЫХ МОТОРОВ В ШТАТНОМ РЕЖИМЕ
ОБ ИЗМЕНЕНИЯХ В ГРАФИКЕ РАБОТЫ ЧИТАЙТЕ НА САЙТА




Все разделы каталога запчастей на этот двигатель

назад Раздел:   вперёд

вернуться к списку узлов и деталей

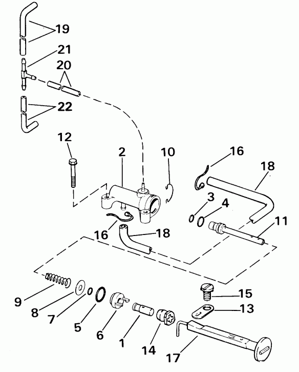
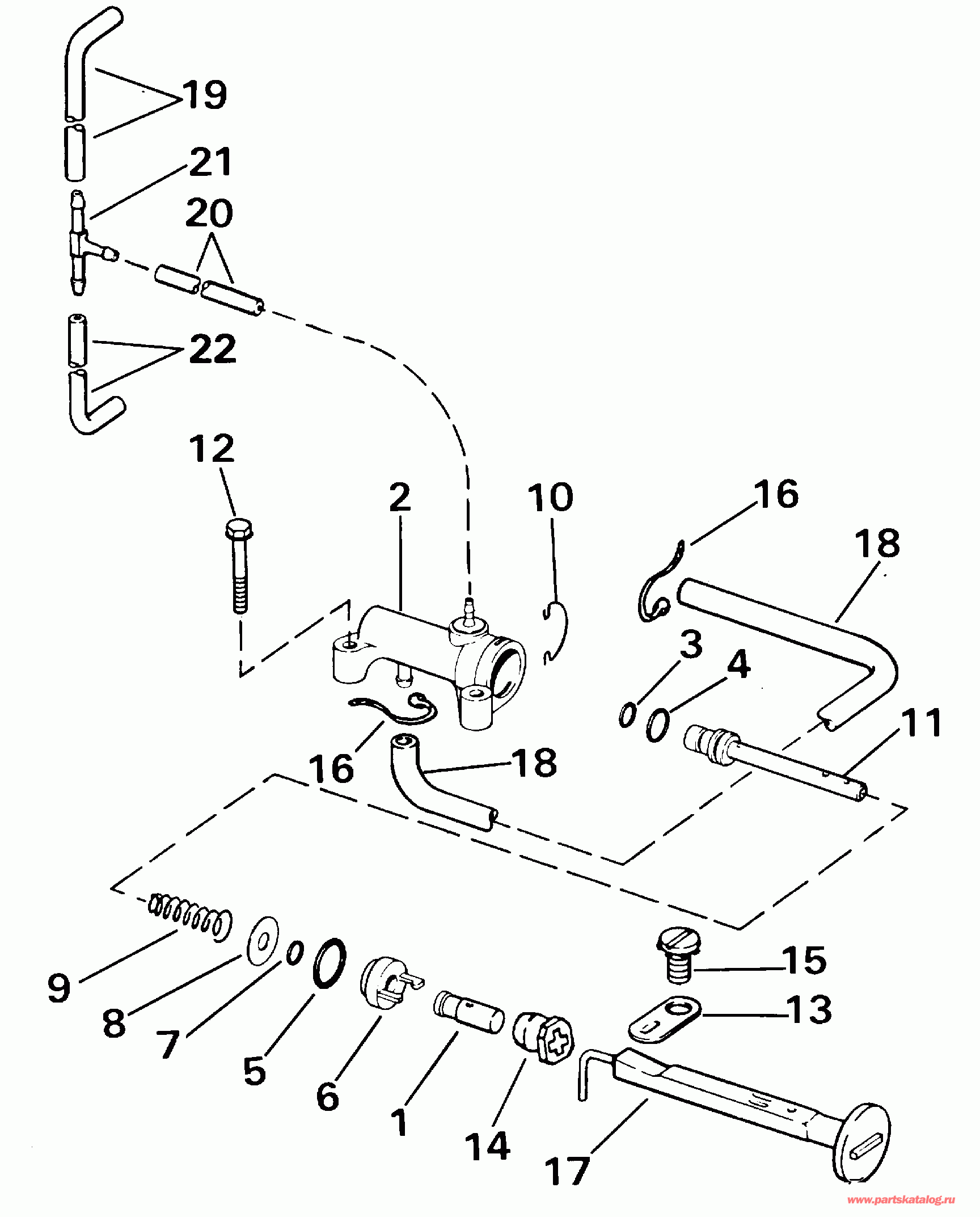
ДЕТАЛИРОВКА ДЛЯ МОДЕЛИ: EVINRUDE E40WRLSSC Commercial, Rope Start, Tiller

PRIMER SYSTEM | PRIMER SYSTEM;


Подвесной лодочный мотор EVINRUDE E40WRLSSC Commercial, Rope Start, Tiller  - imer System - imer System

Номер на
рисунке
АртикулНаименованиеКол-во
на складе
Цена
1 0326422

Коннектор, Primer Помпа (CONNECTOR, Primer pump)

нет в наличии, поставок нет
2 0398793

Топливная груша. (PRIMER PUMP ASSY.)

нет в наличии, поставок нет
2 0398392

   (последний код) PUMP-AY

нет в наличии, поставок нет
3 0331365

*Уплотнительное кольцо (O-RING)

нет в наличии, поставок нет
3 0326721

   (последний код) O-RING

нет в наличии, поставок нет
4 0331364

*Кольцо, Quad, Плунжер (RING, Quad, plunger)

нет в наличии, поставок нет
4 0326346

   (последний код) O-RING

нет в наличии, поставок нет
5 0331366

*Уплотнительное кольцо (O-RING)

нет в наличии, поставок нет
6 0398871

*END Колпачок (END CAP)

нет в наличии, поставок нет
6 0333728

   (последний код) END CAP

нет в наличии, поставок нет
7 0333639

**Уплотнительное кольцо, Плунжер to end Колпачок (O-RING, Plunger to end cap)

нет в наличии, поставок нет
8 0326334

*Шайба, Плунжер (WASHER, Plunger)

нет в наличии, поставок нет
9 0333540

*Пружина, Плунжер (SPRING, Plunger)

нет в наличии, поставок нет
9 0326336

   (последний код) SPRING

нет в наличии, поставок нет
10 0326338

*Фиксатор, Корпус (RETAINER, Housing)

нет в наличии, поставок нет
11 0393935

*Плунжер и Клапан (PLUNGER AND VALVE)

нет в наличии, поставок нет
11 0326335

   (последний код) PLUNGER

нет в наличии, поставок нет
12 0909533

Винт, Primer Помпа (SCREW, Primer pump)

нет в наличии, поставок нет
12 0324429

   (последний код) SCREW,IMP HSG

нет в наличии, поставок нет
13 0327043

DETENT, Primer Ручка (DETENT, Primer knob)

нет в наличии, поставок нет
14 0320731

Пыльник, Primer Ручка (GROMMET, Primer knob)

нет в наличии, поставок нет
14 0319092

   (последний код) GROMMET

нет в наличии, поставок нет
15 0328731

Винт, Detent (SCREW, Detent)

нет в наличии, поставок нет
15 0329265

   (последний код) SCREW

нет в наличии, поставок нет
16 0320107

Крепёжный хомут, Карбюратор to primer (TIE STRAP, Carburetor to primer)

нет в наличии, поставок нет
16 5035626

   (последний код) BAND,REM CON

нет в наличии, поставок нет
17 0395149

Ручка, Primer Помпа (KNOB, Primer pump)

нет в наличии, поставок нет
17 0392859

   (последний код) KNOB-&-ROD-A

нет в наличии, поставок нет
18 0

Шланг, Primer от помпы к карбюратору. 13 дюйм (330 мм) сокращёная длина from P / N 327228 -- 5 / 32 дюйм I.D., 25 фут (7, 6m) Roll (HOSE, Primer pump to carb. 13 in. (330mm). Cut to Length from P/N 327228 -- 5/32 in. I.D., 25 ft. (7,6m) Roll)

нет в наличии, поставок нет
19 0

Шланг, Tee to верхний carb. 4? дюйм (115 мм) сокращёная длина from P / N 327229 -- 1 / 16 дюйм I.D., 25 фут (7, 6m) Roll (HOSE, Tee to upper carb. 4? in. (115mm). Cut to Length from P/N 327229 -- 1/16 in. I.D., 25 ft. (7,6m) Roll .)

нет в наличии, поставок нет
20 0

Шланг, Primer Помпа to tee 8-1 / 4 дюйм (210 мм) сокращёная длина from P / N 327229 -- 1 / 16 дюйм I.D., 25 фут (7, 6m) Roll (HOSE, Primer pump to tee 8-1/4 in. (210mm). Cut to Length from P/N 327229 -- 1/16 in. I.D., 25 ft. (7,6m) Roll)

нет в наличии, поставок нет
21 0325569

TEE, Primer Шлангs (TEE, Primer hoses)

нет в наличии, поставок нет
22 0

Шланг, Tee to нижний carb. 3 дюйм (76 мм) сокращёная длина from P / N 327229 -- 1 / 16 дюйм I.D., 25 фут (7, 6m) Roll (HOSE, Tee to lower carb. 3 in. (76mm). Cut to Length from P/N 327229 -- 1/16 in. I.D., 25 ft. (7,6m) Roll .)

нет в наличии, поставок нет
evinrude

Время выполнения запроса 1.2138249874115 сек.


 
 

данный сайт носит информационный характер и не является публичной офертой

склад запчастей для водомоторной техники