| |
Все разделы каталога запчастей на этот двигатель
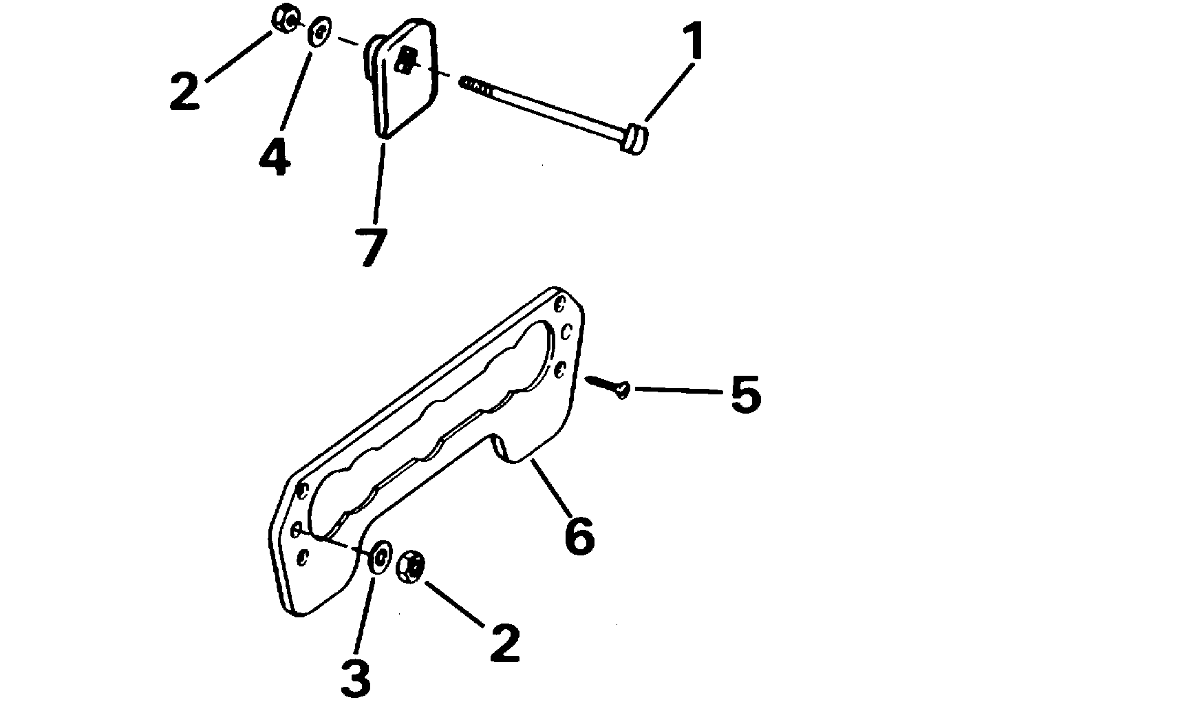
вернуться к списку узлов и деталей ДЕТАЛИРОВКА ДЛЯ МОДЕЛИ: EVINRUDE E40WRSSC Commercial, Rope Start, Tiller,
TRANSOM КРЕПЛЕНИЕ KIT | TRANSOM MOUNT KIT;
Номер на рисунке | Артикул | Наименование | Кол-во на складе | Цена |
| | 0394219 | TRANSOM Крепление KIT. Not Shown (TRANSOM MOUNT KIT. Not Shown .) | нет в наличии, поставок нет |
| | 0384189 | (последний код) TRANSOM-MT | нет в наличии, поставок нет |
| 1 | 0334427 | *Винт (SCREW) | нет в наличии, поставок нет |
| 1 | 0318512 | (последний код) SCREW | нет в наличии, поставок нет |
| 2 | 0310702 | *Гайка (NUT) | нет в наличии, поставок нет |
| 3 | 0309192 | *Шайба (WASHER) | нет в наличии, поставок нет |
| 3 | 3852083 | (последний код) WASHER,FLAT | нет в наличии, поставок нет |
| 4 | 0315776 | *Шайба (WASHER) | нет в наличии, поставок нет |
| 5 | 0303776 | *Винт (SCREW) | нет в наличии, поставок нет |
| 6 | 0328594 | *Пластина (PLATE) | нет в наличии, поставок нет |
| 6 | 0323539 | (последний код) TRANSOM PLATE | нет в наличии, поставок нет |
| 7 | 0315774 | *PAD, Кронштейн (PAD, Bracket) | нет в наличии, поставок нет |

Время выполнения запроса 0.30941700935364 сек.
|
|