| |
Все разделы каталога запчастей на этот двигатель
вернуться к списку узлов и деталей ДЕТАЛИРОВКА ДЛЯ МОДЕЛИ: EVINRUDE E25WRSSC Commercial, Rope Start, 15 IN.
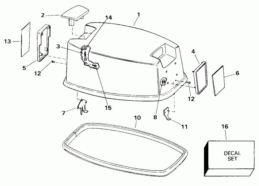
КРЫШКА ДВИГАТЕЛЯ (КАПОТ) | ENGINE COVER;
Номер на рисунке | Артикул | Наименование | Кол-во на складе | Цена |
| 1 | 0285074 | Крышка двигателя (капот) в сборе., Ev. (ENGINE COVER ASSY.,Ev.) | нет в наличии, поставок нет |
| 1 | 5001397 | Крышка двигателя (капот) в сборе., Jo. (ENGINE COVER ASSY., Jo.) | нет в наличии, поставок нет |
| 1 | 5000686 | (последний код) COVER AY,MOTOR-UPR | нет в наличии, поставок нет |
| 2 | 0208399 | *Рукоятка наклона (TILT HANDLE) | нет в наличии, поставок нет |
| 3 | 0330838 | *Винт, Рукоятка наклона (SCREW, Tilt handle) | нет в наличии, поставок нет |
| 3 | 0329268 | (последний код) SCREW | нет в наличии, поставок нет |
| 4 | 0210965 | *Рама, Front, Ev. (FRAME, Front, Ev.) | нет в наличии, поставок нет |
| 4 | 0335032 | *Рама, Front, Jo. (FRAME, Front, Jo.) | нет в наличии, поставок нет |
| 5 | 0210973 | *Рама, Rear, Ev. (FRAME, Rear, Ev.) | нет в наличии, поставок нет |
| 5 | 0335041 | *Рама, Rear, Jo. (FRAME, Rear, Jo.) | нет в наличии, поставок нет |
| 6 | 0213219 | *Пластина, Рама, front, 25, Ev. (PLATE, Frame, front, 25, Ev.) | нет в наличии, поставок нет |
| 6 | 0345515 | *Пластина, Рама, front, 25, Jo. (PLATE, Frame, front, 25, Jo.) | нет в наличии, поставок нет |
| 7 | 0329635 | *Крючок капота двигателя, rear (HOOK, Engine cover, rear) | нет в наличии, поставок нет |
| 7 | 0316171 | (последний код) ANCHOR BLOCK | нет в наличии, поставок нет |
| 8 | 0317223 | *Гайка, Push-on (NUT, Push-on) | нет в наличии, поставок нет |
| 10 | 0316225 | *Резинка капота двигателя (SEAL, Engine cover) | нет в наличии, поставок нет |
| 10 | 0326487 | (последний код) SEAL | нет в наличии, поставок нет |
| 11 | 0207482 | *Крючок капота двигателя, front (HOOK, Engine cover, front) | нет в наличии, поставок нет |
| 11 | 0206656 | (последний код) HOOK | нет в наличии, поставок нет |
| 12 | 0554355 | *Заклёпка (RIVET) | нет в наличии, поставок нет |
| 12 | 0544355 | (последний код) RIVET | нет в наличии, поставок нет |
| 13 | 0213235 | *Пластина, Рама, rear, 25, Ev. (PLATE, Frame, rear, 25, Ev.) | нет в наличии, поставок нет |
| 13 | 0345516 | *Пластина, Рама, rear, 25, Jo. (PLATE, Frame, rear, 25, Jo.) | нет в наличии, поставок нет |
| 14 | 0202150 | *Шайба, Рукоятка наклона (WASHER, Tilt handle) | нет в наличии, поставок нет |
| 15 | 0334528 | *Винт, Рама Креплениеing, rear (SCREW, Frame mounting, rear) | нет в наличии, поставок нет |
| 16 | 0285089 | Комплект наклеек, Ev. (DECAL SET, Ev.) | нет в наличии, поставок нет |
| 16 | 5000446 | Комплект наклеек, Jo. (DECAL SET, Jo.) | нет в наличии, поставок нет |

Время выполнения запроса 0.94877409934998 сек.
|
|