вконтакте

Контактный телефон: +7 (981) 121-46-93, +7 (800) 200-90-76 , Email: parts-katalog@yandex.ru, где купить

 
 

  Логин:

Пароль:

Регистрация

www.partskatalog.ru Все каталоги Запчасти Mercury Запчасти Suzuki Запчасти Tohatsu Запчасти Honda Контакты



УВАЖАЕМЫЕ КЛИЕНТЫ!
C 19 ДЕКАБРЯ 2025 ПО 02 МАРТА 2026 ГОДА ОТДЕЛ ЗАПЧАСТЕЙ И СЕРВИС РАБОТАТЬ НЕ БУДУТ
ПРОДАЖА ЛОДОЧНЫХ МОТОРОВ В ШТАТНОМ РЕЖИМЕ
ОБ ИЗМЕНЕНИЯХ В ГРАФИКЕ РАБОТЫ ЧИТАЙТЕ НА САЙТА




Все разделы каталога запчастей на этот двигатель

назад Раздел:   вперёд

вернуться к списку узлов и деталей

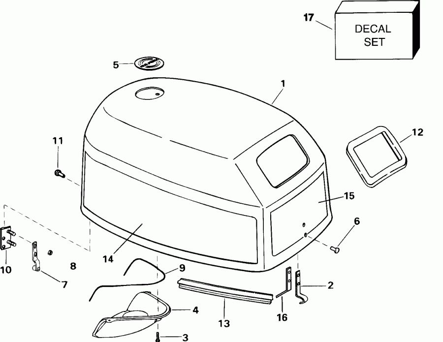
ДЕТАЛИРОВКА ДЛЯ МОДЕЛИ: EVINRUDE E8RL4SSB 4-Stroke, Rope Start, Tiller, 2

КРЫШКА ДВИГАТЕЛЯ (КАПОТ) | ENGINE COVER;


Подвесной мотор Эвинруд E8RL4SSB 4-Stroke, Rope Start, Tiller, 2  - gine Cover

Номер на
рисунке
АртикулНаименованиеКол-во
на складе
Цена
1 0445131

Крышка двигателя (капот) в сборе. - Z. 8R Model (ENGINE COVER ASSY. - Z. 8R Model)

нет в наличии, поставок нет
1 0445135

Крышка двигателя (капот) в сборе. - Y. 8RV Model (ENGINE COVER ASSY. - Y. 8RV Model)

нет в наличии, поставок нет
2 0446356

*Крючок в сборе., Front (HOOK ASSY., Front)

нет в наличии, поставок нет
3 0330838

*Винт, Baffle (SCREW, Baffle)

нет в наличии, поставок нет
3 0329268

   (последний код) SCREW

нет в наличии, поставок нет
4 0446174

*BAFFLE (BAFFLE)

нет в наличии, поставок нет
5 0213570

*LENS, Four-Stroke - Z. 8R Model (LENS, Four-Stroke - Z. 8R Model)

нет в наличии, поставок нет
5 0214765

*LENS, Four-Stroke - Y. 8RV Model (LENS, Four-Stroke - Y. 8RV Model)

нет в наличии, поставок нет
6 0446339

*Заклёпка, Rear (RIVET, Rear)

нет в наличии, поставок нет
7 0437119

*Крючок, Rear (HOOK, Rear)

нет в наличии, поставок нет
8 0341237

*Гайка, Крючок to Кронштейн (NUT, Hook to bracket)

нет в наличии, поставок нет
9 0

*Сальник, Baffle. сокращёная длина from P / N 309044 (SEAL, Baffle. Cut to length from P/N 309044)

нет в наличии, поставок нет
10 0437120

*Кронштейн в сборе. (BRACKET ASSY.)

нет в наличии, поставок нет
11 0339068

*Заклёпка, Front (RIVET, Front)

нет в наличии, поставок нет
12 0446256

*Сальник, Корпус to Крышка (SEAL, Housing to cover)

нет в наличии, поставок нет
13 0446355

*Сальник, верхний to Нижняя часть корпусаs (SEAL, Upper to lower covers)

нет в наличии, поставок нет
14 0446503

*Наклейка, Wrap - Y. 8RV Model (DECAL, Wrap - Y. 8RV Model)

нет в наличии, поставок нет
15 0446504

*Наклейка, Front - Y. 8RV Model (DECAL, Front - Y. 8RV Model)

нет в наличии, поставок нет
16 0446511

*Стопор (STOPPER)

нет в наличии, поставок нет
17 0449526

Комплект наклеек - Z. 8R Model (DECAL SET - Z. 8R Model)

нет в наличии, поставок нет
17 0449512

   (последний код) DECAL AY

нет в наличии, поставок нет
evinrude

Время выполнения запроса 0.39100313186646 сек.


 
 

данный сайт носит информационный характер и не является публичной офертой

склад запчастей для водомоторной техники