| |
Все разделы каталога запчастей на этот двигатель
вернуться к списку узлов и деталей ДЕТАЛИРОВКА ДЛЯ МОДЕЛИ: EVINRUDE E225FPZEES 1999
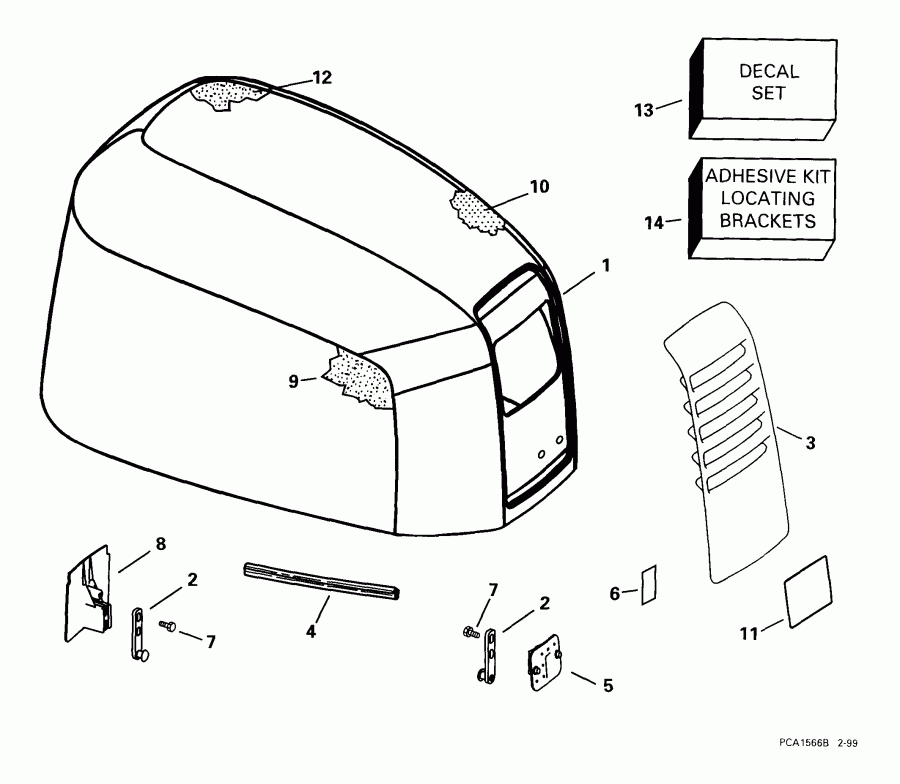
КРЫШКА ДВИГАТЕЛЯ (КАПОТ) | ENGINE COVER;
Номер на рисунке | Артикул | Наименование | Кол-во на складе | Цена |
| 1 | 0285256 | Крышка двигателя (капот) в сборе.. 200FPL; 225FPL (голубой) (ENGINE COVER ASSY.. 200FPL; 225FPL (Blue) .) | нет в наличии, поставок нет |
| 1 | 0285258 | Крышка двигателя (капот) в сборе.. 200FSL, FPX, FCX; 225FPX, FCX, FPZ, FCZ (белый) (ENGINE COVER ASSY.. 200FSL, FPX, FCX; 225FPX, FCX, FPZ, FCZ (White) .) | нет в наличии, поставок нет |
| 2 | 0435716 | Крючок (HOOK) | нет в наличии, поставок нет |
| 3 | 0344811 | Крышка, Air Система впуска (COVER, Air intake) | нет в наличии, поставок нет |
| 4 | 0344813 | Резинка капота двигателя (SEAL, Engine cover) | нет в наличии, поставок нет |
| 5 | 0344261 | Кронштейн, Front (BRACKET, Front) | нет в наличии, поставок нет |
| 6 | 0344937 | DOUBLE-SIDED TAPE (DOUBLE-SIDED TAPE) | нет в наличии, поставок нет |
| 7 | 0328744 | Винт, Крючок (SCREW, Hook) | нет в наличии, поставок нет |
| 7 | 0308741 | (последний код) SCREW | нет в наличии, поставок нет |
| 8 | 0437393 | Кронштейн, Rear (BRACKET, Rear) | нет в наличии, поставок нет |
| 8 | 0337529 | (последний код) BRACKET,LATC | нет в наличии, поставок нет |
| 9 | 0345785 | SOUND BLANKET, Sides (SOUND BLANKET, Sides) | нет в наличии, поставок нет |
| 10 | 0345784 | SOUND BLANKET, Baffle (SOUND BLANKET, Baffle) | нет в наличии, поставок нет |
| 11 | 0213577 | Пластина. 200FPL; 225FPL (голубой) (PLATE. 200FPL; 225FPL (Blue) .) | нет в наличии, поставок нет |
| 11 | 0214753 | (последний код) DECAL | нет в наличии, поставок нет |
| 11 | 0213597 | Пластина. 200FSL, FPX, FCX; 225FPX, FCX, FPZ, FCZ (белый) (PLATE. 200FSL, FPX, FCX; 225FPX, FCX, FPZ, FCZ (White) .) | нет в наличии, поставок нет |
| 11 | 0214758 | (последний код) PLATE, EVINRUDE | нет в наличии, поставок нет |
| 12 | 0345786 | SOUND BLANKET, Top (SOUND BLANKET, Top) | нет в наличии, поставок нет |
| 13 | 0285269 | Комплект наклеек, 200FPL, FSL (DECAL SET, 200FPL,FSL) | нет в наличии, поставок нет |
| 13 | 0285271 | Комплект наклеек, 200FPX, FCX (DECAL SET, 200FPX,FCX) | нет в наличии, поставок нет |
| 13 | 0285270 | Комплект наклеек, 225FPL (DECAL SET, 225FPL) | нет в наличии, поставок нет |
| 13 | 0285272 | Комплект наклеек, 225FPX, FPZ, FCX, FCZ (DECAL SET, 225FPX,FPZ,FCX,FCZ) | нет в наличии, поставок нет |
| 14 | 0431929 | ADHESIVE KIT, Locating Кронштейнs (ADHESIVE KIT, Locating brackets) | нет в наличии, поставок нет |

Время выполнения запроса 0.91805195808411 сек.
|
|