вконтакте

Контактный телефон: +7 (981) 121-46-93, +7 (800) 200-90-76 , Email: parts-katalog@yandex.ru, где купить

 
 

  Логин:

Пароль:

Регистрация

www.partskatalog.ru Все каталоги Запчасти Mercury Запчасти Suzuki Запчасти Tohatsu Запчасти Honda Контакты



УВАЖАЕМЫЕ КЛИЕНТЫ!
C 19 ДЕКАБРЯ 2025 ПО 02 МАРТА 2026 ГОДА ОТДЕЛ ЗАПЧАСТЕЙ И СЕРВИС РАБОТАТЬ НЕ БУДУТ
ПРОДАЖА ЛОДОЧНЫХ МОТОРОВ В ШТАТНОМ РЕЖИМЕ
ОБ ИЗМЕНЕНИЯХ В ГРАФИКЕ РАБОТЫ ЧИТАЙТЕ НА САЙТА




Все разделы каталога запчастей на этот двигатель

назад Раздел:   вперёд

вернуться к списку узлов и деталей

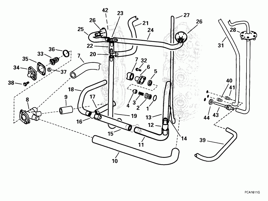
ДЕТАЛИРОВКА ДЛЯ МОДЕЛИ: EVINRUDE E175FCXEEO 1999

ШЛАНГ ROUTING -- "O" SUFFIX MODELS | HOSE ROUTING -- "O" SUFFIX MODELS;


Двигатель Эвинруд E175FCXEEO 1999  -

Номер на
рисунке
АртикулНаименованиеКол-во
на складе
Цена
1 0321921

Уплотнительное кольцо (O-RING)

нет в наличии, поставок нет
2 0346329

Гильза, Pressure relief (SLEEVE, Pressure relief)

нет в наличии, поставок нет
3 0346377

Пружина давления relief (SPRING, Pressure relief)

нет в наличии, поставок нет
4 0346336

Клапан давления relief (VALVE, Pressure relief)

нет в наличии, поставок нет
4 0344970

   (последний код) VALVE,BLOW OFF

нет в наличии, поставок нет
5 0335981

Сальник, Pressure relief Клапан (SEAL, Pressure relief valve)

нет в наличии, поставок нет
6 5000833

Колпачок, Pressure relief Клапан (CAP, Pressure relief valve)

нет в наличии, поставок нет
7 0346109

Шланг, Tee to pressure relief. Use 2 -- P / N 979803 to Retain (HOSE, Tee to pressure relief. Use 2 -- P/N 979803 to Retain .)

нет в наличии, поставок нет
7 0348117

   (последний код) HOSE

нет в наличии, поставок нет
8 0346110

Корпус, Термостат (HOUSING, Thermostat)

нет в наличии, поставок нет
9 0346107

Шланг, Head to tee, port. Use 2 -- P / N 984302 to Retain (HOSE, Head to tee, port. Use 2 -- P/N 984302 to Retain .)

нет в наличии, поставок нет
10 0346108

Шланг, Head to tee, stbd.. Use 2 -- P / N 984302 to Retain (HOSE, Head to tee, stbd.. Use 2 -- P/N 984302 to Retain .)

нет в наличии, поставок нет
11 0346113

Водяной шланг sвышеply, stbd.. Use 2 -- P / N 980863 to Retain (HOSE, Water supply, stbd.. Use 2 -- P/N 980863 to Retain .)

нет в наличии, поставок нет
12 0346119

TEE, Water sвышеply, stbd. (TEE, Water supply, stbd.)

нет в наличии, поставок нет
13 0346116

Шланг, Tee to head, верхний , stbd.. Use 2 -- P / N 980863 to Retain (HOSE, Tee to head, upper, stbd.. Use 2 -- P/N 980863 to Retain .)

нет в наличии, поставок нет
14 0346115

Шланг, Tee to head, нижний , stbd.. Use 2 -- P / N 980863 to Retain (HOSE, Tee to head, lower, stbd.. Use 2 -- P/N 980863 to Retain .)

нет в наличии, поставок нет
15 0346535

Водяной шланг sвышеply, port. Use 2 -- P / N 980863 to Retain (HOSE, Water supply, port. Use 2 -- P/N 980863 to Retain .)

нет в наличии, поставок нет
16 0346119

TEE, Water sвышеply, port (TEE, Water supply, port)

нет в наличии, поставок нет
17 0346115

Шланг, Fitting to head, нижний , port. Use 2 -- P / N 980863 to Retain (HOSE, Fitting to head, lower, port. Use 2 -- P/N 980863 to Retain .)

нет в наличии, поставок нет
18 0346837

Шланг, Fitting to head, верхний , port. Use 2 -- P / N 980863 to Retain (HOSE, Fitting to head, upper, port. Use 2 -- P/N 980863 to Retain .)

нет в наличии, поставок нет
19 0346533

Шланг, Tee to Блок цилиндра, drain. Use 2 -- P / N 320107 to Retain (HOSE, Tee to cylinder block, drain. Use 2 -- P/N 320107 to Retain .)

нет в наличии, поставок нет
20 0346539

TEE, Термостат & ECU drain (TEE, Thermostat & ECU drain)

нет в наличии, поставок нет
21 0346531

Шланг, ECU drain. Use 2 -- P / N 320107 to Retain (HOSE, ECU drain. Use 2 -- P/N 320107 to Retain .)

нет в наличии, поставок нет
22 0346532

Шланг, Tee to tee. Use 2 -- P / N 980863 to Retain (HOSE, Tee to tee. Use 2 -- P/N 980863 to Retain .)

нет в наличии, поставок нет
23 0346140

TEE, Термостат drain (TEE, Thermostat drain)

нет в наличии, поставок нет
24 0346536

Шланг, Термостат drain, stbd.. Use 2 -- P / N 320107 to Retain (HOSE, Thermostat drain, stbd.. Use 2 -- P/N 320107 to Retain .)

нет в наличии, поставок нет
25 0334132

Шланг, Термостат drain, port. Use 2 -- P / N 320107 to Retain (HOSE, Thermostat drain, port. Use 2 -- P/N 320107 to Retain .)

нет в наличии, поставок нет
26 5000832

Крышка термостата (COVER, Thermostat)

нет в наличии, поставок нет
27 0346534

Шланг, Блок цилиндра vent. Use 2 -- P / N 320107 to Retain (HOSE, Cylinder block vent. Use 2 -- P/N 320107 to Retain .)

нет в наличии, поставок нет
28 5000949

Диафрагма & Шланг в сборе., Выхлоп pressure isola tion (DIAPHRAGM & HOSE ASSY., Exhaust pressure isola tion)

нет в наличии, поставок нет
28 5005042

   (последний код) DIAPHRAGM/HOSE AY

нет в наличии, поставок нет
31 0346540

Водяной шланг sвышеply to Пароотделитель. Use 2 -- P / N 320107 to Retain (HOSE, Water supply to vapor separator. Use 2 -- P/N 320107 to Retain .)

нет в наличии, поставок нет
32 0308743

Винт, pressure relief Колпачок (SCREW, pressure relief cap)

нет в наличии, поставок нет
32 0342422

   (последний код) SCREW

нет в наличии, поставок нет
33 0437090

Термостат в сборе. (THERMOSTAT ASSY.)

нет в наличии, поставок нет
33 0436174

   (последний код) THERMOSTAT-A

нет в наличии, поставок нет
34 0337207

Крышка термостата (COVER, Thermostat)

нет в наличии, поставок нет
35 0337194

Прокладка крышки термостата (GASKET, Thermostat cover)

нет в наличии, поставок нет
36 0310058

Сальник термостата (SEAL, Thermostat)

нет в наличии, поставок нет
37 0335778

Гайка, Крышка to Корпус (NUT, Cover to housing)

нет в наличии, поставок нет
38 0909533

Винт (SCREW)

нет в наличии, поставок нет
38 0324429

   (последний код) SCREW,IMP HSG

нет в наличии, поставок нет
39 0345229

Шланг, Термостат drain. Use 2 -- P / N 320107 to Retain (HOSE, Thermostat drain. Use 2 -- P/N 320107 to Retain .)

нет в наличии, поставок нет
40 0123200

Ниппель, Water to Пароотделитель (NIPPLE, Water to vapor separator)

нет в наличии, поставок нет
41 0123200

Ниппель, нижний Термостат drain (NIPPLE, Lower thermostat drain)

нет в наличии, поставок нет
42 0

1 (1)

нет в наличии, поставок нет
43 5001297

FITTING, Выхлоп pressure (FITTING, Exhaust pressure)

нет в наличии, поставок нет
43 5001551

   (последний код) NIPPLE AY,EXHAUST

нет в наличии, поставок нет
44 0346527

Прокладка выпускной системы fitting (GASKET, Exhaust fitting)

нет в наличии, поставок нет
evinrude

Время выполнения запроса 7.6953728199005 сек.


 
 

данный сайт носит информационный характер и не является публичной офертой

склад запчастей для водомоторной техники