вконтакте

Контактный телефон: +7 (981) 121-46-93, +7 (800) 200-90-76 , Email: parts-katalog@yandex.ru, где купить

 
 

  Логин:

Пароль:

Регистрация

www.partskatalog.ru Все каталоги Запчасти Mercury Запчасти Suzuki Запчасти Tohatsu Запчасти Honda Контакты



УВАЖАЕМЫЕ КЛИЕНТЫ!
C 19 ДЕКАБРЯ 2025 ПО 02 МАРТА 2026 ГОДА ОТДЕЛ ЗАПЧАСТЕЙ И СЕРВИС РАБОТАТЬ НЕ БУДУТ
ПРОДАЖА ЛОДОЧНЫХ МОТОРОВ В ШТАТНОМ РЕЖИМЕ
ОБ ИЗМЕНЕНИЯХ В ГРАФИКЕ РАБОТЫ ЧИТАЙТЕ НА САЙТА




Все разделы каталога запчастей на этот двигатель

назад Раздел:   вперёд

вернуться к списку узлов и деталей

ДЕТАЛИРОВКА ДЛЯ МОДЕЛИ: EVINRUDE E15WREES 1999

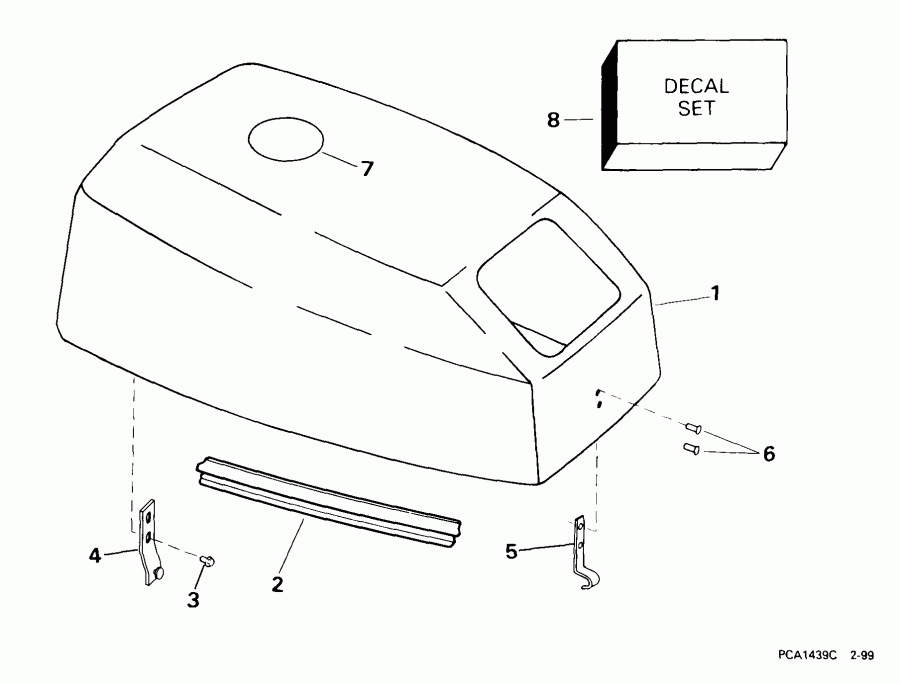
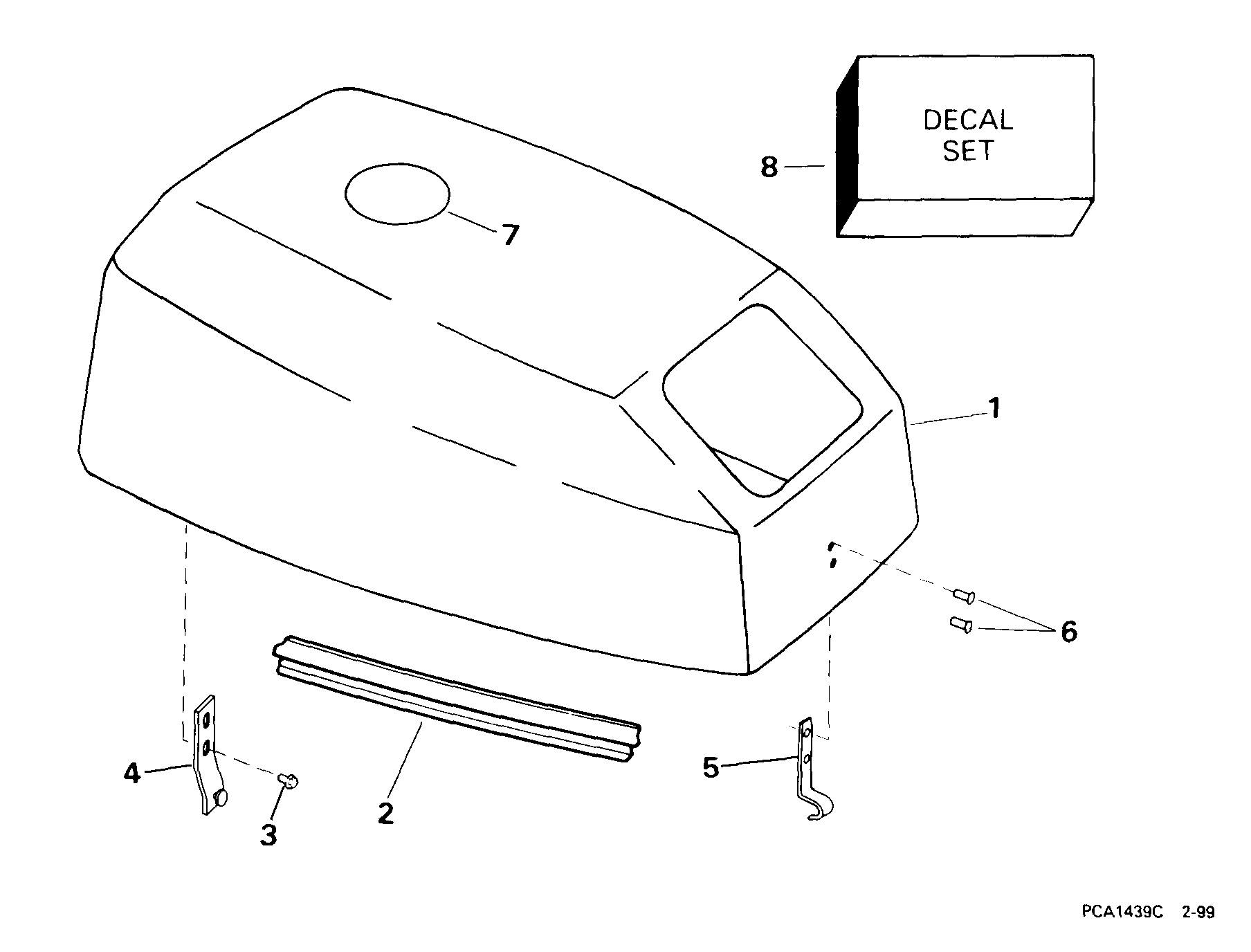
КРЫШКА ДВИГАТЕЛЯ (КАПОТ) -- JOHNSON | ENGINE COVER -- JOHNSON;


Подвесной мотор EVINRUDE E15WREES 1999  - Johnson /  Johnson

Номер на
рисунке
АртикулНаименованиеКол-во
на складе
Цена
1 5000561

Крышка двигателя (капот) в сборе. (ENGINE COVER ASSY.)

нет в наличии, поставок нет
1 5000243

   (последний код) COVER AY,MOTOR-UPR

нет в наличии, поставок нет
2 0339204

Сальник (SEAL)

нет в наличии, поставок нет
3 0329217

Винт, Rear Крючок (SCREW, Rear hook)

нет в наличии, поставок нет
3 0333707

   (последний код) SCREW

нет в наличии, поставок нет
4 0438947

Крючок, Rear (HOOK, Rear)

нет в наличии, поставок нет
5 0436301

Крючок спереди (HOOK, Front)

нет в наличии, поставок нет
6 0339068

Заклёпка, Front Крючок (RIVET, Front hook)

нет в наличии, поставок нет
7 0341988

LENS (LENS)

нет в наличии, поставок нет
8 0438436

Комплект наклеек (DECAL SET)

нет в наличии, поставок нет
8 5000311

   (последний код) DECAL SET 15HP JO

нет в наличии, поставок нет
evinrude

Время выполнения запроса 0.68630194664001 сек.


 
 

данный сайт носит информационный характер и не является публичной офертой

склад запчастей для водомоторной техники