вконтакте

Контактный телефон: +7 (981) 121-46-93, +7 (800) 200-90-76 , Email: parts-katalog@yandex.ru, где купить

 
 

  Логин:

Пароль:

Регистрация

www.partskatalog.ru Все каталоги Запчасти Mercury Запчасти Suzuki Запчасти Tohatsu Запчасти Honda Контакты



УВАЖАЕМЫЕ КЛИЕНТЫ!
C 19 ДЕКАБРЯ 2025 ПО 02 МАРТА 2026 ГОДА ОТДЕЛ ЗАПЧАСТЕЙ И СЕРВИС РАБОТАТЬ НЕ БУДУТ
ПРОДАЖА ЛОДОЧНЫХ МОТОРОВ В ШТАТНОМ РЕЖИМЕ
ОБ ИЗМЕНЕНИЯХ В ГРАФИКЕ РАБОТЫ ЧИТАЙТЕ НА САЙТА




Все разделы каталога запчастей на этот двигатель

назад Раздел:   вперёд

вернуться к списку узлов и деталей

ДЕТАЛИРОВКА ДЛЯ МОДЕЛИ: EVINRUDE E5R4EEM 1999

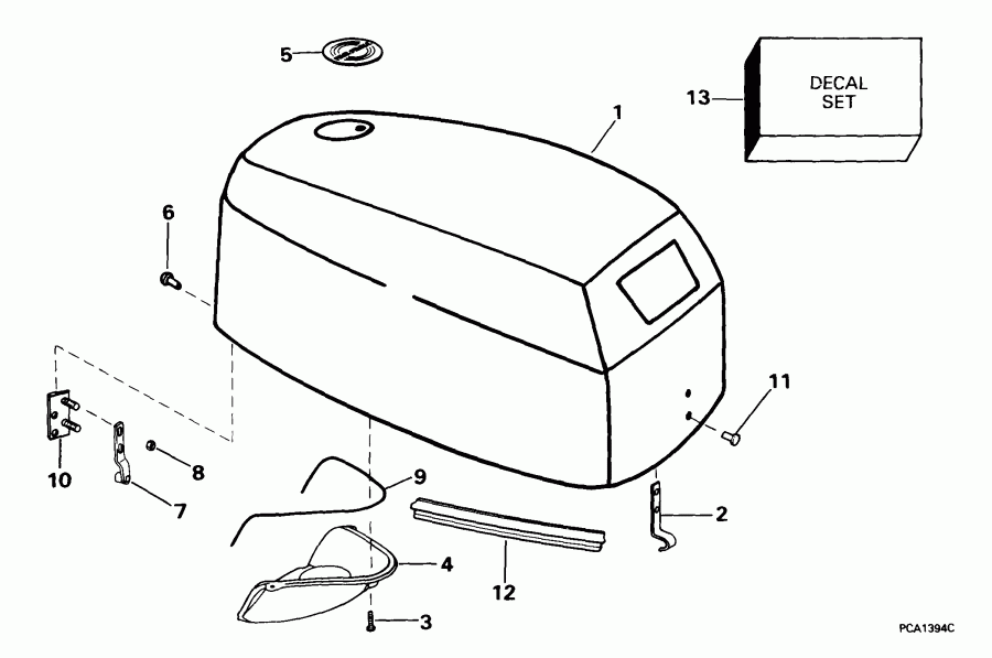
КРЫШКА ДВИГАТЕЛЯ (КАПОТ) | ENGINE COVER;


Мотор EVINRUDE E5R4EEM 1999  - gine Cover

Номер на
рисунке
АртикулНаименованиеКол-во
на складе
Цена
1 0440202

Крышка двигателя (капот) в сборе.. 5 Models Only (ENGINE COVER ASSY.. 5 Models Only .)

нет в наличии, поставок нет
1 0440203

Крышка двигателя (капот) в сборе.. 6 Models Only (ENGINE COVER ASSY.. 6 Models Only .)

нет в наличии, поставок нет
2 0446356

Крючок спереди (HOOK, Front)

нет в наличии, поставок нет
3 0330838

Винт, Baffle (SCREW, Baffle)

нет в наличии, поставок нет
3 0329268

   (последний код) SCREW

нет в наличии, поставок нет
4 0441137

BAFFLE (BAFFLE)

нет в наличии, поставок нет
5 0213570

LENS, Four-Stroke (LENS, Four-Stroke)

нет в наличии, поставок нет
6 0446339

Заклёпка, Rear (RIVET, Rear)

нет в наличии, поставок нет
7 0437119

Крючок, Rear (HOOK, Rear)

нет в наличии, поставок нет
8 0341237

Гайка, Крючок to Кронштейн (NUT, Hook to bracket)

нет в наличии, поставок нет
9 0

Сальник, Baffle. сокращёная длина from P / N 309044 (SEAL, Baffle. Cut to Length from P/N 309044 .)

нет в наличии, поставок нет
10 0437120

Кронштейн в сборе. (BRACKET ASSY.)

нет в наличии, поставок нет
11 0446338

Заклёпка, Front (RIVET, Front)

нет в наличии, поставок нет
12 0441150

Сальник, верхний to Нижняя часть корпусаs (SEAL, Upper to lower covers)

нет в наличии, поставок нет
13 0444514

Комплект наклеек. 5 Models Only (DECAL SET. 5 Models Only .)

нет в наличии, поставок нет
13 0444516

Комплект наклеек. 6 Models Only (DECAL SET. 6 Models Only .)

нет в наличии, поставок нет
evinrude

Время выполнения запроса 0.332270860672 сек.


 
 

данный сайт носит информационный характер и не является публичной офертой

склад запчастей для водомоторной техники