вконтакте

Контактный телефон: +7 (981) 121-46-93, +7 (800) 200-90-76 , Email: parts-katalog@yandex.ru, где купить

 
 

  Логин:

Пароль:

Регистрация

www.partskatalog.ru Все каталоги Запчасти Mercury Запчасти Suzuki Запчасти Tohatsu Запчасти Honda Контакты


Все разделы каталога запчастей на этот двигатель

назад Раздел:   вперёд

вернуться к списку узлов и деталей

ДЕТАЛИРОВКА ДЛЯ МОДЕЛИ: EVINRUDE E175FTLECS 1998

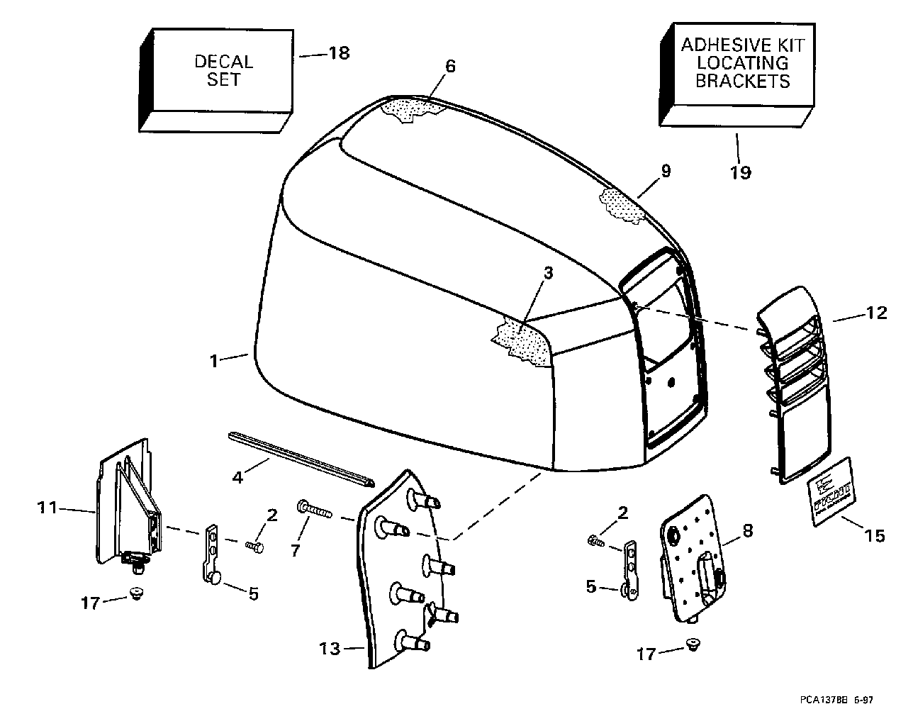
КРЫШКА ДВИГАТЕЛЯ (КАПОТ) -- JOHNSON | ENGINE COVER -- JOHNSON;


Мотор EVINRUDE E175FTLECS 1998  -  Johnson - Johnson

Номер на
рисунке
АртикулНаименованиеКол-во
на складе
Цена
1 0439566

Крышка двигателя (капот) в сборе.. 150IL (ENGINE COVER ASSY.. 150IL)

нет в наличии, поставок нет
1 0438939

Крышка двигателя (капот) в сборе.. 150FSL, FSX (ENGINE COVER ASSY.. 150FSL, FSX)

нет в наличии, поставок нет
1 0438976

Крышка двигателя (капот) в сборе.. 150FCX (ENGINE COVER ASSY.. 150FCX)

нет в наличии, поставок нет
1 0439529

Крышка двигателя (капот) в сборе.. 175FTL (ENGINE COVER ASSY.. 175FTL)

нет в наличии, поставок нет
1 0439530

Крышка двигателя (капот) в сборе.. 175FSL, FSX (ENGINE COVER ASSY.. 175FSL, FSX)

нет в наличии, поставок нет
1 0439531

Крышка двигателя (капот) в сборе.. 175FCX (ENGINE COVER ASSY.. 175FCX)

нет в наличии, поставок нет
2 0342191

Винт, Крючок (SCREW, Hook)

нет в наличии, поставок нет
2 0336753

   (последний код) SCREW

нет в наличии, поставок нет
3 0343080

SOUND BLANKET, Starboard (SOUND BLANKET, Starboard)

нет в наличии, поставок нет
4 0342420

Сальник (SEAL)

нет в наличии, поставок нет
5 0435716

Крючок в сборе. (HOOK ASSY.)

нет в наличии, поставок нет
6 0343081

SOUND BLANKET, Top & rear (SOUND BLANKET, Top & rear)

нет в наличии, поставок нет
7 0330823

Винт, Duct to Крышка (SCREW, Duct to cover)

нет в наличии, поставок нет
7 0325838

   (последний код) SCREW

нет в наличии, поставок нет
8 0342415

LOCATING Кронштейн (LOCATING BRACKET)

нет в наличии, поставок нет
9 0343079

SOUND BLANKET, Port (SOUND BLANKET, Port)

нет в наличии, поставок нет
11 0343073

LOCATING Кронштейн, Rear (LOCATING BRACKET, Rear)

нет в наличии, поставок нет
12 0342416

Крышка, Air Система впуска (COVER, Air intake)

нет в наличии, поставок нет
13 0342418

Канал воздуховода (DUCT, Air intake)

нет в наличии, поставок нет
15 0343378

Пластина, Front. 150IL 175FTL (PLATE, Front. 150IL 175FTL)

нет в наличии, поставок нет
15 0344022

Пластина, Front. 150FSL, FSX 150FCX 175FSL, FSX 175FCX (PLATE, Front. 150FSL, FSX 150FCX 175FSL, FSX 175FCX)

нет в наличии, поставок нет
17 0324898

Бампер (BUMPER)

нет в наличии, поставок нет
18 0439567

Комплект наклеек. 150IL (DECAL SET. 150IL)

нет в наличии, поставок нет
18 0438960

Комплект наклеек. 150FSL, FSX 150FCX (DECAL SET. 150FSL, FSX 150FCX)

нет в наличии, поставок нет
18 0439532

Комплект наклеек. 175FTL (DECAL SET. 175FTL)

нет в наличии, поставок нет
18 0439533

Комплект наклеек. 175FSL, FSX 175FCX (DECAL SET. 175FSL, FSX 175FCX)

нет в наличии, поставок нет
19 0431929

ADHESIVE KIT, Locating Кронштейнs (ADHESIVE KIT, Locating brackets)

нет в наличии, поставок нет
evinrude

Время выполнения запроса 1.8564620018005 сек.


 
 

данный сайт носит информационный характер и не является публичной офертой

склад запчастей для водомоторной техники