вконтакте

Контактный телефон: +7 (981) 121-46-93, +7 (800) 200-90-76 , Email: parts-katalog@yandex.ru, где купить

 
 

  Логин:

Пароль:

Регистрация

www.partskatalog.ru Все каталоги Запчасти Mercury Запчасти Suzuki Запчасти Tohatsu Запчасти Honda Контакты


Все разделы каталога запчастей на этот двигатель

назад Раздел:   вперёд

вернуться к списку узлов и деталей

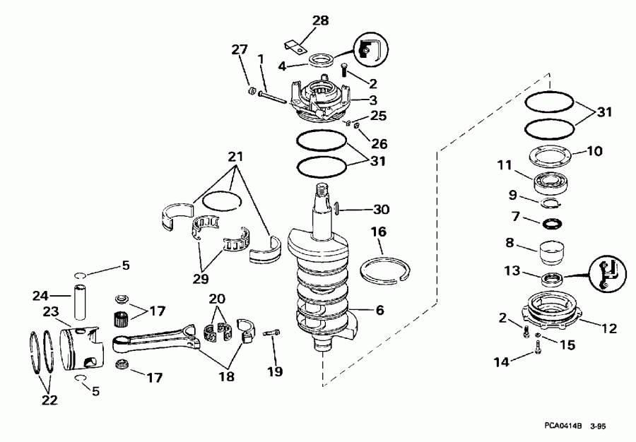
ДЕТАЛИРОВКА ДЛЯ МОДЕЛИ: EVINRUDE SE125WTPXN 1998

КОЛЕНВАЛ & ПОРШЕНЬ | CRANKSHAFT & PISTON;


Двигатель Эвинруд SE125WTPXN 1998  - ankВал & Поршень - ankshaft & Piston

Номер на
рисунке
АртикулНаименованиеКол-во
на складе
Цена
1 0334218

Винт, Spark adjustment (SCREW, Spark adjustment)

нет в наличии, поставок нет
1 0316286

   (последний код) SCREW

нет в наличии, поставок нет
2 0344020

Винт, Головка картера двигателя (SCREW, Crankcase head)

нет в наличии, поставок нет
3 0393620

Головка картера двигателя и BRG. в сборе. (CRANKCASE HEAD AND BRG. ASSY.)

нет в наличии, поставок нет
4 0339620

Сальник, верхний (SEAL, Upper)

нет в наличии, поставок нет
4 0322575

   (последний код) SEAL-CCASE-H

нет в наличии, поставок нет
5 0326765

Стопорное кольцо (RETAINING RING)

нет в наличии, поставок нет
6 0434772

Коленвал в сборе. (CRANKSHAFT ASSY.)

нет в наличии, поставок нет
7 0337087

Уплотнительное кольцо, Гильза (O-RING, Sleeve)

нет в наличии, поставок нет
8 0336988

Гильза (SLEEVE)

нет в наличии, поставок нет
9 0326047

Удерживающие кольцо подшипника (RING, Retaining, bearing)

нет в наличии, поставок нет
10 0326748

Пластина, нижний Подшипник (PLATE, Lower bearing)

нет в наличии, поставок нет
11 0390641

Шариковый подшипник (BEARING, Ball)

нет в наличии, поставок нет
12 0434792

Головка картера двигателя в сборе. (CRANKCASE HEAD ASSY.)

нет в наличии, поставок нет
13 0332942

Сальник (SEAL)

нет в наличии, поставок нет
14 0332590

Винт, нижний Подшипник Фиксатор (SCREW, Lower bearing retainer)

нет в наличии, поставок нет
14 0326763

   (последний код) SCREW

нет в наличии, поставок нет
15 0332585

RUBBER Шайба (RUBBER WASHER)

нет в наличии, поставок нет
16 0326749

Кольцевой сальник (SEAL RING)

нет в наличии, поставок нет
16 0343471

   (последний код) RING,SEAL

нет в наличии, поставок нет
17 0434844

Подшипник, Wrist Штифт (BEARING, Wrist pin)

нет в наличии, поставок нет
17 0391480

   (последний код) NEEDLE BEARING

нет в наличии, поставок нет
18 0435355

Шатун в сборе. (CONNECTING ROD ASSY.)

нет в наличии, поставок нет
18 5005208

   (последний код) ROD & INSTR SHEET AY

нет в наличии, поставок нет
19 0330081

Винт, Тяга Колпачок (SCREW, Rod cap)

нет в наличии, поставок нет
20 0396041

Фиксатор SET (RETAINER SET)

нет в наличии, поставок нет
21 0320499

SPLIT Гильза, Center Подшипник (SPLIT SLEEVE, Center bearing)

нет в наличии, поставок нет
21 0352960

   (последний код) LINER,SPLIT-BRG

нет в наличии, поставок нет
22 0437134

Кольцо SET, стандарт (RING SET, Standard)

нет в наличии, поставок нет
22 0437135

Кольцо SET, 0.030 дюйм O.S. (RING SET, 0.030 in. O.S.)

нет в наличии, поставок нет
23 0435576

Поршень, Stbd., стандарт (PISTON, Stbd., Standard)

нет в наличии, поставок нет
23 5006685

   (последний код) PISTON & RING KIT

нет в наличии, поставок нет
23 0437112

Поршень, Stbd., 0.030 дюйм O.S. (PISTON, Stbd., 0.030 in. O.S.)

нет в наличии, поставок нет
23 0435575

Поршень, Port, стандарт (PISTON, Port, Standard)

нет в наличии, поставок нет
23 0437111

Поршень, Port, 0.030 дюйм O.S. (PISTON, Port, 0.030 in. O.S.)

нет в наличии, поставок нет
24 0326764

WRIST Штифт (WRIST PIN)

нет в наличии, поставок нет
25 0302290

Шайба с блокировкой, Spark adjustment (LOCK WASHER, Spark adjustment)

нет в наличии, поставок нет
25 0338307

   (последний код) WASHER,LOCK

нет в наличии, поставок нет
26 0328740

Гайка, Spark adjustment (NUT, Spark adjustment)

нет в наличии, поставок нет
26 0306375

   (последний код) NUT

нет в наличии, поставок нет
27 0314416

Бампер, Spark adjustment (BUMPER, Spark adjustment)

нет в наличии, поставок нет
28 0316487

Фиксатор, Подшипник head (RETAINER, Bearing head)

нет в наличии, поставок нет
29 0387041

Фиксатор & иголка SET (RETAINER & NEEDLE SET)

нет в наличии, поставок нет
29 5007190

   (последний код) NEEDLE&RETAINER AY

2 шт1710 руб.
30 0307480

Ключ маховика (KEY, Flywheel)

нет в наличии, поставок нет
31 0326741

Уплотнительное кольцо (O-RING)

нет в наличии, поставок нет
evinrude

Время выполнения запроса 7.4749069213867 сек.


 
 

данный сайт носит информационный характер и не является публичной офертой

склад запчастей для водомоторной техники