вконтакте

Контактный телефон: +7 (981) 121-46-93, +7 (800) 200-90-76 , Email: parts-katalog@yandex.ru, где купить

 
 

  Логин:

Пароль:

Регистрация

www.partskatalog.ru Все каталоги Запчасти Mercury Запчасти Suzuki Запчасти Tohatsu Запчасти Honda Контакты



УВАЖАЕМЫЕ КЛИЕНТЫ!
C 19 ДЕКАБРЯ 2025 ПО 02 МАРТА 2026 ГОДА ОТДЕЛ ЗАПЧАСТЕЙ И СЕРВИС РАБОТАТЬ НЕ БУДУТ
ПРОДАЖА ЛОДОЧНЫХ МОТОРОВ В ШТАТНОМ РЕЖИМЕ
ОБ ИЗМЕНЕНИЯХ В ГРАФИКЕ РАБОТЫ ЧИТАЙТЕ НА САЙТА




Все разделы каталога запчастей на этот двигатель

назад Раздел:   вперёд

вернуться к списку узлов и деталей

ДЕТАЛИРОВКА ДЛЯ МОДЕЛИ: EVINRUDE SE65RSYD 1998

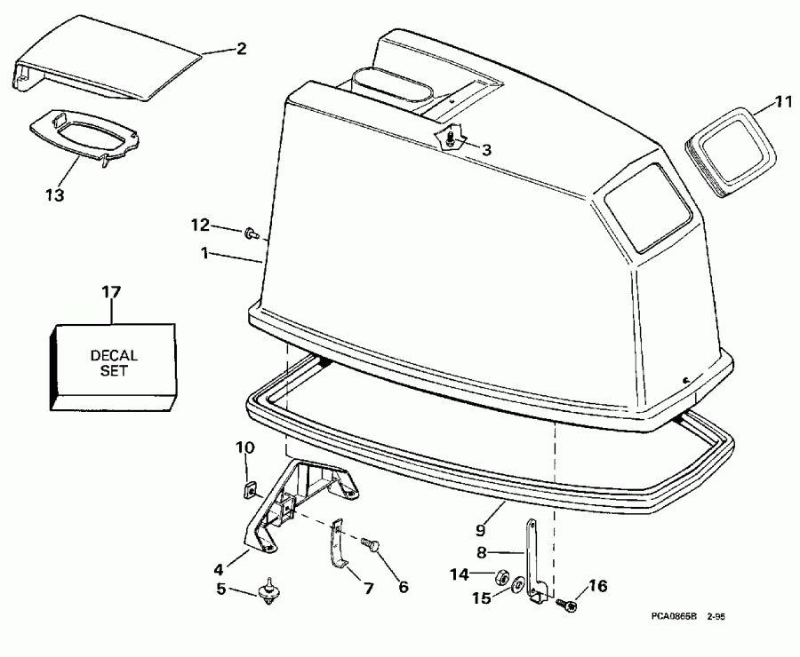
КРЫШКА ДВИГАТЕЛЯ (КАПОТ) | ENGINE COVER;


Лодочный подвесной мотор Эвинруд SE65RSYD 1998  - gine Cover

Номер на
рисунке
АртикулНаименованиеКол-во
на складе
Цена
1 0438323

Крышка двигателя (капот) в сборе., Johnson (ENGINE COVER ASSY., Johnson)

нет в наличии, поставок нет
1 0436569

   (последний код) COVER AY,MOTOR-UPR

нет в наличии, поставок нет
1 0285003

Крышка двигателя (капот) в сборе., Evinrude (ENGINE COVER ASSY., Evinrude)

нет в наличии, поставок нет
2 0333090

Рукоятка наклона (TILT HANDLE)

нет в наличии, поставок нет
3 0323228

Винт, Рукоятка наклона, rear (SCREW, Tilt handle, rear)

нет в наличии, поставок нет
3 0323229

Винт, Рукоятка наклона, front (SCREW, Tilt handle, front)

нет в наличии, поставок нет
4 0210213

LOCATING Кронштейн (LOCATING BRACKET)

нет в наличии, поставок нет
4 0206128

   (последний код) BRACKET

нет в наличии, поставок нет
5 0313984

Бампер, Кронштейн (BUMPER, Bracket)

нет в наличии, поставок нет
6 0307029

Винт, Крючок Креплениеing (SCREW, Hook mounting)

нет в наличии, поставок нет
7 0340952

Крючок, Rear (HOOK, Rear)

нет в наличии, поставок нет
8 0340945

Крючок спереди (HOOK, Front)

нет в наличии, поставок нет
9 0338977

Резинка капота двигателя (SEAL, Engine cover)

нет в наличии, поставок нет
10 0203688

Гайка (NUT)

нет в наличии, поставок нет
10 0328710

   (последний код) NUT-SCREW-ID

нет в наличии, поставок нет
11 0332025

Резинка капота двигателя Кронштейн (SEAL, Engine cover bracket)

нет в наличии, поставок нет
11 0330790

   (последний код) 2277B5034

нет в наличии, поставок нет
12 0326948

Заклёпка, Кронштейн to Крышка (RIVET, Bracket to cover)

нет в наличии, поставок нет
12 0331881

   (последний код) RIVET

нет в наличии, поставок нет
13 0210296

BAFFLE, Рукоятка наклона (BAFFLE, Tilt handle)

нет в наличии, поставок нет
14 0121731

Гайка, Крючок спереди (NUT, Hook, front)

нет в наличии, поставок нет
14 3852005

   (последний код) NUT,LOCK

нет в наличии, поставок нет
15 0125545

Шайба, Крючок спереди (WASHER, Hook, front)

нет в наличии, поставок нет
15 0552783

   (последний код) WASHER

нет в наличии, поставок нет
16 0333727

Винт, Крючок спереди (SCREW, Hook, front)

нет в наличии, поставок нет
16 0333016

   (последний код) SCREW

нет в наличии, поставок нет
17 0438456

Комплект наклеек, Johnson (DECAL SET, Johnson)

нет в наличии, поставок нет
17 5000315

   (последний код) DECAL SET-65COMM

нет в наличии, поставок нет
17 0285093

Комплект наклеек, Evinrude (DECAL SET, Evinrude)

нет в наличии, поставок нет
evinrude

Время выполнения запроса 1.6111390590668 сек.


 
 

данный сайт носит информационный характер и не является публичной офертой

склад запчастей для водомоторной техники