вконтакте

Контактный телефон: +7 (981) 121-46-93, +7 (800) 200-90-76 , Email: parts-katalog@yandex.ru, где купить

 
 

  Логин:

Пароль:

Регистрация

www.partskatalog.ru Все каталоги Запчасти Mercury Запчасти Suzuki Запчасти Tohatsu Запчасти Honda Контакты



УВАЖАЕМЫЕ КЛИЕНТЫ!
C 19 ДЕКАБРЯ 2025 ПО 02 МАРТА 2026 ГОДА ОТДЕЛ ЗАПЧАСТЕЙ И СЕРВИС РАБОТАТЬ НЕ БУДУТ
ПРОДАЖА ЛОДОЧНЫХ МОТОРОВ В ШТАТНОМ РЕЖИМЕ
ОБ ИЗМЕНЕНИЯХ В ГРАФИКЕ РАБОТЫ ЧИТАЙТЕ НА САЙТА




Все разделы каталога запчастей на этот двигатель

назад Раздел:   вперёд

вернуться к списку узлов и деталей

ДЕТАЛИРОВКА ДЛЯ МОДЕЛИ: EVINRUDE BE50RLECR 1998

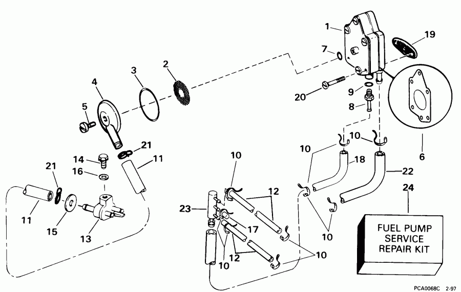
ТОПЛИВНЫЙ НАСОС & ФИЛЬТР | FUEL PUMP & FILTER;


Лодочный мотор Evinrude BE50RLECR 1998  - el Помпа & Фильтр - el Pump & Filter

Номер на
рисунке
АртикулНаименованиеКол-во
на складе
Цена
1 0438557

Топливный насос в сборе. (FUEL PUMP ASSY.)

нет в наличии, поставок нет
1 0433388

   (последний код) PUMP-AY,FUEL

нет в наличии, поставок нет
2 0312675

SCREEN, Фильтр (SCREEN, Filter)

нет в наличии, поставок нет
3 0319528

Уплотнительное кольцо, Колпачок to Помпа (O-RING, Cap to pump)

нет в наличии, поставок нет
4 0335335

Крышка фильтра (CAP, Filter)

нет в наличии, поставок нет
5 0330061

Винт, Колпачок (SCREW, Cap)

нет в наличии, поставок нет
5 0312677

   (последний код) SCREW

нет в наличии, поставок нет
6 0332678

Диафрагма (DIAPHRAGM)

нет в наличии, поставок нет
6 0328780

   (последний код) DIAPHRAGM

нет в наличии, поставок нет
7 0324660

Уплотнительное кольцо (O-RING)

нет в наличии, поставок нет
8 0343576

Ниппель (NIPPLE)

нет в наличии, поставок нет
8 0335233

   (последний код) NIPPLE

нет в наличии, поставок нет
9 0305739

Уплотнительное кольцо, Fitting (O-RING, Fitting)

нет в наличии, поставок нет
9 0900224

   (последний код) O RING

нет в наличии, поставок нет
10 0320107

Струбцина, Шланг to Карбюратор (CLAMP, Hose to carburetor)

нет в наличии, поставок нет
10 5035626

   (последний код) BAND,REM CON

нет в наличии, поставок нет
11 0

Топливный шланг Коннектор to Помпа, 14 дюйм (356 мм) сокращёная длина from P / N 333341 -- 5 / 16 дюйм I.D., 25 фут (7, 6m) Roll (HOSE, Fuel connector to pump, 14 in. (356mm). Cut to Length from P/N 333341 -- 5/16 in. I.D., 25 ft. (7,6m) Roll)

нет в наличии, поставок нет
12 0329695

Шланг, Коллектор to Карбюратор (HOSE, Manifold to carburetor)

нет в наличии, поставок нет
13 0438793

Топливный коннектор в сборе. (FUEL CONNECTOR ASSY.)

нет в наличии, поставок нет
13 5030328

   (последний код) PLUG,FUEL CONN

нет в наличии, поставок нет
14 0336165

Винт, Топливный коннектор (SCREW, Fuel connector)

нет в наличии, поставок нет
14 5030329

   (последний код) BOLT,FUEL CONN PL

нет в наличии, поставок нет
15 0343736

Сальник (SEAL)

нет в наличии, поставок нет
16 0328703

Шайба, Топливный коннектор (WASHER, Fuel connector)

нет в наличии, поставок нет
16 3852184

   (последний код) WASHER

нет в наличии, поставок нет
17 0333264

Колпачок, Fuel Коллектор (CAP, Fuel manifold)

нет в наличии, поставок нет
18 0

Шланг, Помпа to Коллектор, 14 дюйм (356 мм) сокращёная длина from P / N 333341 -- 5 / 16 дюйм I.D., 25 фут (7, 6m) Roll (HOSE, Pump to manifold, 14 in. (356mm). Cut to Length from P/N 333341 -- 5/16 in. I.D., 25 ft. (7,6m) Roll)

нет в наличии, поставок нет
19 0303615

Прокладка топливного насоса to Цилиндр (GASKET, Fuel pump to cylinder)

нет в наличии, поставок нет
20 0314417

Винт, Помпа Креплениеing (SCREW, Pump mounting)

нет в наличии, поставок нет
20 3852126

   (последний код) SCREW

нет в наличии, поставок нет
21 0339278

Струбцина топливного шланга (CLAMP, Fuel hose)

нет в наличии, поставок нет
22 0

Шланг, Pulse, 16 дюйм (406 мм) сокращёная длина from P / N 333485 -- 1 / 4 дюйм I.D., 25 фут (7, 6m) Roll (HOSE, Pulse, 16 in. (406mm). Cut to Length from P/N 333485 -- 1/4 in. I.D., 25 ft. (7,6m) Roll)

нет в наличии, поставок нет
23 0395540

FUEL Коллектор (FUEL MANIFOLD)

нет в наличии, поставок нет
24 0438616

Топливный насос Ремонтный комплект (FUEL PUMP REPAIR KIT)

2 шт2800 руб.
24 0433519

   (последний код) KIT AY,FUEL PUMP

2 шт2150 руб.
evinrude

Время выполнения запроса 1.3021569252014 сек.


 
 

данный сайт носит информационный характер и не является публичной офертой

склад запчастей для водомоторной техники