вконтакте

Контактный телефон: +7 (981) 121-46-93, +7 (800) 200-90-76 , Email: parts-katalog@yandex.ru, где купить

 
 

  Логин:

Пароль:

Регистрация

www.partskatalog.ru Все каталоги Запчасти Mercury Запчасти Suzuki Запчасти Tohatsu Запчасти Honda Контакты


Все разделы каталога запчастей на этот двигатель

назад Раздел:   вперёд

вернуться к списку узлов и деталей

ДЕТАЛИРОВКА ДЛЯ МОДЕЛИ: EVINRUDE BE50TSLECC 1998

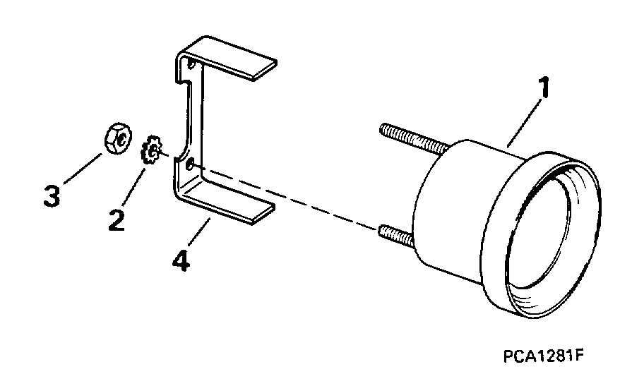
GAUGE В СБОРЕ. -- 2 INCH | GAUGE ASSY. -- 2 INCH;


Подвесной мотор EVINRUDE BE50TSLECC 1998  -  2 Inch / 2 Inch

Номер на
рисунке
АртикулНаименованиеКол-во
на складе
Цена
1 0176318

GAUGE в сборе. (GAUGE ASSY.)

нет в наличии, поставок нет
1 0177047

   (последний код) GAUGE,SYSCHK2"TECH

нет в наличии, поставок нет
2 0125411

Шайба (WASHER)

нет в наличии, поставок нет
3 0125410

Гайка (NUT)

нет в наличии, поставок нет
4 0127045

Кронштейн (BRACKET)

нет в наличии, поставок нет
evinrude

Время выполнения запроса 0.59710192680359 сек.


 
 

данный сайт носит информационный характер и не является публичной офертой

склад запчастей для водомоторной техники